GM Service Manual Online
For 1990-2009 cars only

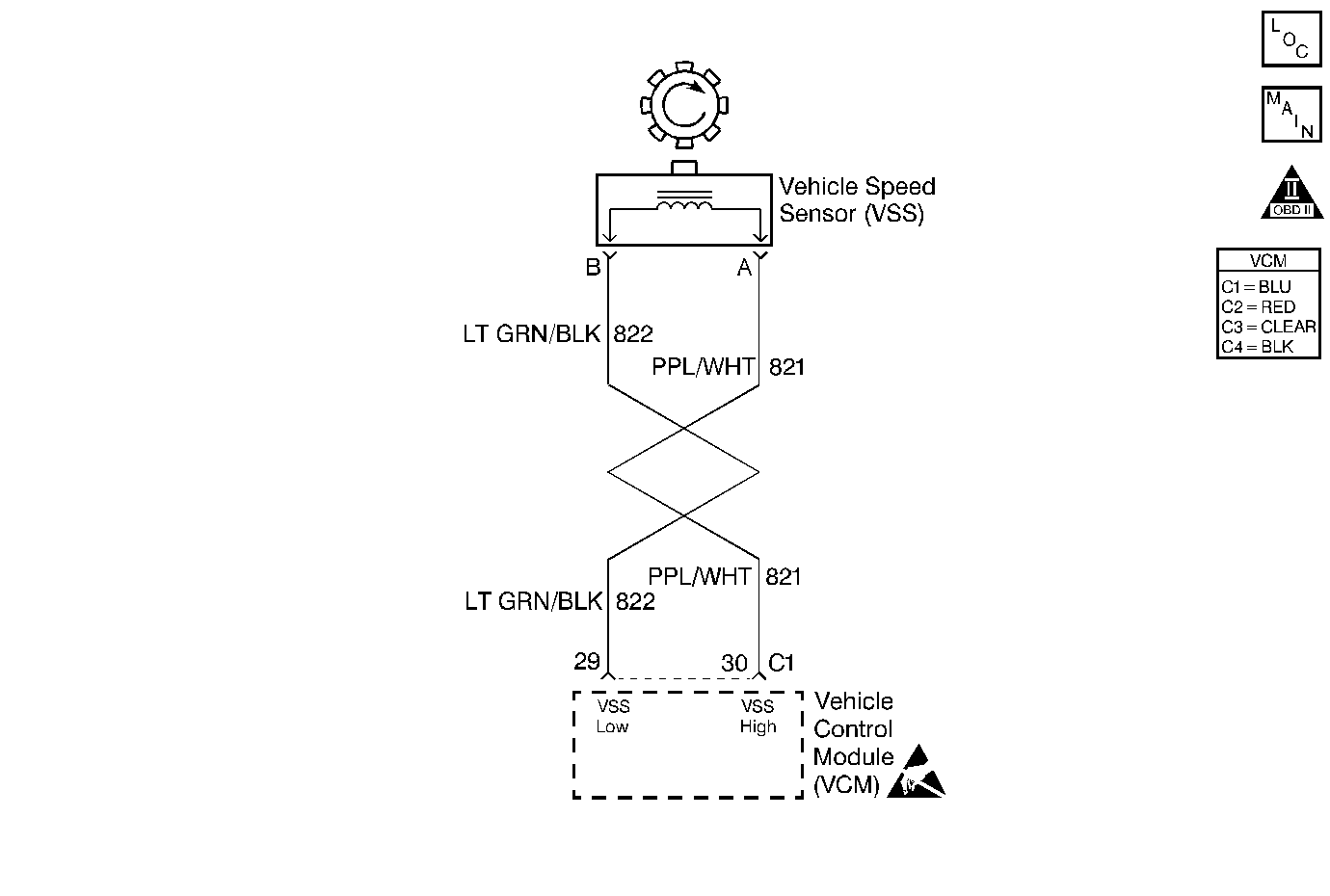
Object Number: 240836  Size: MF
VSS (4wd) - Comp Loc Figure
Engine Controls Schematics
OBD II Symbol Description Notice
Handling ESD Sensitive Parts Notice

Circuit Description

The vehicle speed sensor (VSS) is a magnetic induction sensor. The VSS is mounted close to the output shaft gear in the transmission. The gear teeth induce an alternating current in the sensor as the output shaft rotates. This frequency is applied to the control module at the rate of 40 cycles per output shaft revolution. The control module calculates the vehicle speed using this AC voltage signal.

If the VSS signal is not detected at any vehicle speed for 5 seconds, this diagnostic trouble code (DTC) will set.

Conditions for Running the DTC

    • No active MAP sensor DTCs
    • The MAP is less than 20 kPa
    • The ECT is 60°C(140°F) or greater
    • The engine speed is between 1,400-4,400 RPM
    • The throttle position is less than 3 %

Conditions for Setting the DTC

The VCM detects a vehicle speed less than 1 mph for 5 seconds or more.

Action Taken When the DTC Sets

The VCM will turn ON the Malfunction Indicator Lamp (MIL).

Conditions for Clearing the MIL or DTC

    • The control module turns OFF the MIL after 3 consecutive drive trips when the test has run and passed.
    • A history DTC will clear if no fault conditions have been detected for 40 warm-up cycles. A warm-up cycle occurs when the coolant temperature has risen 22°C (40°F) from the startup coolant temperature and the engine coolant reaches a temperature that is more than 70°C (158°F) during the same ignition cycle.
    • Use a scan tool in order to clear the DTCs.

Diagnostic Aids

Check proper calibration for the speedometer.

Test Description

The numbers below refer to the step numbers in the diagnostic table.

  1. This step determines if the DTC P0500 is the result of a hard failure or an intermittent condition.

  2. This step checks the VSS.

Step

Action

Value(s)

Yes

No

1

Important: Before clearing the DTCs, use the scan tool in order to record the Freeze Frame and the Failure Records for reference. This information will be lost when the Clear DTC Information function is used.

Was the Powertrain On-Board Diagnostic (OBD) System Check performed?

--

Go to Step 2

Go to Powertrain On Board Diagnostic (OBD) System Check

2

  1. Connect the scan tool.
  2. Clear the DTCs.
  3. Back probe across the VSS signal circuits High and Low using the J 35616 connector test adapter kit.
  4. Raise the wheels of the vehicle.
  5. Operate the engine in gear with a steady throttle.
  6. Set the voltmeter on the AC 200 volt scale.

Is the voltage fixed above the specified value?

0 V

Go to Step 5

Go to Step 3

3

Does the voltage vary?

--

Go to Diagnostic Aids

Go to Step 4

4

Does the voltmeter read NO voltage?

--

Go to Step 11

Go to Step 12

5

  1. With vehicle still raised, disconnect the Vehicle Speed Sensor (VSS).
  2. Operate the engine.
  3. Transmission in gear.
  4. The voltmeter on the AC 200 scale
  5. Measure the voltage across the Vehicle Speed Sensor terminals A and B.

Does the voltage vary with the RPM?

--

Go to Step 7

Go to Step 6

6

Replace the Vehicle Speed Sensor.

Is the action complete?

--

Go to Step 12

--

7

  1. Check for a poor connection at the VCM harness connector.
  2. Check for a poor connection at the Vehicle Speed Sensor connector.

Was a problem found?

--

Go to Step 9

Go to Step 8

8

  1. Check for an open or a short circuit between the VCM connector terminal for the VSS signal low circuit and the Vehicle Speed Sensor connector terminal A.
  2. Check for an open or a short circuit between the VCM connector terminal for the VSS signal high circuit and the Vehicle Speed Sensor connector terminal B.

Was a problem found?

--

Go to Step 10

Go to Step 11

9

Repair the connection as necessary. Refer to Wiring Repairs in Repair Instructions.

Is the action complete?

--

Go to Step 12

--

10

Repair the open or short as necessary. Refer to Wiring Repairs in Repair Instructions.

Is the action complete?

--

Go to Step 12

--

11

  1. Replace the VCM.
  2. Program the VCM. Refer to VCM Replacement/Programming .
  3. Perform the Crankshaft Variation Learn Procedure. Refer to Crankshaft Position System Variation Learn .

Is the action complete?

--

Go to Step 12

--

12

  1. Use the scan tool in order to select the DTC and the Clear DTC Information functions.
  2. Start the engine.
  3. Allow the engine to idle until normal operating temperature is reached.
  4. Select the DTC and the Clear DTC functions.
  5. Enter the DTC number which was set.
  6. Operate the vehicle within the conditions for setting this DTC as specified in the supporting text.

Does the scan tool indicate that this diagnostic ran and passed?

--

Go to Step 13

Go to Step 2

13

Use the scan tool in order to display the Capture Info and the Review Capture Info functions.

Are there any DTCs displayed that have not been diagnosed?

--

Go to The Applicable DTC Table

System OK