GM Service Manual Online
For 1990-2009 cars only

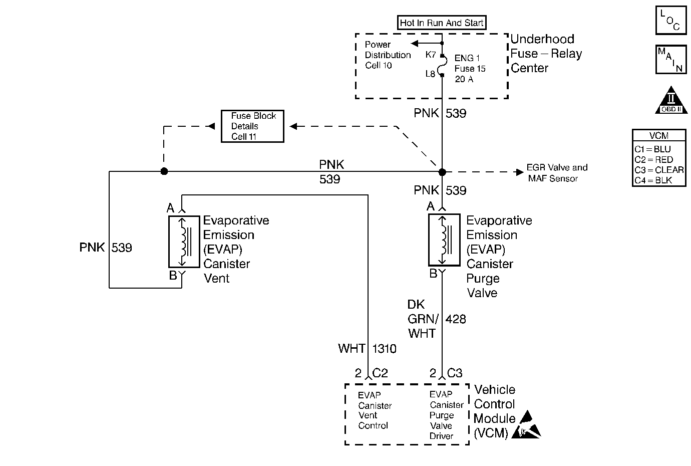
Object Number: 196163  Size: MF
EVAP/PCV - Comp Loc Figure
Engine Controls Schematics
OBD II Symbol Description Notice
Handling ESD Sensitive Parts Notice

Circuit Description

The evaporative system includes the following components:

    • The fuel tank
    • The EVAP vent solenoid
    • The fuel tank pressure sensor
    • The fuel pipes and hoses
    • The vapor lines
    • The fuel cap
    • The evaporative emission canister
    • The purge lines
    • The EVAP purge solenoid

The evaporative leak detection diagnostic strategy is based on applying a vacuum to the EVAP system and monitoring the vacuum decay. The VCM monitors vacuum level via the fuel tank vacuum sensor input. At an appropriate time, the EVAP purge solenoid and the EVAP vent solenoid are turned ON, allowing the engine vacuum to draw a small vacuum on the entire evaporative emission system. After the desired vacuum level has been achieved, the EVAP purge solenoid turns OFF, sealing the system. A leak is detected by monitoring for a decrease in the vacuum level over a given time period with all other variables remaining constant. A small leak in the system will cause DTC P0442 to be set.

Conditions for Running the DTC

  1. No active MAP sensor DTCs
  2. No active TP sensor DTCs
  3. No active VS DTCs
  4. No active O2 sensor DTCs
  5. No active ECT sensor DTCs
  6. No active IAT sensor DTCs
  7. DTC P0125 not active
  8. The fuel level is between 12.5-87 %
  9. The ECT is between 4°C-30°C(39°F-86°F)
  10. The IAT is between 4°C-30°C(39°F-86°F)
  11. The cold start temperature difference (ECT minus IAT) is less than
  12.  - 1.5°C(35°F) when the IAT is greater than the ECT or
     - 8°C(46°F) when the ECT is greater than the IAT
  13. The BARO is greater than 72 kPa
  14. The change in fuel tank vacuum is less than 0.6 in of H2O, or the change in fuel level is less than 8 %
  15. The throttle position is less than 75 %
  16. The vehicle speed is less than 65 mph(104 km/h)
  17. The fuel tank vacuum level remains above a calibrated value for a specified number of seconds

Conditions for Setting the DTC

The EVAP system is unable to hold a specified vacuum level for a calibrated number of seconds.

Action Taken When the DTC Sets

    • The VCM illuminates the MIL during the second key cycle in which the DTC sets.
    • The VCM stores the conditions which were present when the DTC sets as the Freeze Frame and the Fail Records data.

Conditions for Clearing the MIL/DTC

    • The MIL will turn OFF after one ignition cycle in which the diagnostic runs without a fault.
    • The Freeze Frame information and the history DTC will clear after one ignition cycle in which the diagnostic runs without a fault.
    • A scan tool can clear the DTC(s).

Diagnostic Aids

Check for the following conditions:

    • Damaged O-rings at the EVAP canister fuel vapor and purge line fittings
    • A cracked or punctured EVAP canister
    • A loose, damaged or misaligned fuel filler tube or fuel filler vent hose
    • An EVAP purge line, a vent hose or fuel tank vapor line
    • A poor connection at the VCM: Inspect the harness connectors for the following conditions:
       - Backed out terminals
       - Improper mating
       - Broken locks
       - Improperly formed or damaged terminals
       - A poor terminal to wire connection
    • A damaged harness: Inspect the wiring harness to the EVAP vent solenoid EVAP purge solenoid and the fuel tank pressure sensor for an intermittent open or short circuit.
    • A missing or damaged weather-pack on the EVAP Purge Solenoid connector.

Refer to Evaporative Emission Control System Diagnosis before starting the repairs.

Reviewing the Fail Records vehicle mileage since the diagnostic test last failed may help determine how often the condition that caused the DTC to set occurs. This may assist in diagnosing the condition.

Test Description

The numbers below refer to the step numbers on the diagnostic table

  1. This step checks the Fuel Tank Pressure sensor at atmospheric pressure.

  2. This step checks the EVAP System for a small leak.

Step

Action

Value(s)

Yes

No

1

Important: Before clearing the DTCs, use the scan tool in order to record the Freeze Frame and the Failure Records for reference. This data will be lost when the Clear DTC Information function is used.

Was the Powertrain On-Board Diagnostic (OBD) System Check performed?

--

Go to Step 2

Go to Powertrain On Board Diagnostic (OBD) System Check

2

Is DTC P0446, P0452, or P0453 set?

--

Go to applicable DTC table

Go to Step 3

3

  1. Turn OFF the ignition.
  2. Install a scan tool.
  3. Remove the fuel cap.
  4. Turn ON the ignition.
  5. Observe the Fuel Tank Pressure on the scan tool.

Is the Fuel Tank Pressure at the specified value?

-1-1 in.H2O

Go to Step 4

Go to Fuel Tank Pressure Sensor Diagnosis

4

Important: Before continuing with the diagnosis, zero the EVAP Pressure and Vacuum gauges on the Enhanced EVAP Pressure Purge Diagnostic Cart J 41413. Refer to tool operating instructions.

Important: Do not exceed the pressure given in the first specified value.

  1. Turn the ignition ON leaving the engine OFF.
  2. Using the scan tool, command the EVAP Vent Valve ON (Closed).
  3. Pressurize the EVAP system to the first specified value using the Enhanced EVAP Pressure Purge Diagnostic Cart J 41413.
  4. Monitor pressure using gauge on cart.
  5. Switch the rotary switch on the cart to HOLD and observe the EVAP pressure gauge.

Does the pressure decrease to less than the second specified value within 2 minutes?

15 in.H2O

10 in.H2O

Go to Step 5

Go to Diagnostic Aids

5

  1. Disconnect the Fuel Tank Vapor Line and the EVAP Purge Line from the EVAP canister.
  2. Block the Fuel Tank Vapor Line fitting on the canister.
  3. Connect a hand vacuum pump to the EVAP Purge Line fitting on the canister.
  4. Ensure that the EVAP Vent Valve is still commanded ON (Closed).
  5. Attempt to apply vacuum to the canister.

Can the specified value of vacuum be obtained and held?

5 in.Hg

Go to Step 10

Go to Step 6

6

  1. Leave system connected as in previous step.
  2. Disconnect the Vent hose at the Vent Valve.
  3. Plug end of Vent hose.
  4. Using the hand vacuum pump apply vacuum to the specified value.

Can the specified value of vacuum be obtained and held?

5 in.Hg

Go to Step 8

Go to Step 7

7

Check the Vent hose for possible cause of vacuum leak and repair as necessary.

Was a repair necessary?

--

Go to Step 12

Go to Step 9

8

Replace the EVAP Vent Valve. Refer to Diagnostic Aids. Refer to EVAP Vent Valve Replacement (EVAP) in Repair Instructions.

Is action complete?

--

Go to Step 12

--

9

Replace the EVAP Canister. Refer to Evaporative Emission Canister Replacement in Repair Instructions.

Is the action complete?

--

Go to Step 12

--

10

  1. Check for the following conditions:
  2. • Faulty fuel cap
    • Leaking fuel tank vapor line
    • Damaged EVAP purge line
  3. If a problem is found, repair as necessary. Refer to Diagnostic Aids.

Was a problem found?

--

Go to Step 12

Go to Step 11

11

Important: Do not exceed the pressure given in the specified value.

  1. Using the scan tool, command the EVAP vent valve ON (Closed).
  2. With the Enhanced EVAP Pressure Purge Diagnostic Cart J 41413 connected to the EVAP service port attempt to pressurize the EVAP system by leaving the cart control knob in the pressurize position.
  3. Using the Enhanced EVAP Ultrasonic Leak Detector J 41416, locate the leak in the EVAP system.
  4. It may be necessary to partially lower the fuel tank to examine the connections on the top of the tank. Refer to Diagnostic Aids.
  5. Repair the leak in the EVAP system.

Is the action complete?

15 in.H2O

Go to Step 12

--

12

Important: Do not exceed the pressure given in the first specified value.

  1. Turn the ignition ON leaving the engine OFF.
  2. Using the scan tool, command the EVAP Vent Valve ON (Closed).
  3. Pressurize the EVAP system to the first specified value using the Enhanced EVAP Pressure Purge Diagnostic Cart J 41413.
  4. Monitor pressure using gauge on cart.
  5. Switch the rotary switch on the cart to HOLD.
  6. Observe the EVAP pressure gauge.

Does the pressure decrease to less than the second specified value within 2 minutes?

15 in.H2O 10 in.H2O

Go to Step 2

Go to Step 13

13

  1. Use the scan tool in order to select the DTC and the Clear DTC Information functions.
  2. Perform the Service Bay Test for EVAP.

Was the test performed and passed?

--

Go to Step 14

--

14

Use the scan tool in order to display the Capture Info and the Review Capture Info functions.

Are there any DTCs displayed that have not been diagnosed?

--

Go to applicable DTC table

System OK