GM Service Manual Online
For 1990-2009 cars only

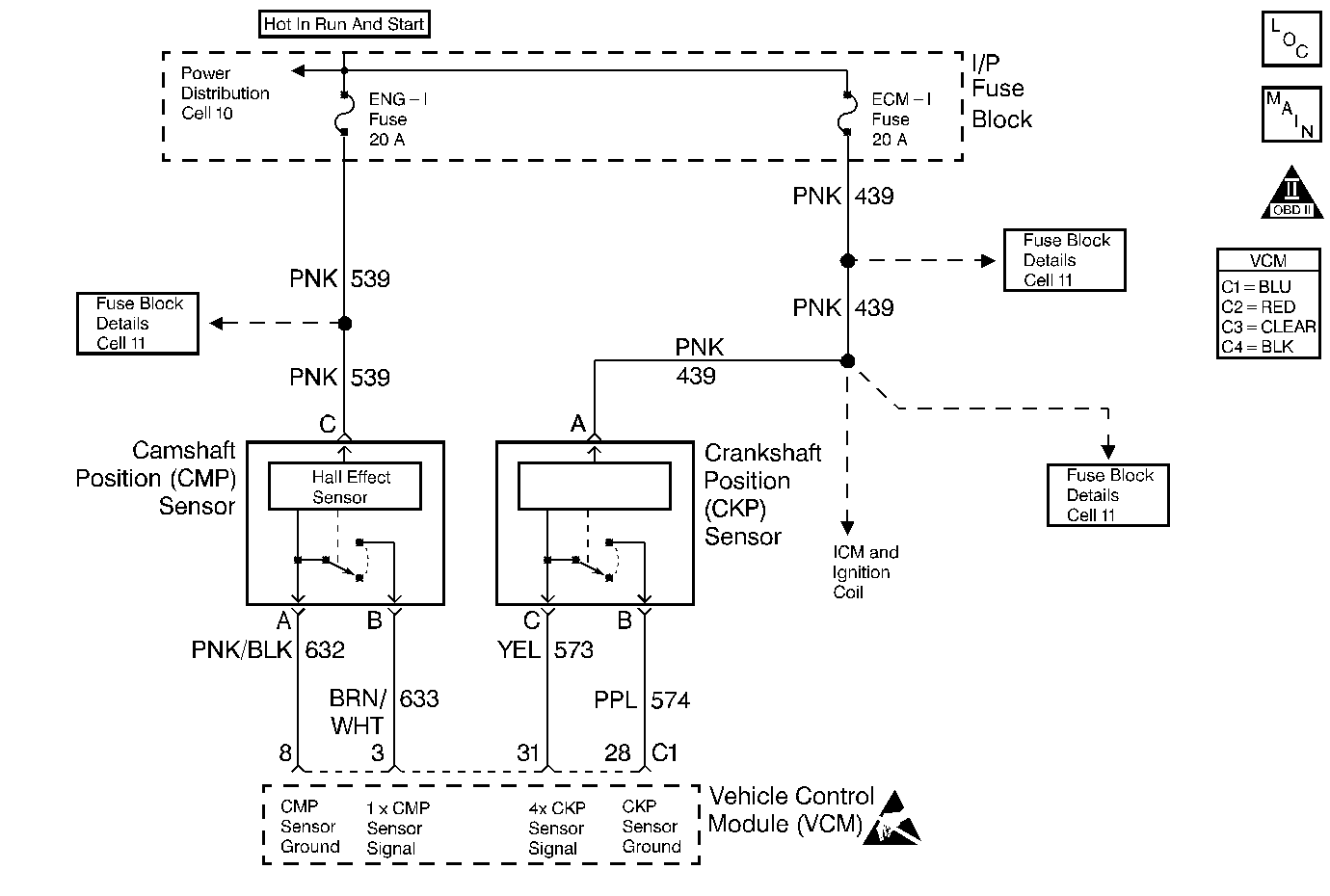
Object Number: 237410  Size: MF
KS/Ckp - Comp Loc Figure
Engine Controls Schematics
OBD II Symbol Description Notice
Handling ESD Sensitive Parts Notice

Circuit Description

The crankshaft position (CKP) sensor is a sensor designed to detect changes in a magnetic field. The control module supplies the CKP sensor a signal and ground circuits. Ignition voltage is supplied to the sensor by an independent circuit. The CKP sensor produces a magnetic field whenever the ignition is ON. The CKP sensor is mounted near a reluctor wheel that is attached to the crankshaft. When the crankshaft rotates, when the engine is cranking or running, the toothed reluctor wheel changes the magnetic field. The CKP sensor converts each change in the magnetic field into a PULSE. The number of teeth on the reluctor wheel determines how many pulses the CKP sensor detects per crankshaft rotation. The CKP sensor signal is used in order to determine the engine speed, the crankshaft position, and to detect misfire.

If a loss of the CKP signal or an erratic signal is detected by the VCM while the engine is running, this DTC will be set.

Conditions for Running the DTC

The MAF is 5 g/s or greater.

Conditions for Setting the DTC

The measured change in engine speed is 1,000 RPM or greater during a 125 ms time period

OR

The measured engine speed is 0 RPM and 4 or more camshaft position sensor pulses have occurred over a period of 2-3 seconds.

Action Taken When the DTC Sets

The VCM will turn ON the MIL after 2 consecutive driving cycles with the fault active.

Conditions for Clearing the MIL or DTC

    • The control module turns OFF the MIL after 3 consecutive drive trips when the test has run and passed.
    • A history DTC will clear if no fault conditions have been detected for 40 warm-up cycles. A warm-up cycle occurs when the coolant temperature has risen 22°C (40°F) from the startup coolant temperature and the engine coolant reaches a temperature that is more than 70°C (158°F) during the same ignition cycle.
    • Use a scan tool in order to clear the DTCs.

Diagnostic Aids

A poor connection, rubbed through wire insulation, or a wire that is broken inside the insulation may cause an intermittent problem.

Thoroughly check any circuitry, that is suspected of causing the intermittent complaint for the following conditions:

    • Backed out terminals
    • Improper mating
    • Broken locks
    • Improperly formed or damaged terminals
    • Poor terminal to wire connections
    • Physical damage to the wiring harness

Inspect the face of the CKP sensor for metal shavings. This could result in an intermittent DTC P0339.

Refer to Symptoms .

Test Description

The numbers below refer to the step numbers on the diagnostic table.

  1. Checks the ignition feed circuit to the crankshaft position sensor.

  2. Checks the duty cycle of the crankshaft position sensor.

Step

Action

Value(s)

Yes

No

1

Important: Before clearing the DTCs, use the scan tool in order to record the Freeze Frame and the Failure Records for reference. This data will be lost when the Clear DTC Information function is used.

Was the Powertrain On-Board Diagnostic (OBD) System Check performed?

--

Go to Step 2

Go to Powertrain On Board Diagnostic (OBD) System Check

2

Does the vehicle start and continue to run?

--

Go to Diagnostic Aids

Go to Step 3

3

  1. Disconnect the crankshaft position (CKP) sensor.
  2. Connect a test light to a ground.
  3. Turn the ignition ON, leaving the engine OFF.
  4. Probe the crankshaft position sensor connector terminal A for the ignition feed circuit .

Is the test light ON?

--

Go to Step 4

Go to Step 6

4

Connect the test light between the CKP sensor connector terminals A and B.

Is the test light ON?

--

Go to Step 5

Go to Step 7

5

  1. Turn the ignition OFF.
  2. Install the gray jumpers from the connector tester kit J 35616 between the engine harness connector and the CKP sensor ignition feed and ground circuits.
  3. Install a DMM set to the duty cycle position (select AC voltage and press Hz button twice to display duty cycle), between the CKP sensor (4X) signal circuit and the CKP sensor ground circuit.
  4. Crank the engine.

Is the duty cycle within the specified value?

23%-43%

Go to Step 8

Go to Step 9

6

Repair the open or short to ground in the CKP sensor ignition feed circuit. Refer to Wiring Repairs in Repair Instructions.

Is the action complete?

--

Go to Step 16

--

7

Check the CKP sensor ground circuit for an open.

Was a problem found?

--

Go to Step 14

Go to Step 13

8

Check for an open or a short in the CKP sensor (4X) signal circuit.

Was a problem found?

--

Go to Step 14

Go to Step 11

9

Check the crankshaft position (CKP) sensor and the crankshaft reluctor wheel for damage. Refer to Diagnostic Aids.

Was a problem found?

--

Go to Step 10

Go to Step 12

10

  1. Replace the crankshaft position (CKP) sensor and/or the crankshaft reluctor wheel, refer to Crankshaft Position Sensor Replacement and/or Engine Mechanical.
  2. Perform the crankshaft variation learn procedure. Refer to Crankshaft Position System Variation Learn .

Is the action complete?

--

Go to Step 16

--

11

Check for a faulty connection at the CKP sensor.

Was a problem found?

--

Go to Step 14

Go to Step 13

12

Important: Inspect the CKP sensor mounting surface to insure the surface is clean and free of debris.

  1. Replace the CKP sensor. Refer to Crankshaft Position Sensor Replacement .
  2. Perform the crankshaft variation learn procedure. Refer to Crankshaft Position System Variation Learn .

Is the action complete?

--

Go to Step 16

--

13

Check for a faulty connection at the VCM.

Was a problem found?

--

Go to Step 14

Go to Step 15

14

Repair the circuit as necessary. Refer to Wiring Repairs in Repair Instructions.

Is the action complete?

--

Go to Step 16

--

15

  1. Replace the VCM.
  2. Program the VCM. Refer to VCM Replacement/Programming .
  3. Perform the Crankshaft Variation Learn Procedure. Refer to Crankshaft Position System Variation Learn .

Is the action complete?

--

Go to Step 16

--

16

  1. Use the scan tool in order to select the DTC and the Clear DTC Information functions.
  2. Start the engine.
  3. Allow the engine to idle until normal operating temperature is reached.
  4. Select the DTC and the Specific DTC functions.
  5. Enter the DTC number which was set.
  6. Operate the vehicle within the conditions for setting this DTC as specified in the supporting text.

Does the scan tool indicate that this diagnostic ran and passed?

--

Go to Step 17

Go to Step 2

17

Use the scan tool in order to display the Capture Info and the Review Capture Info functions.

Are there any DTCs displayed that have not been diagnosed?

--

Go to the applicable DTC table

System OK