GM Service Manual Online
For 1990-2009 cars only
Makes
🢒
Chevrolet
🢒
1999
🢒
Chevy Suburban 4WD - RHD
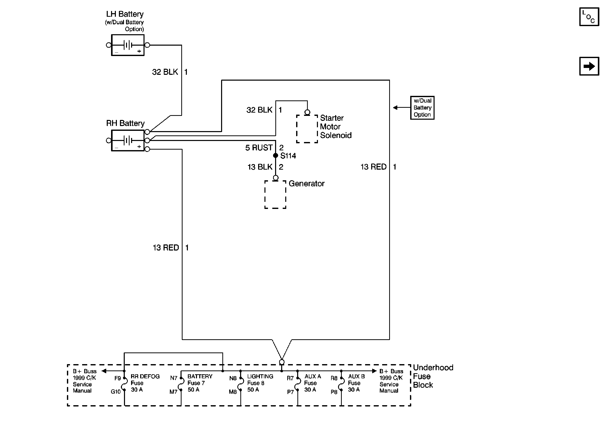
🢒 Cell 10: Battery(s) and Underhood Fuse Block
Cell 10: Battery(s) and Underhood Fuse Block
Cell 10: Battery(s) and Underhood Fuse Block
Power and Grounding Components
Cell 10: RR DEFOG, LIGHTING, & BATTERY Fuses