GM Service Manual Online
For 1990-2009 cars only
Makes
🢒
Chevrolet
🢒
1999
🢒
Chevy Suburban 4WD - RHD
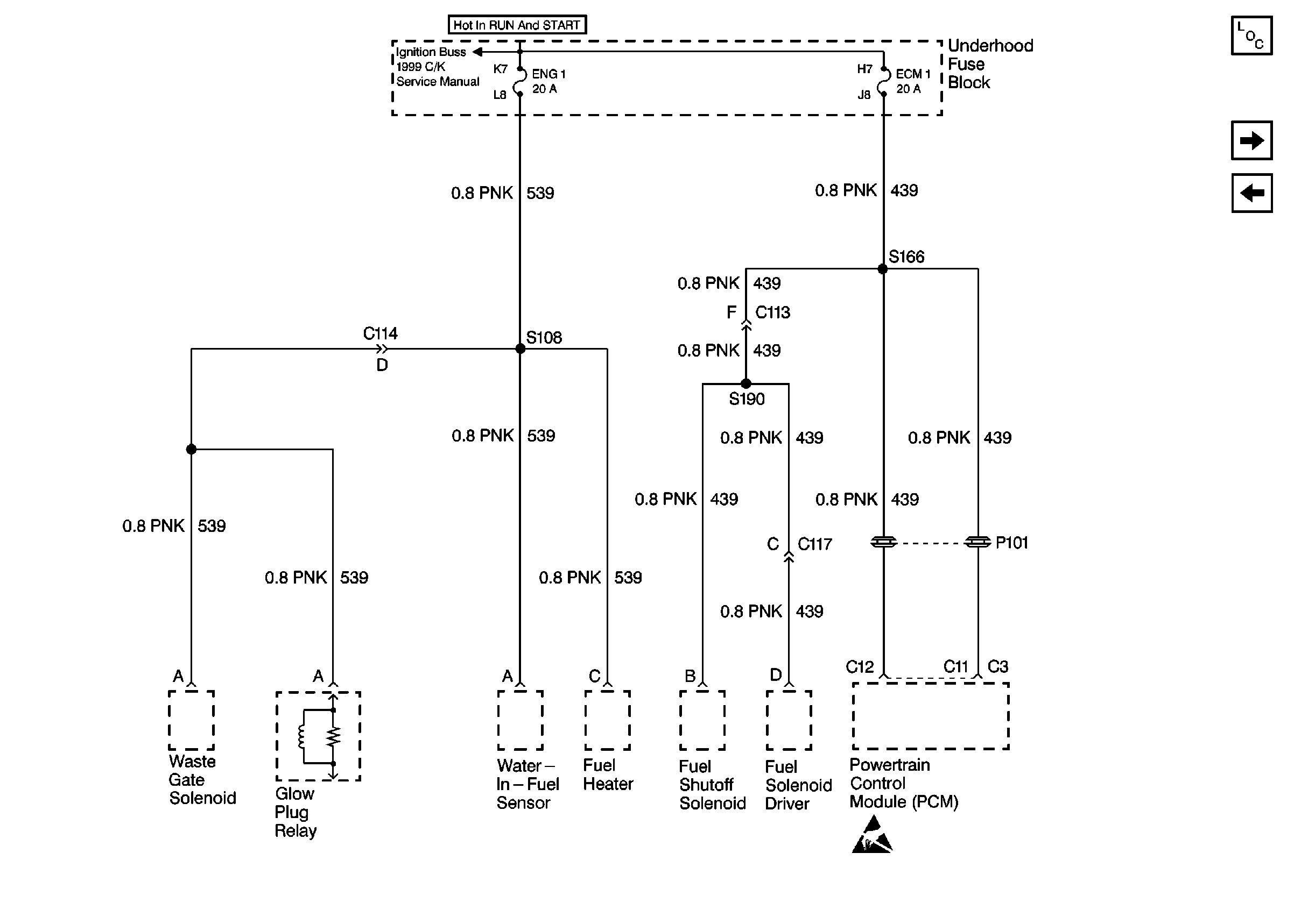
🢒 Cell 10: Eng 1 & ECM 1, Diesel
Cell 10: Eng 1 & ECM 1, Diesel
Cell 10: Eng 1 & ECM 1, Diesel
Handling ESD Sensitive Parts Notice
Power and Grounding Components
Cell 10: PRK LPS, RADIO BATT, AUX PWR Fuses
Cell 10: Eng 1 Fuse, Gas