GM Service Manual Online
For 1990-2009 cars only
Makes
🢒
Chevrolet
🢒
1999
🢒
Chevy Suburban 4WD - RHD
🢒 Cell 47: Power Ground and DLC
Cell 47: Power Ground and DLC
Cell 47: Power Ground and DLC
SIR Components
SIR System Operation
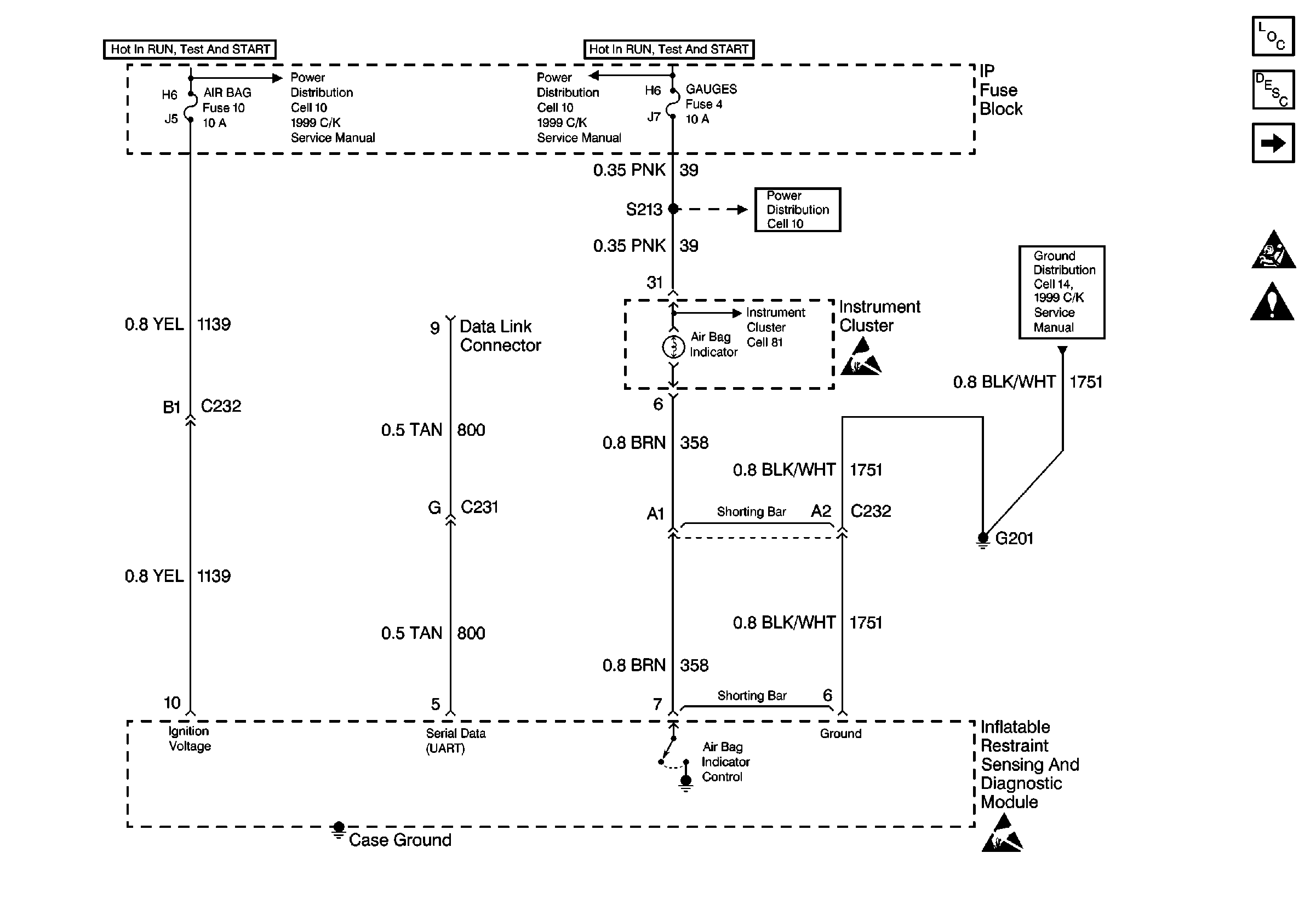
Cell 47: IP Module, Steering Wheel Module and Discriminating Sensor
SIR Handling Caution
SIR Schematic Icons
Handling ESD Sensitive Parts Notice
Cell 10: TRANS & GAUGES Fuses
Cell 10: TRANS & GAUGES Fuses
Cell 81: Indicator Lamps
Handling ESD Sensitive Parts Notice