GM Service Manual Online
For 1990-2009 cars only

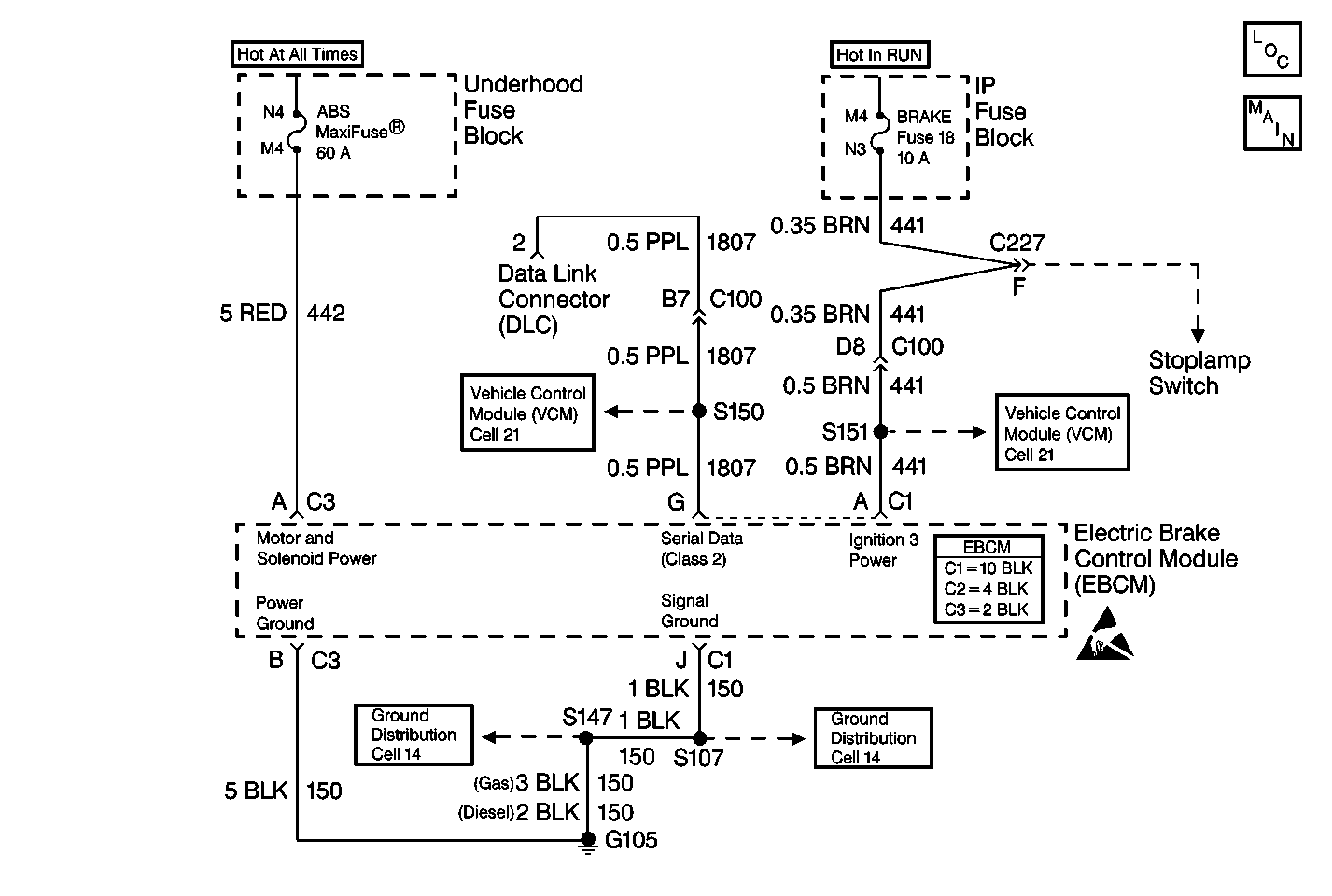
Object Number: 475779  Size: MF
ABS Components
Antilock Brake System Schematics

Circuit Description

The pump motor circuit is integral to the BPMV. The EBCM microprocessor energizes the relay within the EBCM in order to supply the battery voltage to the high side of the pump motor. The EBCM microprocessor grounds the low side of the pump motor when activation of the pump motor is required.

Conditions for Setting the DTC (C0267)

    • The EBCM internal relay is on.
    • The pump motor is off.
    • Low voltage is present from the low side of the pump motor when high voltage is expected

Conditions for Setting the DTC (C0268)

    • Vehicle speed is 13 km/h (8 mph)
    • The EBCM internal relay is on.
    • The pump motor is commanded ON and then OFF.
    • High voltage exists from the low side of the pump motor for 100 ms when the voltage is expected to be low.

Action Taken When the DTC Sets

    • The ABS indicator lamp turns on.
    • The ABS disables.

DTCs C0267/C0268 are ignition latched DTCs, which indicates that the above actions remain true until the ignition switch is turned to OFF (even if the cause of the DTC is intermittent).

Conditions for Clearing the DTC

    • Repair the conditions responsible for setting the DTC
    • Use the Scan Tool Clear DTCs function.

Diagnostic Aids

The pump motor is integral with the BPMV. Do not service the pump motor separately. A poor power/ground connection at the 2-way EBCM connector or the 2-way motor harness from the EBCM to the pump motor can cause a DTC C0267. A seized pump motor, shorted pump motor windings or a poor power/ground at the 2-way EBCM connector can cause a DTC C0268. Replace the EBCM or the BPMV if the following tests show that the pump motor EBCM internal circuits have failed.

Important: Reset the J 39200 test leads to zero prior to making any resistance measurements. Refer to the J 39200 in the user's manual.

Test Description

The numbers below refer to the steps in the diagnostic table:

  1. This step checks for an open pump motor circuit. The pump motor circuit resistance should not be above 1 ohm. Reset the J 39200 test leads to zero prior to making this low resistance measurement.

  2. This step determines the resistance of the EBCM ground circuit.

  3. This step determines the ignition voltage available to the EBCM.

Step

Action

Value(s)

Yes

No

1

Was the Diagnostic System Check performed?

--

Go to Step 2

Go to Diagnostic System Check - ABS

2

  1. Turn the ignition to OFF.
  2. Disconnect the 2-way pump motor pigtail connector from the EBCM.
  3. Inspect the connector and the wiring for damage or corrosion that could result in an open circuit between the pump motor and the EBCM.

Is the connector and the wiring in good condition?

--

Go to Step 3

Go to Step 10

3

Important: Reset the J 39200 test leads to zero prior to making this resistance measurement.

Measure the resistance between terminal A and terminal B of the 2-way pump motor pigtail connector using a J 39200 .

Is the resistance within the specified range?

0.1-1.0 ohms

Go to Step 4

Go to Step 15

4

  1. Turn the ignition to OFF.
  2. Disconnect the 2-way EBCM harness connector from the EBCM.
  3. Inspect the connector for damage or corrosion that could cause a loss of power to the EBCM.

Is the connector in good condition?

--

Go to Step 5

Go to Step 9

5

Measure the resistance between terminal B of the 2-way EBCM harness connector and the ground using a J 39200 .

Is the resistance within the specified range?

0-2 ohms

Go to Step 6

Go to Step 11

6

  1. Turn the ignition to RUN.
  2. Measure the voltage between terminal A of the 2-way EBCM harness connector and the ground using a J 39200 .

Is the voltage equal to or greater than the specified value?

10.0 V

Go to Step 8

Go to Step 7

7

Inspect the 60A MaxiFuse® in CKT 442.

Is the 60A MaxiFuse® open?

--

Go to Step 13

Go to Step 14

8

  1. Inspect the 2-way EBCM harness connector for poor terminal contact or corrosion.
  2. Inspect CKT 442 and CKT 150 for damage that could result in an open intermittent circuit.
  3. Repair any evident damage, and replace the terminals if poor contact or corrosion exists.
  4. Reconnect all the connectors.
  5. Clear all the DTCs using the Scan Tool .
  6. Test drive vehicle above 16  km/h (10 mph).

Does the DTC set as a current DTC?

--

Go to Step 12

Go to Diagnostic Aids

9

Repair the 2-way EBCM harness connector if necessary. Refer to Connector Repairs in Wiring Systems.

Is the repair complete?

--

Go to Diagnostic System Check - ABS

--

10

Repair the 2-way pump motor pigtail connector or wiring if necessary.

Is the repair complete?

--

Go to Diagnostic System Check - ABS

--

11

Repair the open or the high resistance in the CKT 150. Refer to Wiring Repairs in Wiring Systems.

Is the repair complete?

--

Go to Diagnostic System Check - ABS

--

12

Replace the EBCM. Refer to Electronic Brake Control Module Replacement .

Is the repair complete?

--

Go to Diagnostic System Check - ABS

--

13

  1. Repair short to ground in CKT 442. Refer to Wiring Repairs in Wiring Systems.
  2. Replace the MaxiFuse®.

Is the repair complete?

--

Go to Diagnostic System Check - ABS

--

14

Repair the open or the high resistance in CKT 442. Refer to Wiring Repairs in Wiring Systems.

Is the repair complete?

--

Go to Diagnostic System Check - ABS

--

15

Replace the BPMV. Refer to Brake Pressure Modulator Valve Replacement .

Is the repair complete?

--

Go to Diagnostic System Check - ABS

--