The National Traffic and Motor Vehicle Safety Act, as amended, provides that each vehicle which is subject to a recall campaign of this type must be adequately repaired within a reasonable time after the owner has tendered it for repair. A failure to adequately repair within 60 days after tender of a vehicle is prima facie evidence of failure to repair within a reasonable time.
If the condition is not adequately repaired within a reasonable time, the owners may be entitled to an identical or reasonably equivalent vehicle at no charge or to a refund of the purchase price less a reasonable allowance for depreciation.
To avoid having to provide these burdensome solutions, every effort must be made to promptly schedule an appointment with each owner and to repair their vehicle as soon as possible. As you will see in reading the attached copy of the letter which is being sent to owners, the owners are being instructed to contact the nearest Chevrolet Branch Office if their dealer does not remedy the condition within five days of the mutually agreed upon service date. If the condition is not remedied within a reasonable time, they are instructed on how to contact the National Highway Traffic Safety Administration.
General Motors has determined that certain 1985 and 1986 Chevrolet C10 Light Duty Trucks were manufactured with improper size 11 x 2 inch rear brake assemblies, rather than the specified 11.15 x 2.75 inch brakes. These trucks fail to conform to the requirements of Federal Motor Vehicle Safety Standard (FMVSS) 105, "Hydraulic Brake Systems." Under certain conditions, the trucks might exceed the maximum stopping distance permitted by FMVSS 105. Should a minimum stopping distance be required while these trucks are being driven, a vehicle crash could occur without prior warning. To correct this condition, the incorrect rear axle brake assemblies must be replaced with the proper size brake assemblies.
Involved are twenty-three (23) 1985-86 Chevrolet C10 Light Duty Trucks equipped with 6.2L diesel engine (RPO LH6), 4-speed manual transmission (RPO MM4) and 3.42 ratio rear axle (RPO GU6) w/o locking rear axle (RPO G80) listed as follows:
1GCEC14C2FF352638 1GCEC14C0FF362102 1GCEC14C1FF375599 1GCEC14C3FF404584 1GCEC14COFJ109178 1GCEC14C8FJ150769 1GCEC14C4FJ154026 1GCEC14C1FS125626 1GCEC14C1FS163079 1GCEC14C7FS165175 2GCEC14C9F1108122 2GCEC14C7F1140177 2GCEC14C8F1141208 2GCEC14C4F1167045 2GCEC14C3F1176898 2GCEC14C6F1187085 1GCEC14C3GJ104994 1GCEC14C6GS158610 1GCEC14C6GS165184 1GCEC14C4GS181724 1GCEC14CBGS182570 2GCEC14C7G1100487 2GCEC14C4G1125024
Involved vehicles have been identified by Vehicle Identification Number Computer Listings. Computer listings contain the complete Vehicle Identification Number, owner name and address data, and are furnished to the involved dealers with the campaign bulletin. Owner name and address data furnished will enable dealers to follow-up with owners involved in this campaign.
These listings may contain owner names and addresses obtained from State Motor Vehicle Registration Records. The use of such motor vehicle registration data for any other purpose is a violation of law in several states. Accardingly, you are urged to limit the use of this listing to the follow-up necessary to complete this campaign. Any dealer not receiving a computer listing with the campaign bulletin has no involved vehicles currently assigned.
Owners will be notified of this campaign on their vehicles by Chevrolet Motor Division (see copy of Owner Letter included with this bulletin).
Dealers are to service all vehicles subject to this campaign at no charge to owners, regardless of mileage, age of vehicle, or ownership, from this time forward.
Whenever a vehicle subject to this campaign is taken into new or used vehicle inventory, or it is in your dealership for service in the future, you should take the steps necessary to be sure the campaign correction has been made before reselling or releasing the vehicle.
Owners of vehicles recently sold from your new vehicle inventory are to be contacted by the dealer, and arrangements made to make the required correction according to instructions contained in this bulletin.
This bulletin is notice to you that the new motor vehicles included in this campaign may not comply with the standard identified above. Under Section 108 of the National Traffic and Motor Vehicle Safety Act, it is illegal for a dealer to sell a new motor vehicle which the dealer knows does not comply with an applicable Federal Motor Vehicle Safety Standard. As a consequence, if you sell any of these motor vehicles without first performing the campaign correction, your dealership may be subject to a civil penalty up to $1,000 for each such sale.
The parts kits required for this campaign have been limited just to those vehicles involved. They have also been made available on a one time only basis. Therefore, dealers must contact their Branch office to order parts. This should only be done, however, when contacted by an involved owner. The Branch will then contact Central Office and parts will be shipped directly to the involved dealer.
Parts are not to be ordered from or returned to General Motors Service Parts Operations (GMSPO).
Parts will be shipped in two boxes, one right hand and one left hand.
Parts will consist of
1. Brake assembly including backing plate, shoes, wheel cylinder, valve, lever pin, screw and parking brake cable. 2. Flange attaching bolts, nuts and washers. 3. Drums. 4. Cover pan gasket. 5. Installation instructions.
QUANTITY DESCRIPTION PART NUMBER -------- ----------- ----------- 4 pints SAE80W OR 8OW-90GLS 1051855 gear lubricant As required brake fluid - Delco 1052535 Supreme or DOT-3 equivalent
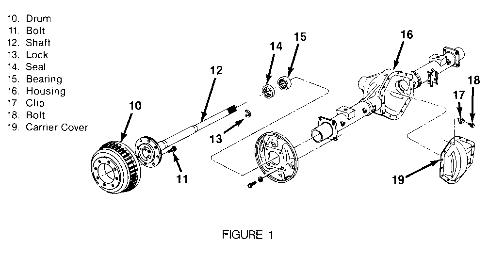
Refer to Figure No. 1 for Axle Shaft and Housing Detail.
After performing brake work ensure brake system is operational before returning the vehicle to the owner.
All involved trucks are equipped with an 8.5" ring gear semi-floating rear axle. Refer to Section 4B, Rear Axle, and Section 5, Brakes, of the 1986 Light Duty Service Manual (ST-330-86) for further removal or installation instructions.
1. Place transmission in neutral. 2. Lift and support vehicle. 3. Remove tires from rear axle. 4. Remove and discard brake drums. 5. Disconnect the parking brake cables at the equalizer. 6. Remove differential cover and catch the oil in a drain pan. 7. Disconnect the brake line at the wheel cylinders and catch the fluid in a drain pan. 8. Remove screw (A), pinion shaft (B), and "C"-lock (G) from the differential case, Figures No. 2 and No. 3. 9. Withdraw axle shafts and set aside. 10. Remove and discard the complete brake assemblies. This includes the backing plate, attaching hardware and parking brake cable. 11. Install new brake assemblies on the axle. Torque backing plate bolts to 47Nm (35 lb ft). 12. Reconnect brake line to the wheel cylinders. Torque to 18 Nm (160 in lbs). 13. Reinstall axle shafts. 14. Reinstall "C"-lock, pinion shaft and screw. Torque screw to 34 Nm (25 lb ft). 15. Reinstall differential cover with new gasket. Tighten bolts in a crosswise pattern to assure uniform draw on the gasket. Torque bolts to 27 Nm (20 lb ft). Reclip brake line to the axle. 16. Refill differential with SAE-80W or SAE-80W-90GLS gear lubricant, P/N 1051855. It will hold approximately 4 pints. Torque filler plug to 34 Nm (25 lb ft). 17. Install new brake drums. 18. Connect parking brake cables at equalizer and adjust. 19. Reinstall tires. Torque wheel stud nuts to 140 Nm (100 lb ft). 20. Bleed brake system. Refer to Section 5 of the applicable Light Duty Service Manual for instructions. Use Delco Supreme II fluid, P/N 1052535 or DOT-3 equivalent. 21. Install Campaign Identification Label.
Each vehicle corrected in accordance with the instructions outlined in this Product Campaign Bulletin will require a "Campaign Identification Label." Each label provides a space to include the five digit dealer code of the dealer performing the campaign service. This information may be inserted with a typewriter or ballpoint pen.
Each "Campaign Identification Label" is to be located on the radiator core support in an area which will be visible when the vehicle is brought in for periodic servicing by thd owner.
Apply "Campaign Identification Label" only on a clean dry surface.
Submit a Product Campaign Claim with the information indicated below:
* ** FAILED PARTS LABOR LAB OTH NET REPAIR PERFORMED PC PART NO. ALLOW FC OP HRS HRS AMT ---------------- -- ------- ----- -- -- --- --- --- REPLACE BRAKE 00 V3920 1.4 0.1 $100.00 ASSEMBLIES
*Campaign Administrative Allowance
**The $100.00 in the "Not Amount" Column covers the cost of gear lubricant and brake fluid plus 30% as well as the 30% of dealer net when the parts are furnished no charge by Chevrolet.
Dealers will automatically receive the correct labor and material allowance based on the labor operation performed.
Refer to the Chevrolet Claims Processing Manual for details on Product Campaign Claim submission.
Dear Chevrolet Owner:
This notice is sent to you in accordance with the requirements of the National Traffic and Motor Vehicle Safety Act.
General Motors has detemined that certain 1985 and 1986 Chevrolet C10 Light Duty Trucks were manufactured with improper size 11 x 2 inch rear brake assemblies, rather than the specified 11.15 x 2.75 inch brakes. These trucks fail to conform to the requirements of Federal Motor Vehicle Safety Standard (FMVSS) 105, "Hydraulic Brake Systems." Under certain conditions, the trucks might exceed the maximum stopping distance permitted by FMVSS 105. Should a minimum stopping distance be required while these trucks are being driven, a vehicle crash could occur without prior warning. To correct your vehicle, the rear axle brake assemblies must be replaced with the proper size brake assemblies. This service will be completed for you at no charge.
Instructions for perfoming this service have been sent to your Chevrolet dealer. Parts are currently available. The labor time to make corrections to your vehicle will be approximately 1-1/2 hours. Please ask your dealer if you wish to know how much additional time will be needed to process your vehicle.
Your Chevrolet Dealer is best equipped to obtain parts and provide service to ensure your vehicle is inspected and/or corrected as promptly as possible. However, if you take your vehicle to your dealer on the agreed service date, and they do not service this condition on that date or within five days, we recomend you contact the nearest Chevrolet Branch Office, either in person or by telephone. The Branch Office will assist you and the dealer in getting your vehicle serviced. The locations and telephone numbers of the Branch offices are listed in your Owner's Manual.
After contacting your dealer and the Branch Office, if you are still not satisfied that we have done our best to remedy this condition without charge and within a reasonable time, you may wish to write the Administrator, National Highway Traffic Safety Administration, 400 Seventh St., S.W., Washington, D.C. 20590 or call 800-424-9393 (Washington, D.C. residents use 426-0123).
The enclosed owner reply card identifies your vehicle. Presentation of this card to your dealer will assist them in making the necessary correction to your vehicle in the shortest possible time. If you have sold or traded your vehicle, please let us know by completing the postage paid owner reply card and returning it to us.
We are sorry to cause you this inconvenience, however, we have taken this action in the interest of your safety and continued satisfaction with our products.
Chevrolet Motor Division GENERAL MOTORS CORPORATION
General Motors bulletins are intended for use by professional technicians, not a "do-it-yourselfer". They are written to inform those technicians of conditions that may occur on some vehicles, or to provide information that could assist in the proper service of a vehicle. Properly trained technicians have the equipment, tools, safety instructions and know-how to do a job properly and safely. If a condition is described, do not assume that the bulletin applies to your vehicle, or that your vehicle will have that condition. See a General Motors dealer servicing your brand of General Motors vehicle for information on whether your vehicle may benefit from the information.