GM Service Manual Online
For 1990-2009 cars only

CRUISE CONTROL -'TAP UP OR TAP DOWN RESPONSE' NEW MODULE

VEHICLES AFFECTED: 1988 Rl R2 Vl V2 TRUCKS WITH 5.7L OR 7.4L

Some 1988 R/V Suburban/Jimmys within the VIN breakpoints listed below, equipped with 5.7L or 7.4L gasoline engines and cruise control may exhibit a condition involving cruise control response. Acceleration several mph more than expected may occur when the driver uses the Tap-up or Tap-down cruise modes. This may be caused by voltage transients induced during engine start.

A cruise control module which is less susceptible to negative voltage transients has been released.

Vehicles Involved

1988 GMC Suburban/Jimmys equipped with 5.7L or 7.4L engines and cruise control (K34) built within the following VIN breakpoints:

From Through

GMC JF510956 JF534128 Chevrolet JF126643 JF182301

Service Procedure

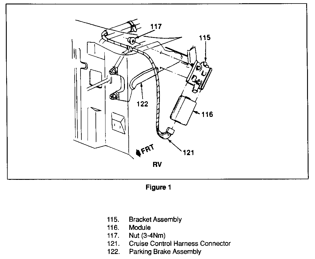
Cruise control module replace. Refer to Figure No. 1.

1. Disconnect cruise harness (121).

2. Disconnect module assembly (116) by prying back the retaining clip on the bracket and sliding the module out.

3. Install new module P/N 25110868.

4. Connect cruise harness.

PARTS INFORMATION PART PART NUMBER QUANTITY ---- ----------- -------- Cruise control module 25110868 1 0212b/29


Object Number: 84416  Size: FS

General Motors bulletins are intended for use by professional technicians, not a "do-it-yourselfer". They are written to inform those technicians of conditions that may occur on some vehicles, or to provide information that could assist in the proper service of a vehicle. Properly trained technicians have the equipment, tools, safety instructions and know-how to do a job properly and safely. If a condition is described, do not assume that the bulletin applies to your vehicle, or that your vehicle will have that condition. See a General Motors dealer servicing your brand of General Motors vehicle for information on whether your vehicle may benefit from the information.