GM Service Manual Online
For 1990-2009 cars only

Removal Procedure


    Object Number: 7814  Size: SH
  1. Remove the pump slide inner (207) and outer (206) springs.
  2. Place a rag over the springs while removing them to prevent the springs from flying out.

  3. Object Number: 55925  Size: SH
  4. Remove the oil pump rotor (212) and pump vane rings (210).
  5. Remove the pump vanes (213).
  6. Remove the rotor guide (211).

  7. Object Number: 55926  Size: SH
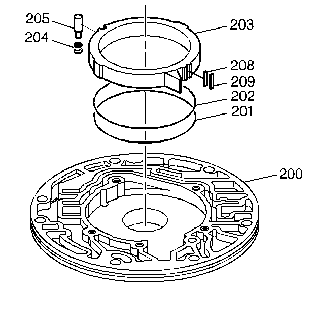
  8. Remove the pump slide (203), pump slide support seal (208) and the pump slide seal (209).
  9. Remove the slide seal back-up O-ring seal (202) and the oil seal (slide to wear plate) ring (201).
  10. Remove the pivot slide pin (205) and the pivot pin spring (204).