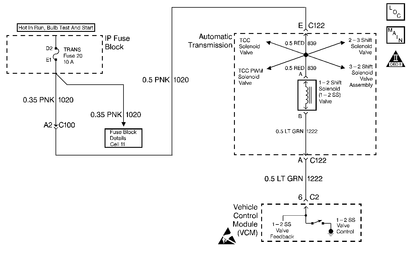
The 1-2 Shift Solenoid Valve (1-2 SS Valve) controls the fluid flow acting on the 1-2 and 3-4 shift valves. The solenoid is a normally-open exhaust valve. With the 2-3 Shift Solenoid Valve (2-3 SS Valve), the 1-2 SS Valve allows four different shifting combinations. The solenoid attaches to the control valve body within the transmission. The 1-2 SS Valve receives ignition voltage through circuit 1020. The Vehicle Control Module (VCM) controls the solenoid by providing the ground path on circuit 1222.
When the VCM detects a continuous open or short to ground in the 1-2 SS Valve circuit or the 1-2 SS Valve, then DTC P0753 sets. DTC P0753 is a type A DTC.
| • | The system voltage is 10-16 volts. |
| • | The engine speed is greater than 450 RPM for 5 seconds. |
| • | Not in fuel cutoff. |
| • | All of the above conditions are met for 5 seconds and either of the following fail conditions occurs for 5 seconds: |
| - | The VCM commands the solenoid ON and the voltage input remains high (B+). |
| - | The VCM commands the solenoid OFF and the voltage input remains low (0 volts). |
| • | The VCM illuminates the Malfunction Indicator Lamp (MIL). |
| • | The VCM commands D2 line pressure. |
| • | The VCM inhibits 3-2 downshifts if the vehicle speed is greater than 48 km/h (30 mph). |
| • | The VCM freezes shift adapts from being updated. |
| • | DTC P0753 stores in VCM history. |
| • | The VCM turns OFF the MIL after three consecutive trips without a failure reported. |
| • | A scan tool can clear the DTC from the VCM history. The VCM clears the DTC from the VCM history if the vehicle completes 40 warm-up cycles without a failure reported. |
| • | The VCM cancels the DTC default actions when the fault no longer exists and the ignition is OFF long enough in order to power down the VCM. |
| • | Inspect the wiring at the VCM, the transmission connector and all other circuit connecting points for the following conditions: |
| - | A bent terminal |
| - | A backed out terminal |
| - | A damaged terminal |
| - | Poor terminal tension |
| - | A chafed wire |
| - | A broken wire inside the insulation |
| - | Moisture intrusion |
| - | Corrosion |
| • | When diagnosing for an intermittent short or open condition, massage the wiring harness while watching the test equipment for a change. |
| • | An open ignition feed circuit can cause multiple DTCs to set. |
| • | Refer to the Shift Solenoid Valve State and Gear Ratio table. |
The numbers below refer to the step numbers on the diagnostic table.
This step tests the function of the 1-2 SS Valve and the Automatic Transmission Wiring Harness Assembly (A/T Wiring Harness Assembly).
This step tests for power to the 1-2 SS Valve from the ignition through the fuse.
This step tests the ability of the VCM and of the wiring to control the ground circuit.
This step measures the resistance of the A/T Wiring Harness Assembly and of the 1-2 SS Valve.
Step | Action | Value(s) | Yes | No | ||||||
|---|---|---|---|---|---|---|---|---|---|---|
1 | Was the Powertrain On-Board Diagnostic (OBD) System Check performed? | -- | Go to Powertrain On Board Diagnostic (OBD) System Check (4.3L) or Powertrain On Board Diagnostic (OBD) System Check (5.0L, 5.7L) in Engine Controls | |||||||
2 |
Important: Before clearing the DTC(s), use the Scan Tool in order to record the Freeze Frame and Failure Records for reference. Using the Clear Info function will erase the stored Freeze Frame and Failure Records from the VCM. Are DTCs P0740, P0758, P0785, and P1860 also set? | -- | ||||||||
3 |
Refer to General Electrical Diagnosis in Wiring Systems.
Did you find a short to ground condition? | -- | ||||||||
Using the transmission output control function on the Scan Tool , command the 1-2 SS Valve ON and OFF three times while listening to the bottom of the transmission pan (a stethoscope may be necessary). Did the solenoid click when commanded? | -- | Go to Diagnostic Aids | ||||||||
Refer to Automatic Transmission Inline Harness Connector End View . Is the test lamp ON? | -- | |||||||||
6 | Repair the open or short to ground in ignition feed circuit 1020 (PNK) to the 1-2 SS Valve. Refer to Wiring Repairs in Wiring Systems. Did you find and correct an open or short to ground? | -- | -- | |||||||
Does the test lamp illuminate when you command the shift solenoid ON, and does the test lamp turn off when you command the shift solenoid OFF? | -- | |||||||||
8 |
Refer to General Electrical Diagnosis in Wiring Systems. Refer to Wiring Repairs in Wiring Systems. Did you find an open, short to ground or short to power condition? | -- | ||||||||
9 | Replace the VCM. Refer to VCM Replacement/Programming (4.3L) or VCM Replacement/Programming (5.0L, 5.7L) in Engine Controls. Is the replacement complete? | -- | -- | |||||||
Refer to Automatic Transmission Inline Harness Connector End View . Is the resistance within the specified range? | 19-31 ohms | |||||||||
11 |
Is the resistance within the specified range? | 19-31 ohms | ||||||||
12 | Measure the resistance between terminals A and E and ground. Are both readings greater than the specified value? | 250 K ohms | Go to Diagnostic Aids | |||||||
13 |
Are both readings greater than the specified value? | 250 K ohms | ||||||||
14 | Replace the A/T Wiring Harness Assembly. Is the replacement complete? | -- | -- | |||||||
15 | Replace the 1-2 SS Valve. Refer to Control and Shift Solenoids Replacement . Is the replacement complete? | -- | -- | |||||||
16 | In order to verify your repair, perform the following procedure:
Has the test run and passed? | -- | System OK |