GM Service Manual Online
For 1990-2009 cars only

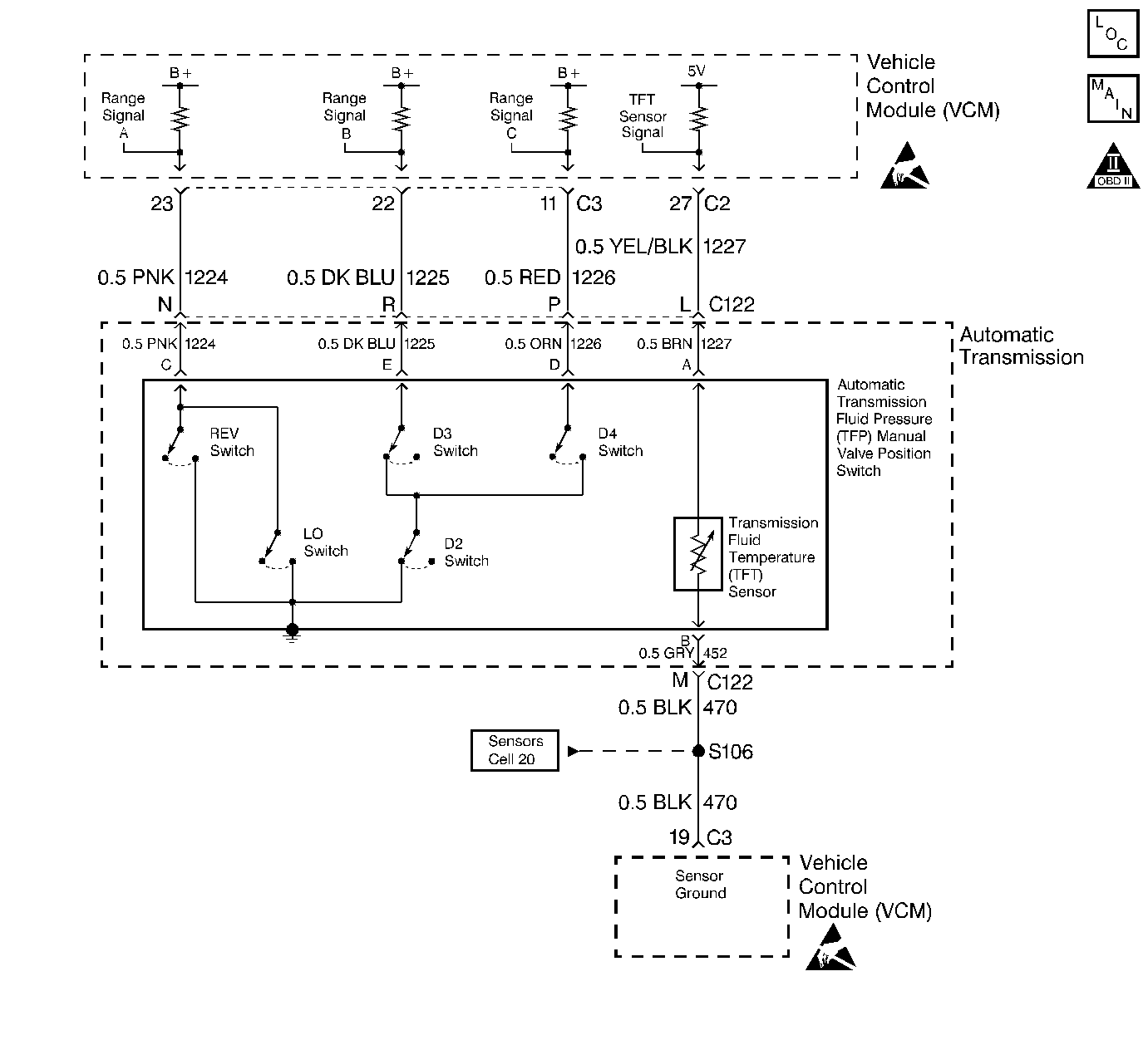
Object Number: 201904  Size: LF
Automatic Transmission Components
Automatic Transmission Controls Schematics 4L60
OBD II Symbol Description Notice
Handling ESD Sensitive Parts Notice
Handling ESD Sensitive Parts Notice

Circuit Description

The Automatic Transmission Fluid Pressure Manual Valve Position Switch (TFP Val. Position Sw.) consists of five pressure switches (two normally-closed and three normally-open), and a Transmission Fluid Temperature (TFT) sensor combined into one unit. The combined unit mounts on the valve body. The Vehicle Control Module (VCM) supplies the battery voltage for each range signal. By grounding one or more of these circuits through various combinations of the pressure switches, the VCM detects which manual valve position you select. The VCM compares the actual voltage combination of the switches to a TFP Val. Position Sw. combination chart stored in memory.

The TFP Val. Position Sw. cannot distinguish between Park and Neutral because the monitored valve body pressures are identical. With the engine OFF and the ignition switch in the RUN position, the TFP Val. Position Sw. indicates Park/Neutral. Disconnecting the transmission 20-way connector removes the ground potential for the three range signals to the VCM. In this case, with the engine OFF, and the ignition switch in the RUN position, D2 will be indicated.

When the VCM detects an invalid state of the TFP Val. Position Sw. or the TFP Val. Position Sw. circuit by deciphering the TFP Val. Position Sw. inputs, then DTC P1810 sets. DTC P1810 is a type B DTC.

Conditions for Setting the DTC

DTC P1810 sets if any of the following fail Conditions occurs two consecutive times:

    • Condition 1 detects an illegal switch combination.
    • Condition 2 detects D2, D4 or Rev during an engine start.
    • Condition 3 detects Park or Neutral when the vehicle should be in D4.

Condition 1

    • The system voltage is 10-16 volts.
    • The engine speed is greater than 450 RPM for 5 seconds.
    • Not in fuel cutoff.
    • The VCM detects an illegal TFP Val. Position Sw. state.
    • All conditions met for 60 seconds.

Condition 2

    • No VSS Assy. DTCs P0502 or P0503.
    • The system voltage is 10-16 volts.
    • The engine speed is less than 80 RPM for 0.1 second; then
        the engine speed is 80-550 RPM for 0.1 second; then
        the engine speed is greater than 550 RPM.
    • The vehicle speed is less than 3 km/h (2 mph).
    • The detected gear range is D2, D4 or Rev. during an engine startup.
    • All conditions met for 5 seconds.

Condition 3

    • No VSS Assy. DTCs P0502 or P0503.
    • The system voltage is 10-16 volts.
    • The TP angle is 10-50%.
    • The VCM commands fourth gear.
    • The engine speed is greater than 450 RPM for 5 seconds.
    • Not in fuel cutoff.
    • The engine torque is 40-400 lb ft.
    • The speed ratio is 0.6-0.75 (speed ratio is engine speed divided by transmission output speed).
    • The TCC is locked ON.
    • The detected gear range is Park or Neutral.
    • All conditions met for 10 seconds.

Action Taken When the DTC Sets

    • The VCM illuminates the Malfunction Indicator Lamp (MIL).
    • The VCM commands D2 line pressure.
    • The VCM commands a D4 shift pattern.
    • The VCM freezes shift adapts from being updated.
    • DTC P1810 stores in VCM history.

Conditions for Clearing the MIL/DTC

    • The VCM turns OFF the MIL after three consecutive trips without a failure reported.
    • A scan tool can clear the DTC from the VCM history. The VCM clears the DTC from the VCM history if the vehicle completes 40 warm-up cycles without a failure reported.
    • The VCM cancels the DTC default actions when the fault no longer exists and the ignition is OFF long enough in order to power down the VCM.

Diagnostic Aids

    • Refer to the Transmission Fluid Pressure (TFP) Manual Valve Position Switch Logic table for the normal range signals and the illegal combinations. On the table, ON is 0 volts, OFF is B+.
    • Inspect the wiring at the VCM, the transmission connector and all other circuit connecting points for the following conditions:
       - A bent terminal
       - A backed out terminal
       - A damaged terminal
       - Poor terminal tension
       - A chafed wire
       - A broken wire inside the insulation
       - Moisture intrusion
       - Corrosion
    • When diagnosing for an intermittent short or open condition, massage the wiring harness while watching the test equipment for a change.
    • Refer to the Transmission Fluid Pressure Manual Valve Position Switch Resistance Check or Functional Test for further information.

Test Description

The numbers below refer to the step numbers on the diagnostic table.

  1. This step compares the indicated range signal to the selected manual valve.

  2. This step tests for correct voltage from the VCM to the transmission 20-way connector.

DTC P1810 Transmission Fluid Pressure Manual Valve Position Switch Circuit Malfunction

Step

Action

Value(s)

Yes

No

1

Was the Powertrain On-Board Diagnostic (OBD) System Check performed?

--

Go to Step 2

Go to Powertrain On Board Diagnostic (OBD) System Check (4.3L) or Powertrain On Board Diagnostic (OBD) System Check (5.0L, 5.7L) in Engine Controls

2

Perform the following inspections:

    • Ensure the transmission linkage from the select lever to the manual valve is adjusted properly.
    • Perform the Transmission Fluid Check .

Did you perform the inspections?

--

Go to Step 3

--

3

  1. Install the Scan Tool .
  2. With the engine OFF, turn the ignition switch to the RUN position.
  3. Important: Before clearing the DTC(s), use the Scan Tool in order to record the Freeze Frame and Failure Records for reference. Using the Clear Info function will erase the stored Freeze Frame and Failure Records from the VCM.

  4. Record the DTC Freeze Frame and Failure Records, then clear the DTC(s).
  5. While the engine is idling at the normal operating temperature, apply the brake pedal.
  6. Select each transmission range: P, R, N, D4, D3, D2 and D1.

Does each selected transmission range match the Scan Tool TFP Switch A/B/C display?

Refer to the Transmission Fluid Pressure (TFP) Manual Valve Position Switch Logic table.

--

Go to Diagnostic Aids

Go to Step 4

4

  1. Turn the ignition OFF.
  2. Disconnect the transmission 20-way connector (additional DTCs may set).
  3. Install the J 39775 Jumper Harness on the engine side of the transmission 20-way connector.
  4. With the engine OFF, turn the ignition switch to the RUN position.
  5. Using the J 39200 Digital Multimeter (DMM) and the J 35616-A Connector Test Adapter Kit, check the voltage at connector terminals N, R and P.

Is B+ displayed on all three circuits?

--

Go to Step 6

Go to Step 5

5

Inspect the circuits that did not indicate B+ for an open or a short to ground condition.

Refer to General Electrical Diagnosis in Wiring Systems.

Did you find an open or short to ground condition?

--

Go to Step 9

Go to Step 7

6

Verify that circuits 1224 (PNK), 1225 (DK BLU) and 1226 (RED) are not shorted together. Use a J 36169-A Fused Jumper Wire to ground on each circuit while monitoring the Scan Tool TFP Switch A/B/C display.

When a range signal circuit is grounded, are any other range signal circuits affected?

--

Go to Step 8

Refer to Transmission Fluid Pressure Manual Valve Position Switch Resistance Check .

7

Replace the VCM.

Refer to VCM Replacement/Programming (4.3L) or VCM Replacement/Programming (5.0L, 5.7L) in Engine Controls.

Is the replacement complete?

--

Go to Step 9

--

8

Repair the affected wiring as necessary.

Refer to Wiring Repairs in Wiring Systems.

Is the repair complete?

--

Go to Step 9

--

9

In order to verify your repair, perform the following procedure:

  1. Select DTC.
  2. Select Clear Info.
  3. Operate the vehicle under the following conditions:
  4. 3.1. With the engine OFF, turn the ignition switch to the RUN position for at least 2 seconds.
    3.2. Start the vehicle and idle for 5 seconds.
    3.3. Drive in D4 until the TCC locks for 10 seconds.
    3.4. Continue to run the engine for at least 60 seconds from startup.
  5. Select Specific DTC.
  6. Enter DTC P1810.

Has the test run and passed?

--

System OK

Begin the diagnosis again. Go to Step 1