GM Service Manual Online
For 1990-2009 cars only

DTC P0753 1-2 Shift Solenoid Circuit Electrical Gas


Object Number: 201451  Size: MF
Automatic Transmission Components
Automatic Transmission Controls Schematics Diesel
OBD II Symbol Description Notice
Handling ESD Sensitive Parts Notice

Circuit Description

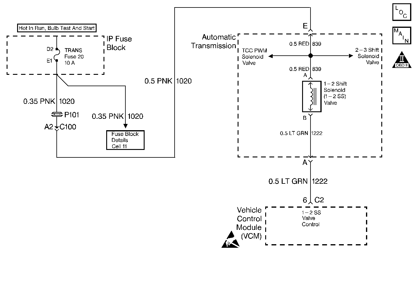
The 1-2 Shift Solenoid Valve (1-2 SS Valve) controls the fluid flow action on the 1-2 and the 3-4 shift valves. The 1-2 SS Valve is a normally-open exhaust valve that is used with the 2-3 Shift Solenoid Valve (2-3 SS Valve) to allow for four different shifting combinations. The 1-2 SS Valve attaches to the control valve body within the transmission. The ignition voltage goes directly to the 1-2 SS Valve. The VCM controls the 1-2 SS Valve by providing the ground path through circuit 1222.

When the Vehicle Control Module (VCM) detects a continuous open or short in the 1-2 SS Valve circuit or the 1-2 SS Valve, then DTC P0753 sets. DTC P0753 is a type D DTC. For California emissions vehicles, DTC P0753 is a type A DTC.

Conditions for Setting the DTC

    • The system voltage is 10-16 volts.
    • The ignition is ON.
    • The engine runs more than 475 RPM for greater than 7 seconds.
    • The above conditions are met, and either of the following conditions occur for 4.3 out of 5 seconds.
       - The VCM commands the solenoid on, and the voltage input remains high (B+).
       - The VCM commands the solenoid off and the voltage input remains low.

Action Taken When the DTC Sets

    • The VCM illuminates the Malfunction Indicator Lamp (MIL) for California Emissions vehicles.
    • The VCM commands maximum line pressure.
    • The VCM freezes shift adapts.
    • The VCM inhibits 3-2 downshifts above 25 MPH.
    • DTC P0753 is stored in VCM history.

Conditions for Clearing the DTC

    • For California emissions, the VCM turns OFF the MIL after three consecutive trips without a failure reported.
    • A scan tool can clear the DTC from the VCM history. The VCM clears the DTC from the VCM history if the vehicle completes 40 warm-up cycles without a failure reported.
    • The VCM cancels the DTC default actions when the fault no longer exists and the ignition is OFF long enough in order to power down the VCM.

Diagnostic Aids

    • Inspect the wiring at the VCM, the transmission connector and all other circuit connecting points for the following conditions:
       - A bent terminal
       - A backed out terminal
       - A damaged terminal
       - Poor terminal tension
       - A chafed wire
       - A broken wire inside the insulation
       - Moisture intrusion
       - Corrosion
    • When diagnosing for an intermittent short or open, massage the wiring harness while watching the test equipment for a change.
    • An open ignition feed on circuit 1020 can cause multiple DTCs to set.
    • First diagnose and clear any engine DTCs or TP Sensor codes that are present. Then inspect for any transmission DTCs that may have reset.
    • Refer to Shift Solenoid Valve State and Gear Ratio table.

Test Description

The numbers below refer to the step numbers on the diagnostic table.

  1. This step tests the function of the 1-2 SS Valve and the internal wiring harness.

  2. This step tests the power to the 1-2 SS Valve from the ignition through the fuse.

  3. This step tests the ability of the VCM and the wiring to control the ground circuit.

  4. This step measures the resistance of the Automatic Transmission Wiring Harness Assembly and the 1-2 SS Valve.

P0753

Step

Action

Value(s)

Yes

No

1

Was the Powertrain On-Board Diagnostic (OBD) System Check performed?

--

Go to Step 2

Go to Powertrain On Board Diagnostic (OBD) System Check (5.7L) or Powertrain On Board Diagnostic (OBD) System Check (7.4L)

2

  1. Install the Scan Tool .
  2. With the engine OFF, turn the ignition switch to the RUN position.
  3. Important: Before clearing the DTCs, use the scan tool in order to record the Freeze Frame and Failure Records for reference. The Clear Info function will erase the stored Freeze Frame and Failure Records from the VCM.

  4. Record the DTC Freeze Frame and Failure Records.

Were DTCs P0753, P0758, or P1860 also set?

--

Go to Step 3

Go to Step 4

3

  1. Inspect the trans. fuse.
  2. If you find an open fuse, inspect the following components for a short to ground:
  3. • Circuit 1020
    • The 3 solenoids
    • The Automatic Transmission Wiring Harness Assembly
  4. Repair the circuit, the solenoid, and replace the harness if necessary.

Refer to Wiring Repairs in Wiring Systems.

Did you find and correct the condition?

--

Go to Step 16

Go to Step 4

4

Using the transmission output control function on the scan tool, command the 1-2 SS Valve ON and OFF three times while listening to the bottom of the transmission pan (use a stethoscope if needed).

Does the solenoid click when commanded?

--

Go to Diagnostic Aids

Go to Step 5

5

  1. Turn the ignition OFF.
  2. Disconnect the transmission 20-way connector Additional DTCs will set.
  3. Install the J 39775 Jumper Harness on the engine harness connector.
  4. With the engine OFF, turn the ignition switch to the RUN position.
  5. Connect a 12 volt test lamp from the J 39775 Jumper Harness cavity E to ground.

Is the test lamp on?

--

Go to Step 7

Go to Step 6

6

Repair the open or high resistance in ignition feed circuit 1020 to the 1-2 SS Valve.

Refer to Wiring Repairs in Wiring Systems.

Did you find and correct the condition?

--

Go to Step 16

--

7

  1. Install a 12 volt test lamp between cavities E and A of the J 39775 Jumper Harness.
  2. Using the transmission output control function, command the 1-2 SS Valve On and Off three times.

Does the test lamp illuminate when you command the shift solenoid ON and turn off when you command the shift solenoid OFF?

--

Go to Step 10

Go to Step 8

8

Inspect circuit 1222 for an open or short to ground.

Refer to General Electrical Diagnosis in Wiring Systems.

Did you find the condition?

--

Go to Step 16

Go to Step 9

9

Replace the VCM.

Refer to VCM Replacement/Programming (5.7L) or VCM Replacement/Programming (7.4L).

Is the replacement complete?

--

Go to Step 16

--

10

  1. Turn the ignition OFF.
  2. Install J 39775 Jumper Harness on the transmission 20-way connector (Automatic Transmission Connector End View).
  3. With the J 39200 DMM and the J 35616 Connector Test Adapter Kit , measure the resistance between terminals A and E.

Is the resistance within the specified values?

19-31Ω

Go to Step 12

Go to Step 11

11

  1. Disconnect the Automatic Transmission Wiring Harness Assembly from the 1-2 SS Valve.
  2. Measure the resistance of the 1-2 SS Valve.

Is the resistance within the specified values?

19-31Ω

Go to Step 14

Go to Step 15

12

  1. Measure the resistance between terminal A and ground. Use the J 39200 DMM.
  2. Measure the resistance between terminal E and ground.

Are both readings greater than the specified value?

250kΩ

Go to Diagnostic Aids

Go to Step 13

13

  1. Disconnect the Automatic Transmission Wiring Harness Assembly from the 1-2 SS Valve.
  2. Measure the resistance from the component's terminals to ground.

Are both readings greater than the specified value?

250kΩ

Go to Step 14

Go to Step 15

14

Replace the Automatic Transmission Wiring Harness Assembly.

Refer to Internal Wiring Harness Replacement, in On-Vehicle Service.

Is the replacement complete?

--

Go to Step 16

--

15

Replace the 1-2 SS Valve.

Refer to Control Valve Body Removal and Disassembly, in On-Vehicle Service.

Is the replacement complete?

--

Go to Step 16

--

16

In order to verify your repair, perform the following procedure:

  1. Select DTC.
  2. Select Clear Info.
  3. Select the parameters 1-2 Sol. and 1-2 Sol. Open/Shorted to GRND, and 1-2 Sol. Shorted to Voltage.
  4. Operate the vehicle under the following conditions:
  5. • The VCM commands the 1-2 SS Valve On, and the 1-2 Sol. Shorted to Voltage is No.
    • The VCM commands the 1-2 SS Valve OFF, and the 1-2 Sol. Open/Shorted to GRND is No.
    • All conditions met for 5 seconds.
  6. Select Specific DTC. Enter DTC P0753.

Has the test run and passed?

--

System OK

Begin the diagnosis again. Go to Step 1

DTC P0753 1-2 Shift Solenoid Circuit Electrical Diesel


Object Number: 40790  Size: MF
Automatic Transmission Components
Automatic Transmission Controls Schematics Diesel
OBD II Symbol Description Notice
Handling ESD Sensitive Parts Notice

Circuit Description

The 1-2 Shift Solenoid Valve (1-2 SS Valve) controls the fluid flow acting on the 1-2 and the 3-4 shift valves. The 1-2 SS Valve is a normally-open exhaust valve that is used with the 2-3 Shift Solenoid Valve (2-3 SS Valve) in order to allow four different shifting combinations. The 1-2 SS Valve attaches to the control valve body within the transmission. The ignition voltage goes directly to the 1-2 SS Valve. The Powertrain Control Module (PCM) controls the 1-2 SS Valve by providing the ground path through circuit 1222.

If the PCM detects a continuous open or short to ground in the 1-2 SS Valve circuit or the 1-2 SS Valve, then DTC P0753 sets. DTC P0753 is a type A DTC.

Conditions for Setting the DTC

    • The engine runs more than 475 RPM for greater than 7 seconds.
    • System voltage is 9.0-16.0 volts.
    • The PCM detects either of the following fail conditions for 4.3 out of 5 seconds.
       - The PCM commands the Solenoid ON and the voltage input remains high (B+).
       - The PCM commands the Solenoid OFF and the voltage input remains low (0 volts).

Action Taken When the DTC Sets

    • The PCM illuminates the Malfunction Indicator Lamp (MIL).
    • The PCM commands maximum line pressure.
    • The PCM freezes shift adapts.
    • DTC P0753 is stored in PCM history.

Conditions for Clearing the MIL/DTC

    • The PCM turns OFF the MIL after three consecutive trips without a failure reported.
    • A scan tool can clear the DTC from the PCM history. The PCM clears the DTC from the PCM history if the vehicle completes 40 warm-up cycles without a failure reported.
    • The PCM cancels the DTC default actions when the fault no longer exists and the ignition is OFF long enough in order to power down the PCM.

Diagnostic Aids

    • Inspect the wiring at the PCM, the transmission connector and all other connecting points for the following conditions:
       - A bent terminal
       - A backed out terminal
       - A damaged terminal
       - Poor terminal tension
       - A chafed wire
       - A broken wire inside the insulation
       - Moisture intrusion
       - Corrosion
    • When diagnosing for an intermittent short or open, massage the wiring harness while watching the test equipment for a change.
    • An open ignition feed circuit can cause multiple DTCs to set.
    • First diagnose and clear any engine DTCs that are present. Then inspect for any transmission DTCs that may have reset.
    • Refer to Shift Solenoid Valve State and Gear Ratio table.

Test Description

The numbers below refer to the step numbers on the diagnostic table.

  1. This step tests the function of the 1-2 SS Valve and the Automatic Transmission Wiring Harness Assembly.

  2. This step tests the power to the 1-2 SS Valve from the ignition through the fuse.

  3. This step tests the ability of the PCM and the wiring to control the ground circuit.

  4. This step measures the resistance of the Automatic Transmission Wiring Harness Assembly and the 1-2 SS Valve.

P0753

Step

Action

Value(s)

Yes

No

1

Was the Powertrain On-Board Diagnostic (OBD) System Check performed?

--

Go to Step 2

Go to Powertrain On Board Diagnostic (OBD) System Check

2

  1. Install the Scan Tool .
  2. With the engine OFF, turn the ignition switch to the RUN position.
  3. Important: Before clearing the DTCs, use the scan tool in order to record the Freeze Frame and Failure Records for reference. Using the Clear Info function will erase the stored Freeze Frame and Failure Records from the PCM.

  4. Record the DTC Freeze Frame and Failure Records, then clear the DTC.

Are DTCs P0758 or P1860 also set?

--

Go to Step 3

Go to Step 4

3

  1. Inspect the trans. fuse for an open.
  2. If you found an open fuse, inspect circuit 1020, the three solenoids, and the Automatic Transmission Wiring Harness Assembly for a short to ground. Refer to General Electrical Diagnosis Procedures.

Did you find and correct the condition?

--

Go to Step 16

Go to Step 5

4

Using the transmission output control function on the scan tool, command the 1-2 SS Valve ON and OFF three times while listening to the bottom of the transmission pan (use a stethoscope if needed).

Does the solenoid click when commanded?

--

Go to Diagnostic Aids

Go to Step 5

5

  1. Turn the ignition OFF.
  2. Disconnect the transmission 20-way connector (additional DTCs will set).
  3. Install the J 39775 Jumper Harness on the engine side of the 20-way connector.
  4. With the engine OFF, turn the ignition switch to the RUN position.
  5. Connect a test lamp from the J 39775 Jumper Harness cavity E to a good ground.

Is the test lamp on?

--

Go to Step 7

Go to Step 6

6

Repair the open or short to ground in ignition feed circuit 1020 to the 1-2 SS Valve.

Refer to Wiring Repairs.

Did you find and correct the condition?

--

Go to Step 16

--

7

  1. Install a test lamp between cavity E and cavity A of the J 39775 Jumper Harness.
  2. Using the transmission output control function on the scan tool, command the 1-2 SS Valve On and Off three times.

Does the test lamp illuminate when the shift solenoid is commanded ON and turn off when the shift solenoid is commanded OFF?

--

Go to Step 10

Go to Step 8

8

Inspect circuit 1222 for an open or short to ground.

Refer to General Electrical Diagnosis Procedures.

Did you find the condition?

--

Go to Step 16

Go to Step 9

9

Replace the PCM.

Refer to Powertrain Control Module Replacement/Programming .

Is the replacement complete?

--

Go to Step 16

--

10

  1. Turn the ignition OFF.
  2. Install J 39775 Jumper Harness on the transmission 20-way connector.
  3. With the J 39200 DMM and the J 35616 Connector Test Adapter Kit, measure the resistance between terminals A and E.

Is the resistance within the specified value?

19-31Ω

Go to Step 12

Go to Step 11

11

  1. Disconnect the Automatic Transmission Wiring Harness Assembly from the 1-2 SS Valve.
  2. Measure the resistance of the 1-2 SS Valve.

Is the resistance within the specified values?

19-31Ω

Go to Step 14

Go to Step 15

12

Measure the resistance between terminals A and E and a good ground.

Are both reading greater than the specified value?

250kΩ

Go to Diagnostic Aids

Go to Step 13

13

  1. Disconnect the Automatic Transmission Wiring Harness Assembly from the 1-2 SS Valve.
  2. Measure the resistance from the 1-2 SS Valve terminals to a good ground.

Are both readings greater than the specified value?

250kΩ

Go to Step 14

Go to Step 15

14

Replace the Automatic Transmission Wiring Harness Assembly.

Refer to Internal Wiring Harness Replacement, in On-vehicle Service.

Is the replacement complete?

--

Go to Step 16

--

15

Replace the 1-2 SS Valve.

Refer to Control Valve Body Removal and Disassembly, in On-Vehicle Service.

Is the replacement complete?

--

Go to Step 16

--

16

In order to verify your repair, perform the following procedure:

  1. Select DTC.
  2. Select Clear Info.
  3. Select the parameters 1-2 Sol. and 1-2 Sol. Open/Shorted to GRND, and 1-2 Sol. Shorted to Voltage.
  4. Operate the vehicle under the following conditions:
  5. • The PCM commands the 1-2 SS Valve On, and the 1-2 Sol. Shorted to Voltage is No.
    • The PCM commands the 1-2 SS Valve OFF, and the 1-2 Sol. Open/Shorted to GRND is No.
    • All conditions are met for 5 seconds.
  6. Select Specific DTC. Enter DTC P0753.

Has the test run and passed?

--

System OK

Begin the diagnosis again. Go to Step 1