GM Service Manual Online
For 1990-2009 cars only

Removal Procedure


    Object Number: 348612  Size: SH
  1. Raise and suitably support the vehicle. Refer to Lifting and Jacking the Vehicle in General Information.
  2. Remove the propeller shaft. Refer to Two-Piece Propeller Shaft Replacement .
  3. Remove the center bearing.
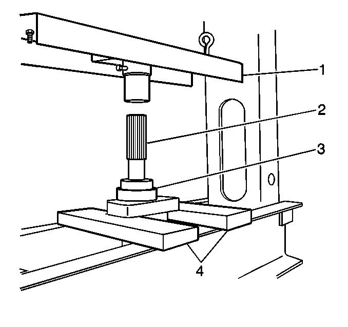
  4. • Stand the propeller shaft (2) on end in the press (1) with the center bearing (3) supported by the press bars (4).
    • Press the propeller shaft (2) down and off the center bearing (3).

Installation Procedure


    Object Number: 348612  Size: SH

    Important: The center bearing must be aligned in order to prevent damage to the propeller shaft assembly. When bolting the center bearing in place, be sure to keep the center bearing perpendicular (89-91 degrees) to the propeller shaft.

  1. Install the center bearing (3) onto the propeller shaft (2) by pressing the center bearing onto the shaft using a press (1).
  2. Install the propeller shaft. Refer to Two-Piece Propeller Shaft Replacement .
  3. Lower the vehicle.