GM Service Manual Online
For 1990-2009 cars only

Tools Required

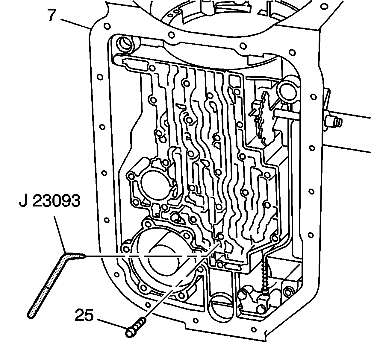
J 23093 Center Support Alignment Tool


    Object Number: 28737  Size: SH

    Important: If the center support assembly has been reconditioned, you must use a new yellow-colored center support bolt in order to maintain proper bolt torque.

  1. Using the J 23093 , locate the center support 2nd clutch fluid passage through the hole in the case bottom. Refer to Transmission Component Location , Case Fluid Passages illustration.
  2. Push the J 23093 toward the low and reverse band servo bore, seating the center support splines against the case splines.
  3. Notice: Use the correct fastener in the correct location. Replacement fasteners must be the correct part number for that application. Fasteners requiring replacement or fasteners requiring the use of thread locking compound or sealant are identified in the service procedure. Do not use paints, lubricants, or corrosion inhibitors on fasteners or fastener joint surfaces unless specified. These coatings affect fastener torque and joint clamping force and may damage the fastener. Use the correct tightening sequence and specifications when installing fasteners in order to avoid damage to parts and systems.

  4. Install the new center support bolt (25).
  5. Tighten
    Maintain pressure on J 23093 while tightening the new center support bolt to 43 N·m (32 lb ft). Do not overtighten.

  6. Ensure that the center support bolt head is seated to the bottom of the case.

  7. Object Number: 657979  Size: SH
  8. Install a new rear oil cooler pipe fitting seal (91) onto the rear oil cooler pipe fitting (90).
  9. Install the rear oil cooler pipe fitting (90) into the transmission case.
  10. Tighten
    Tighten the fitting to 35 N·m (26 lb ft).