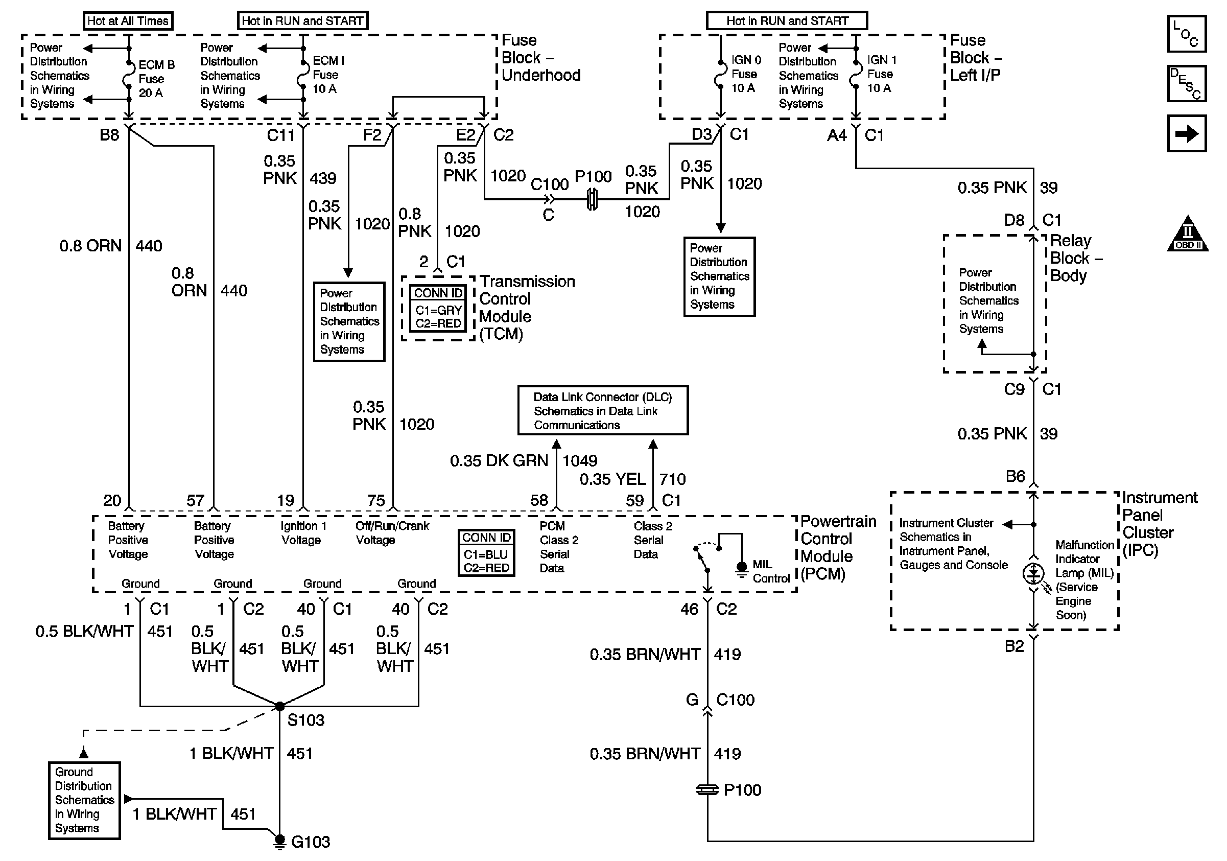
| Figure 1: |
Module Power, Ground, Serial Data, and MIL
|
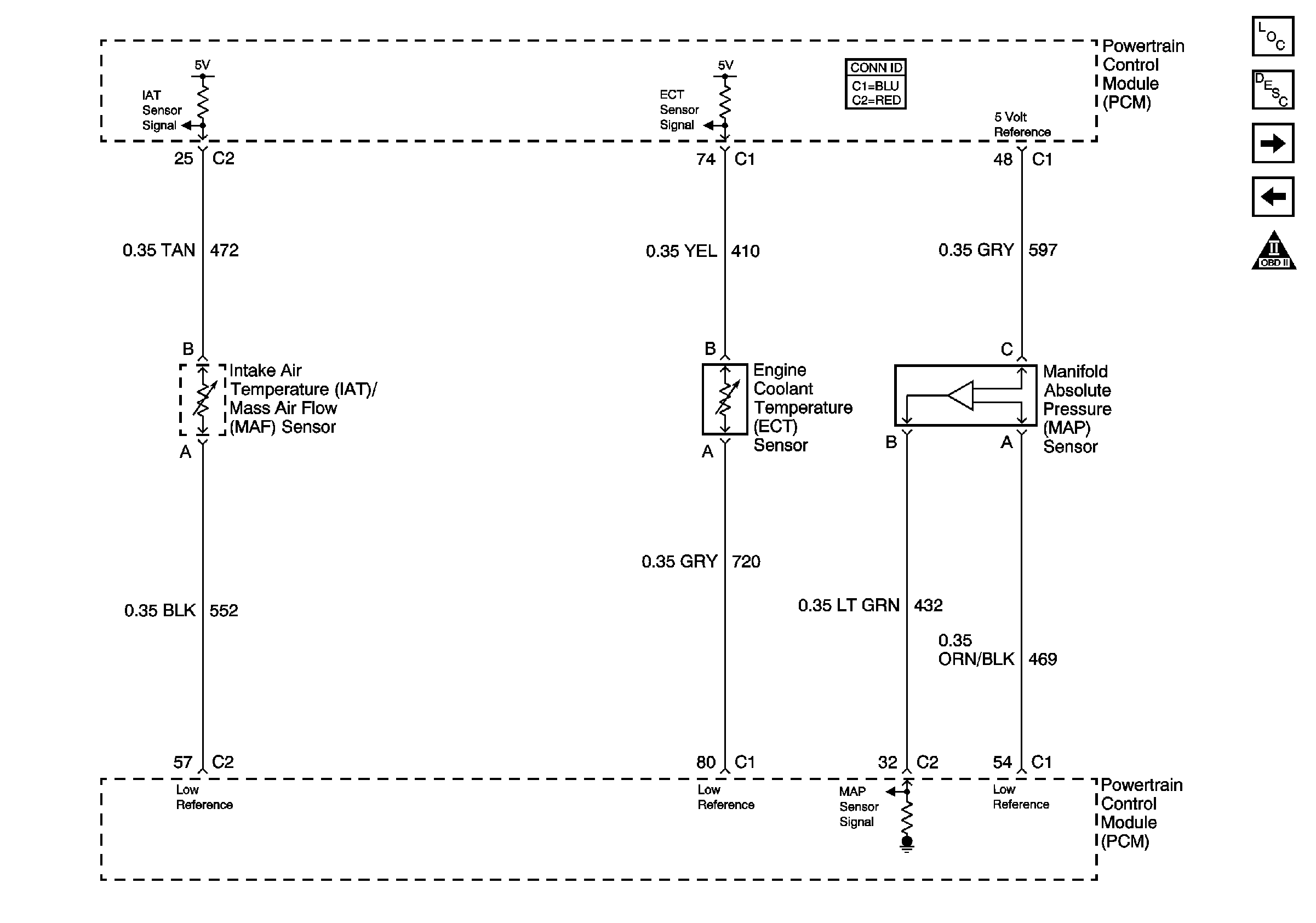
| Figure 2: |
Engine Data Sensors - Pressure and Temperature
|
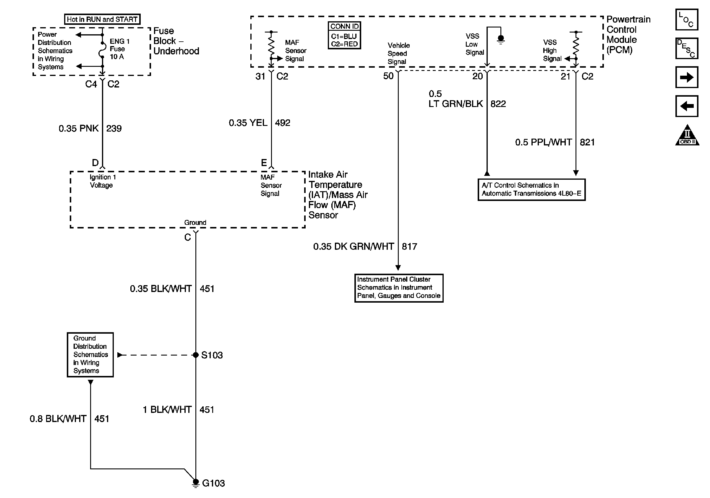
| Figure 3: |
Engine Data Sensors - MAF and VSS
|
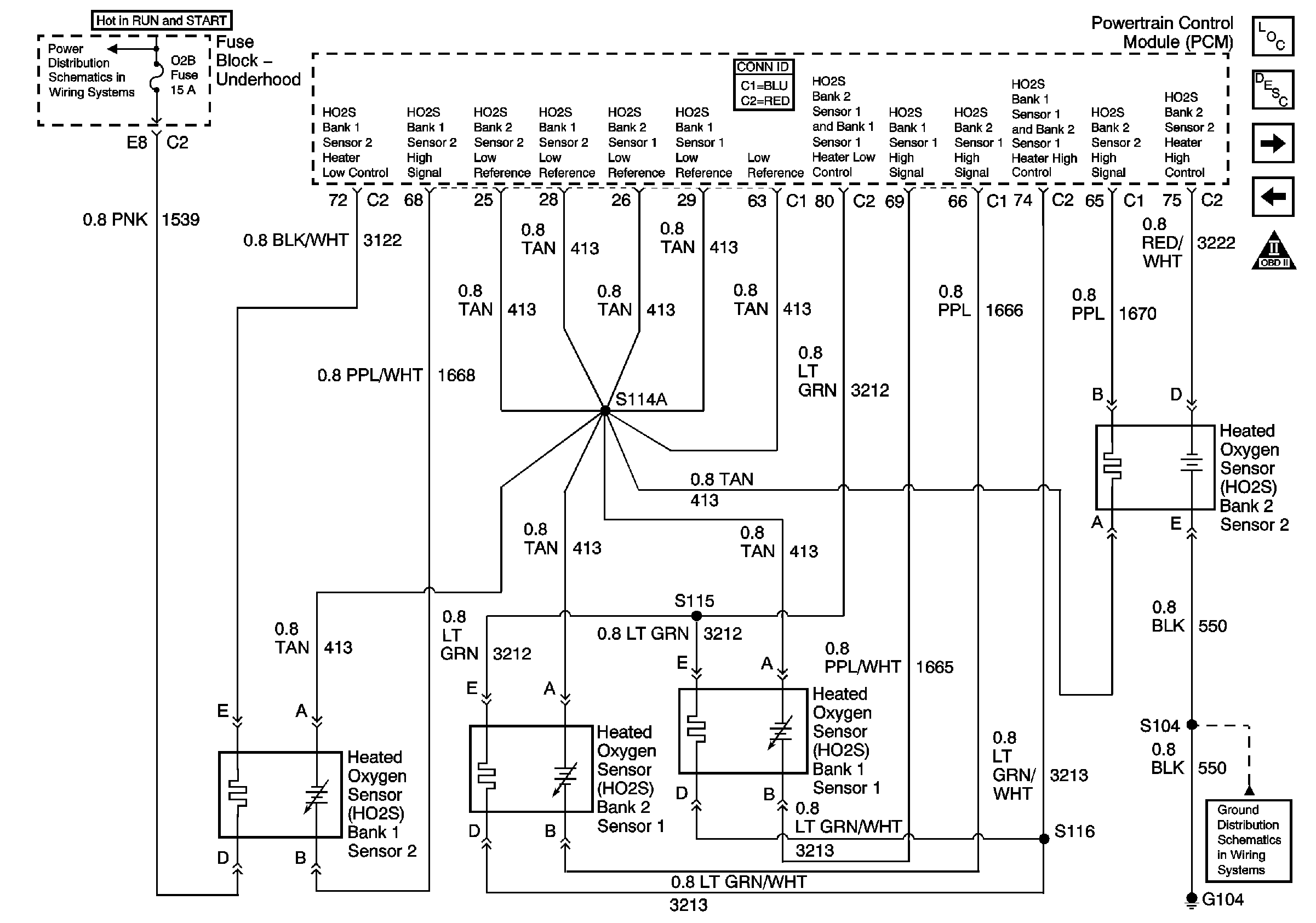
| Figure 4: |
Engine Data Sensors - HO2S
|
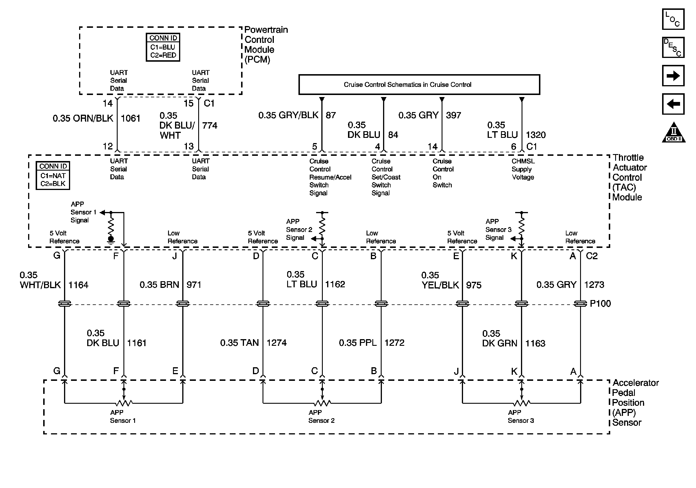
| Figure 5: |
Engine Data Sensors - Electronic Throttle Controls - Accelerator Pedal
Position Sensor
|
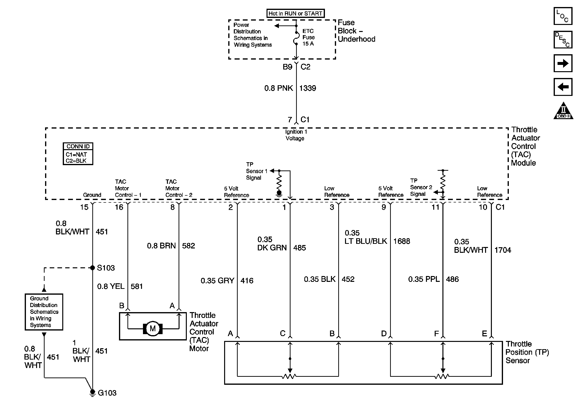
| Figure 6: |
Engine Data Sensors - Electronic Throttle Controls - TAC Motor and
TP Sensor
|
| Figure 7: |
Ignition Controls - Cylinders 2, 4, 6, and 8
|
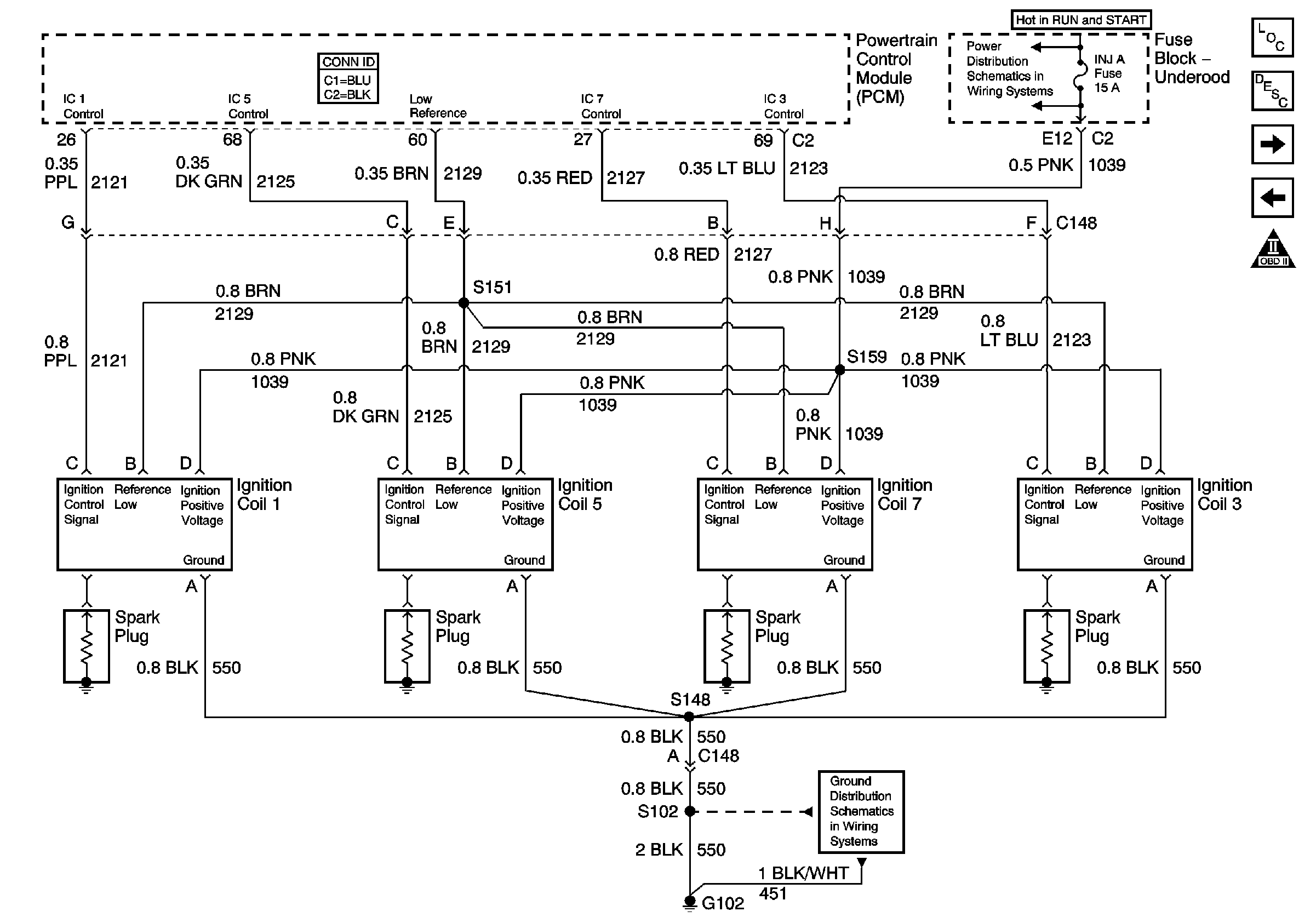
| Figure 8: |
Ignition Controls - Cylinders 1, 3, 5, and 7
|
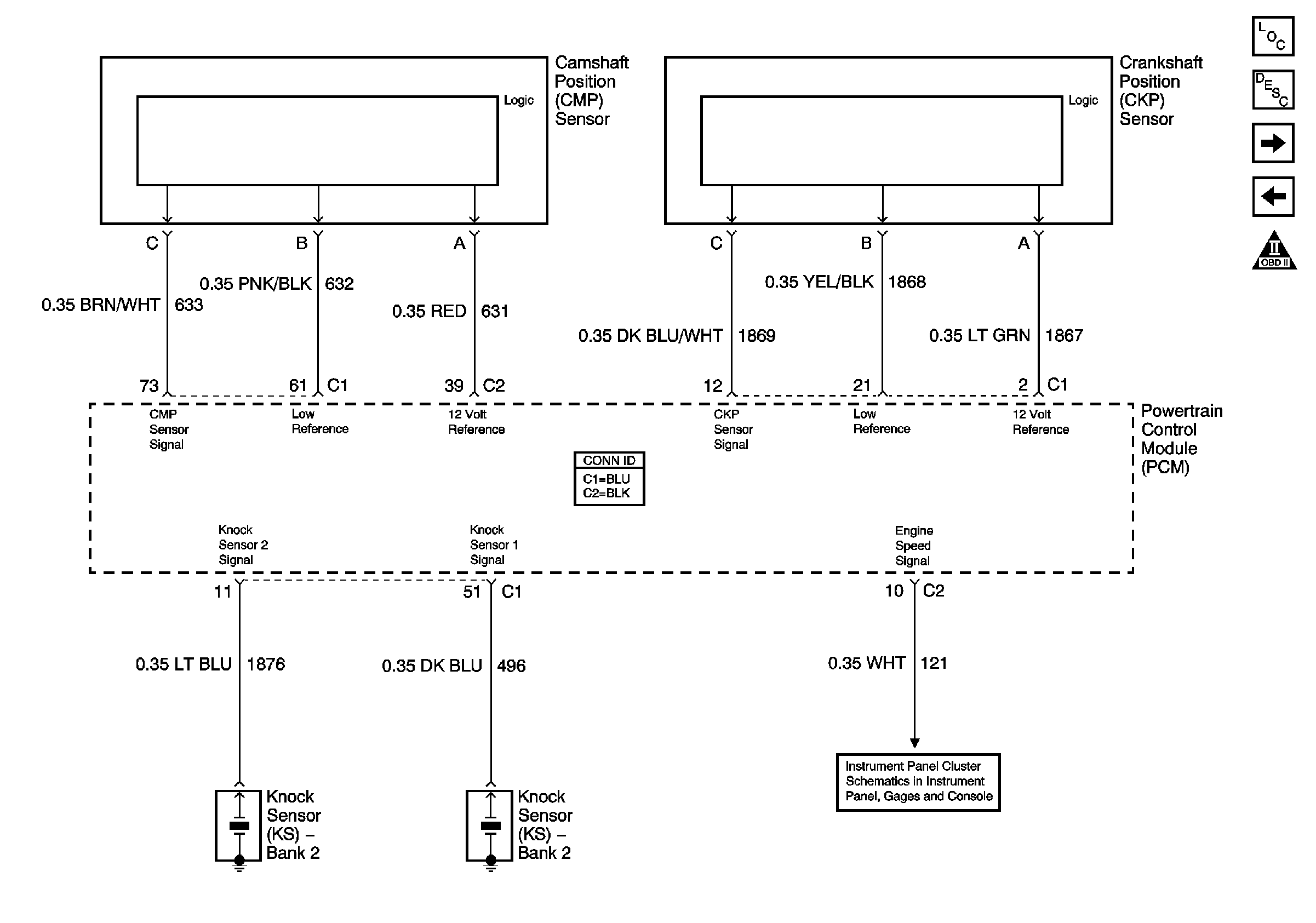
| Figure 9: |
Ignition Controls - Sensors
|
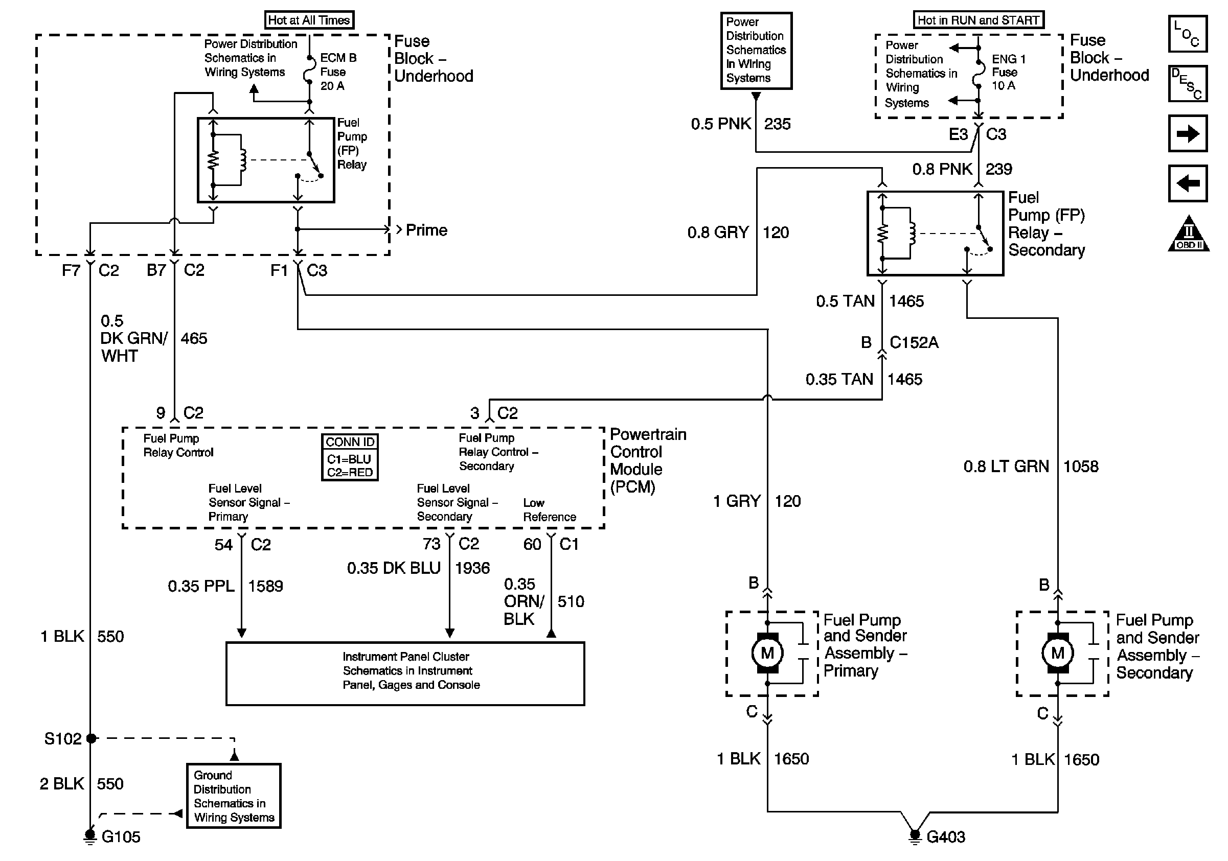
| Figure 10: |
Fuel Controls - Fuel Pump Controls
|
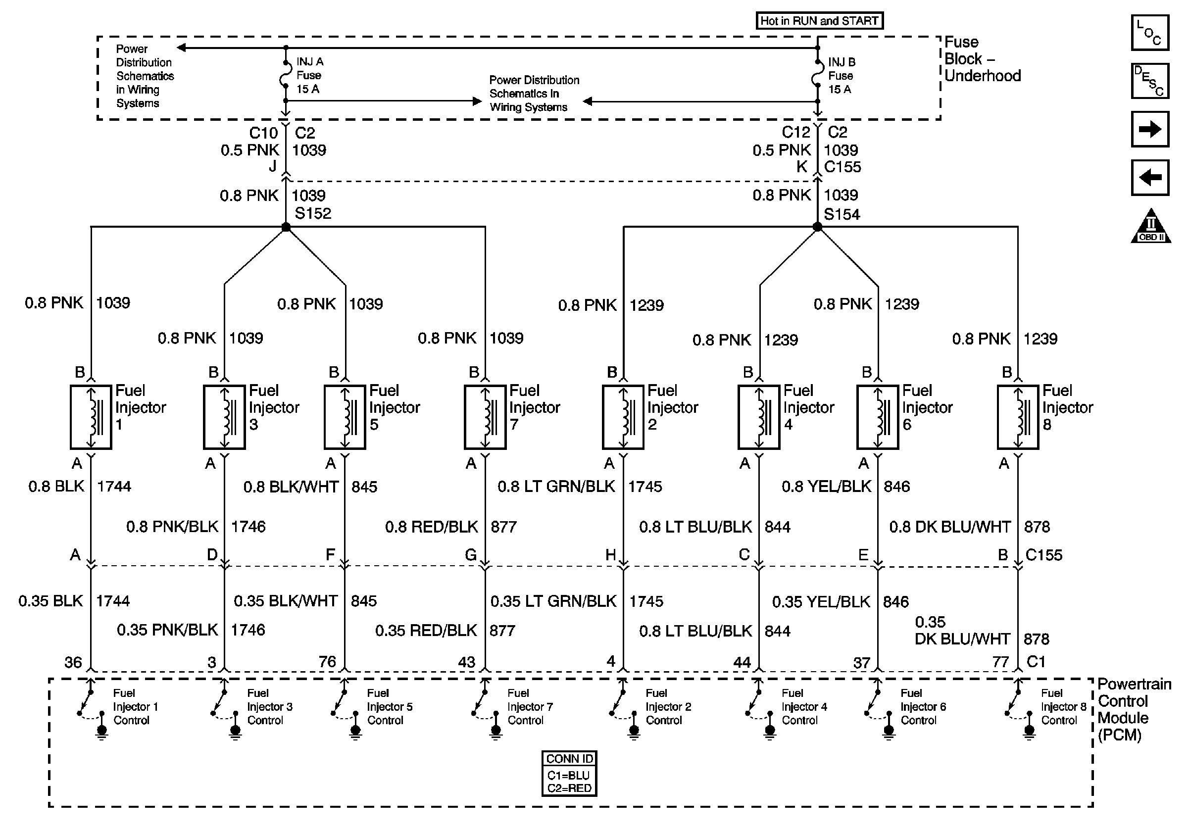
| Figure 11: |
Fuel Controls - Fuel Injectors
|
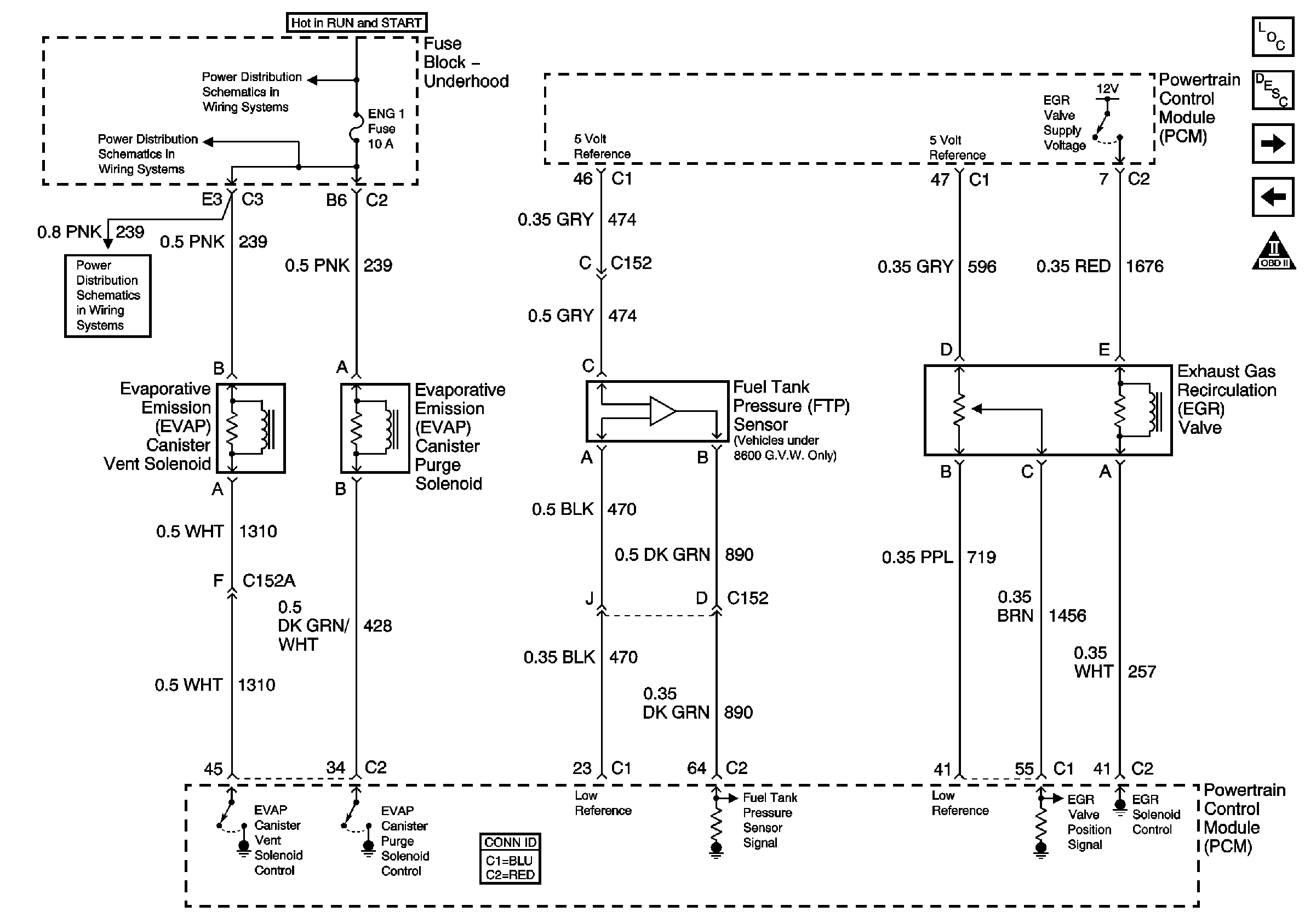
| Figure 12: |
Fuel Controls - EVAP Controls and EGR
|
| Figure 13: |
Controlled/Monitored Subsystem References
|
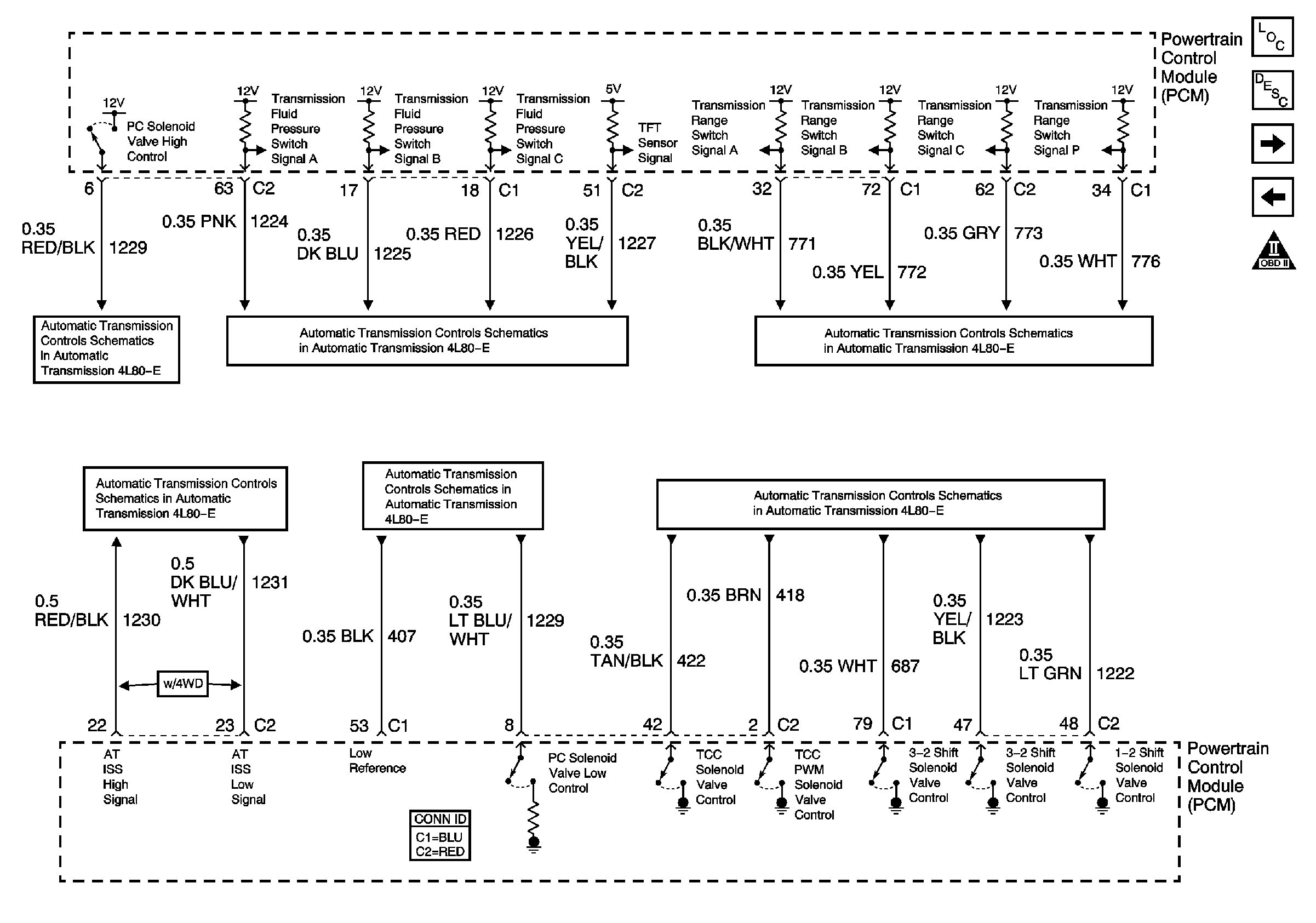
| Figure 14: |
Transmission Controls A/T
|