GM Service Manual Online
For 1990-2009 cars only
Makes
🢒
Chevrolet
🢒
2002
🢒
Chevy Suburban - 2WD
🢒 Suspension Level Control
Suspension Level Control
Suspension Level Control
Master Electrical Component List
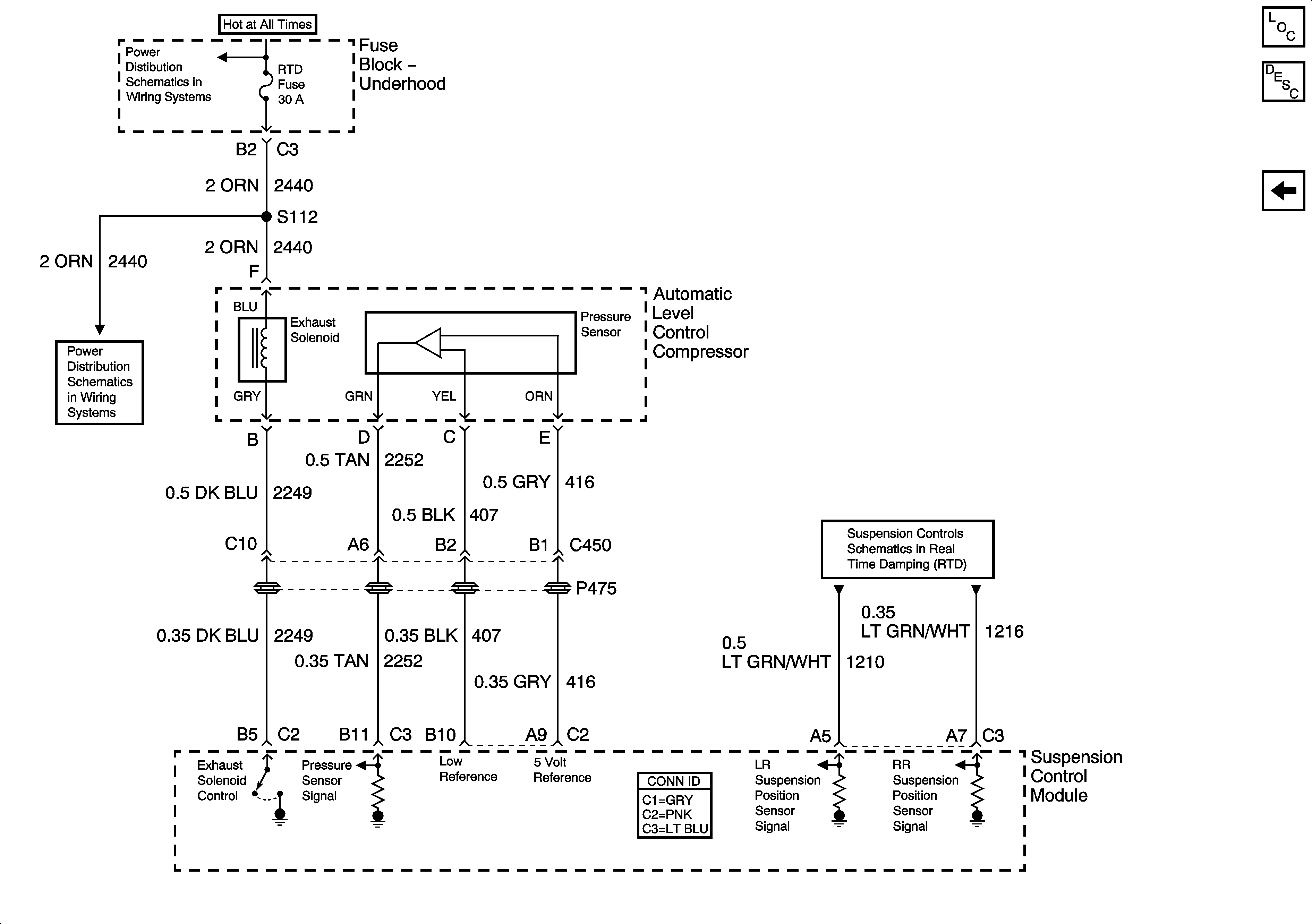
Automatic Level Control Description and Operation
Compressor Control
RTD, RDO AMP, CRANK, and IGN 0 Fuses
Suspension Position Sensors
RTD, RDO AMP, CRANK, and IGN 0 Fuses