GM Service Manual Online
For 1990-2009 cars only

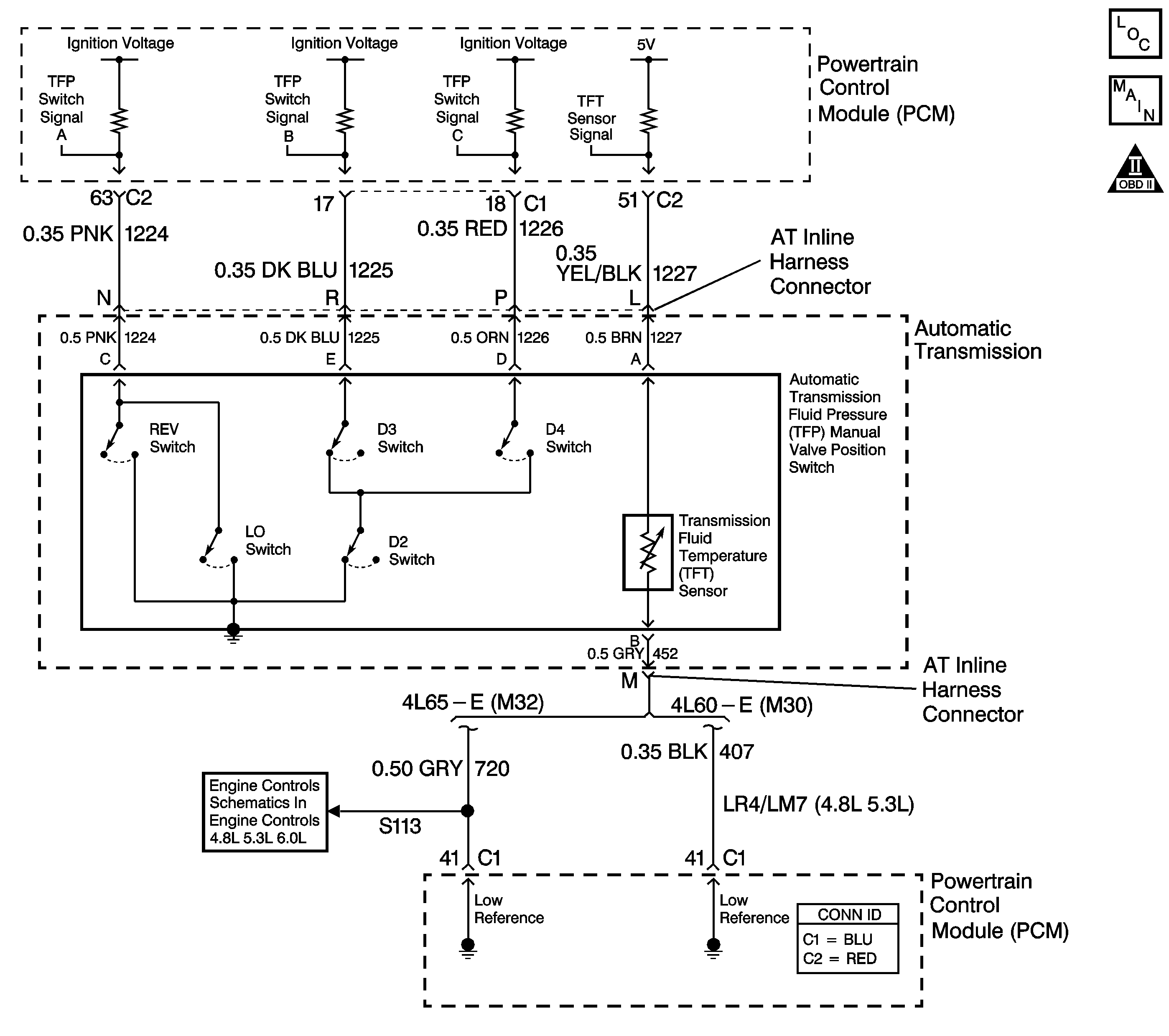
Object Number: 803816  Size: LF
Master Electrical Component List
Automatic Transmission Controls Schematics
OBD II Symbol Description Notice

Circuit Description

The automatic transmission fluid temperature (TFT) sensor is part of the automatic transmission fluid pressure (TFP) manual valve position switch. The TFT sensor is a resistor, or thermistor, which changes value based on temperature. The sensor has a negative-temperature coefficient. This means that as the temperature increases, the resistance decreases, and as the temperature decreases, the resistance increases. The powertrain control module (PCM) supplies a 5-volt reference signal to the sensor on the TFT sensor signal circuit and measures the voltage drop in the circuit. When the transmission fluid is cold, the sensor resistance is high and the PCM detects high signal voltage. As the fluid temperature warms to a normal operating temperature, the resistance becomes less and the signal voltage decreases. The PCM uses this information to control shift quality and torque converter clutch apply.

When the PCM detects one of the following unusual conditions, then DTC P0711 sets.

    • An unrealistically large change in transmission temperature
    • A transmission temperature which remains constant for a period of time in which a measurable amount of change is expected

DTC P0711 is a type C DTC.

Conditions for Running the DTC

    • No VSS assembly DTCs P0502 or P0503.
    • No Transmission Component Slipping DTC P1870.
    • The system voltage is 10-18 volts.
    • The engine is running for 409 seconds.
    • The engine coolant temperature (ECT) is greater than 84°C (151°F) and the temperature has changed by 54°C (97°F) since startup.
    • The vehicle speed is greater than 8 km/h (5 mph) for 409 seconds cumulative during the current ignition cycle.
    • The TFT at startup is between -40 and +21°C (-40 and +70°F).
    • The TFT is between -38 and +151°C (-36 and +304°F).
    • The TCC slip speed is greater than 120 RPM for 409 seconds cumulative during the current ignition cycle.

Conditions for Setting the DTC

DTC P0711 sets if one of the following conditions occurs:

Condition 1

The TFT does not change more than 2.25°C (2.7°F) for 409 seconds since startup.

Condition 2

The TFT changes more than 20°C (36°F) in 200 milliseconds 14 times within 7 seconds.

Action Taken When the DTC Sets

    • The PCM does not illuminate the malfunction indicator lamp (MIL).

       Important: The actions listed below are in order of highest to lowest priority.

    • The PCM determines a default TFT using one of the following:
        1. If any ECT DTCs P0117 or P0118 are set, then the default TFT is equal to 135°C (275°F).
        2. If the ECT is 125°C (257°F) or more, then the default TFT is equal to 135°C (275°F).
        3. If the engine run time is less than 300 seconds and:
   • No intake air temperature (IAT) DTCs P0112 or P0113 are set and IAT is available, then the default TFT is equal to IAT.
   • Any IAT DTCs P0112 or P0113 are set or IAT is NOT available, then the default TFT is equal to 90°C (194°F).
        4. If the engine run time is greater than 300 seconds and no IAT DTCs P0112 or P0113 are set and IAT is available and ECT is between 40 and 125°C (104 and 257°F) and:
   • IAT at startup is less than 15°C (59°F), then the default TFT is equal to the ECT plus 5°C (8°F).
   • IAT at startup is greater than 35°C (95°F), then the default TFT is equal to the ECT plus 10°C (16°F).
   • IAT at startup is between 15 and 35°C (59 and 95°F), then the default TFT is equal to the ECT.
        5. If the engine run time is greater than 300 seconds and any IAT DTCs P0112 or P0113 are set or IAT is NOT available, then the default TFT is equal to the ECT.
        6. If the engine run time is greater than 300 seconds and ECT is less than 40°C (104°F) or more, then the default TFT is equal to 60°C (140°F).
    • The PCM freezes shift adapts from being updated.
    • The PCM records the operating conditions when the Conditions for Setting the DTC are met. The PCM stores this information as Failure Records.
    • The PCM stores DTC P0711 in PCM history.

Conditions for Clearing the DTC

    • A scan tool can clear the DTC.
    • The PCM clears the DTC from PCM history if the vehicle completes 40 warm-up cycles without a non-emission-related diagnostic fault occurring.
    • The PCM cancels the DTC default actions when the fault no longer exists and/or the ignition switch is OFF long enough in order to power down the PCM.

Test Description

The numbers below refer to the step numbers on the diagnostic table.

  1. This step tests for an intermittent short or open condition in the engine wiring harness. The test lamp is used as a resistor in the circuit.

  2. This step determines if the PCM or the TFT sensor is causing a steady, unchanging TFT reading.

DTC P0711

Step

Action

Value(s)

Yes

No

1

Did you perform the Powertrain Diagnostic System Check?

--

Go to Step 2

Go to Diagnostic System Check - Engine Controls in Engine Controls - 4.8 L, 5.3 L and 6.0 L

2

Inspect for correct transmission fluid level.

Refer to Transmission Fluid Check .

Did you perform the fluid checking procedure?

--

Go to Step 3

Go to Transmission Fluid Check

3

  1. Install a scan tool.
  2. Turn ON the ignition, with the engine OFF.
  3. Important: Before clearing the DTC, use the scan tool in order to record the Failure Records. Using the Clear Info function erases the Failure Records from the PCM.

  4. Record the DTC Failure Records.
  5. Clear the DTC.
  6. Select Trans. Fluid Temp. on the scan tool.
  7. Drive the vehicle and observe the scan tool for either of the following conditions:
  8. • The Trans. Fluid Temp. does not change more than 1.50°C (2.7°F) in 409 seconds since startup.
    • The Trans. Fluid Temp. changes more than 20°C (36°F) in 200 milliseconds 14 times within 7 seconds.

Did either of the conditions occur?

--

Go to Step 4

Go to Intermittent Conditions in Engine Controls - 4.8 L, 5.3 L and 6.0 L

4

Did the scan tool display a condition in which the Trans. Fluid Temp. does not change by more than the specified value in 409 seconds since startup?

1.50°C (2.7°F)

Go to Step 6

Go to Step 5

5

  1. Turn OFF the ignition.
  2. Disconnect the AT inline 20-way connector, additional DTCs may set.
  3. Install the J 44152 Jumper Harness (20 pins) on the engine side of the AT inline 20-way connector.
  4. Using the J 35616 GM Terminal Test Kit, connect a test lamp from terminal L to terminal M of the J 44152 .
  5. Refer to Automatic Transmission Inline Harness Connector End View .

  6. Turn ON the ignition, with the engine OFF.
  7. While observing the scan tool display, move or wiggle the engine wiring harness from PCM connectors C1 and C2 to the AT inline 20-way connector.

Does the scan tool Trans. Fluid Temp. change by more than the specified value?

20°C (36°F)

Go to Step 7

Go to Step 8

6

  1. Turn OFF the ignition.
  2. Disconnect the AT inline 20-way connector.
  3. Turn ON the ignition, with the engine OFF.

Does the scan tool display the same condition as in Step 4?

--

Go to Step 11

Go to Step 10

7

  1. Test the signal circuit (CKT 1227) of the TFT sensor for an intermittent open or short condition between the PCM connector C2 and the AT inline 20-way connector.
  2. Test the low reference circuit (CKT 407/720) of the TFT sensor for an intermittent open or short condition.
  3. Refer to Circuit Testing and Wiring Repairs in Wiring Systems.

Did you find and correct the condition?

--

Go to Step 12

Go to Step 11

8

  1. Test the signal circuit (CKT 1227) of the TFT sensor for an intermittent open or short condition between the AT inline 20-way connector and the TFT sensor.
  2. Test the low reference circuit (CKT 452) of the TFT sensor for an intermittent open or short condition.

Refer to Circuit Testing and Wiring Repairs in Wiring Systems.

Did you find an intermittent open or short condition?

--

Go to Step 9

Go to Step 10

9

Replace the AT wiring harness assembly.

Refer to Valve Body and Pressure Switch Replacement .

Did you complete the replacement?

--

Go to Step 12

--

10

Replace the TFT sensor, this sensor is part of the TFP manual valve position switch.

Refer to Valve Body and Pressure Switch Replacement .

Did you complete the replacement?

--

Go to Step 12

--

11

Replace the PCM.

Refer to Powertrain Control Module Replacement in Engine Controls - 4.8 L, 5.3 L and 6.0 L.

Did you complete the replacement?

--

Go to Step 12

--

12

Perform the following procedure in order to verify the repair:

  1. Select DTC.
  2. Select Clear Info.
  3. Drive the vehicle and ensure that the following conditions are met:
  4. • The Trans. Fluid Temp. changes by more than 2.25°C (4°F) for 11 seconds since startup
    • The Trans. Fluid Temp. does not change by more than 20°C (36°F) within 200 milliseconds for a period of at least 11 seconds
  5. Select Specific DTC.
  6. Enter DTC P0711.

Has the test run and passed?

--

System OK

Go to Step 1