DT-47723 Output Shaft Bearing Installer
Important: The retaining ring is a selected fit. Always install a NEW retaining ring.
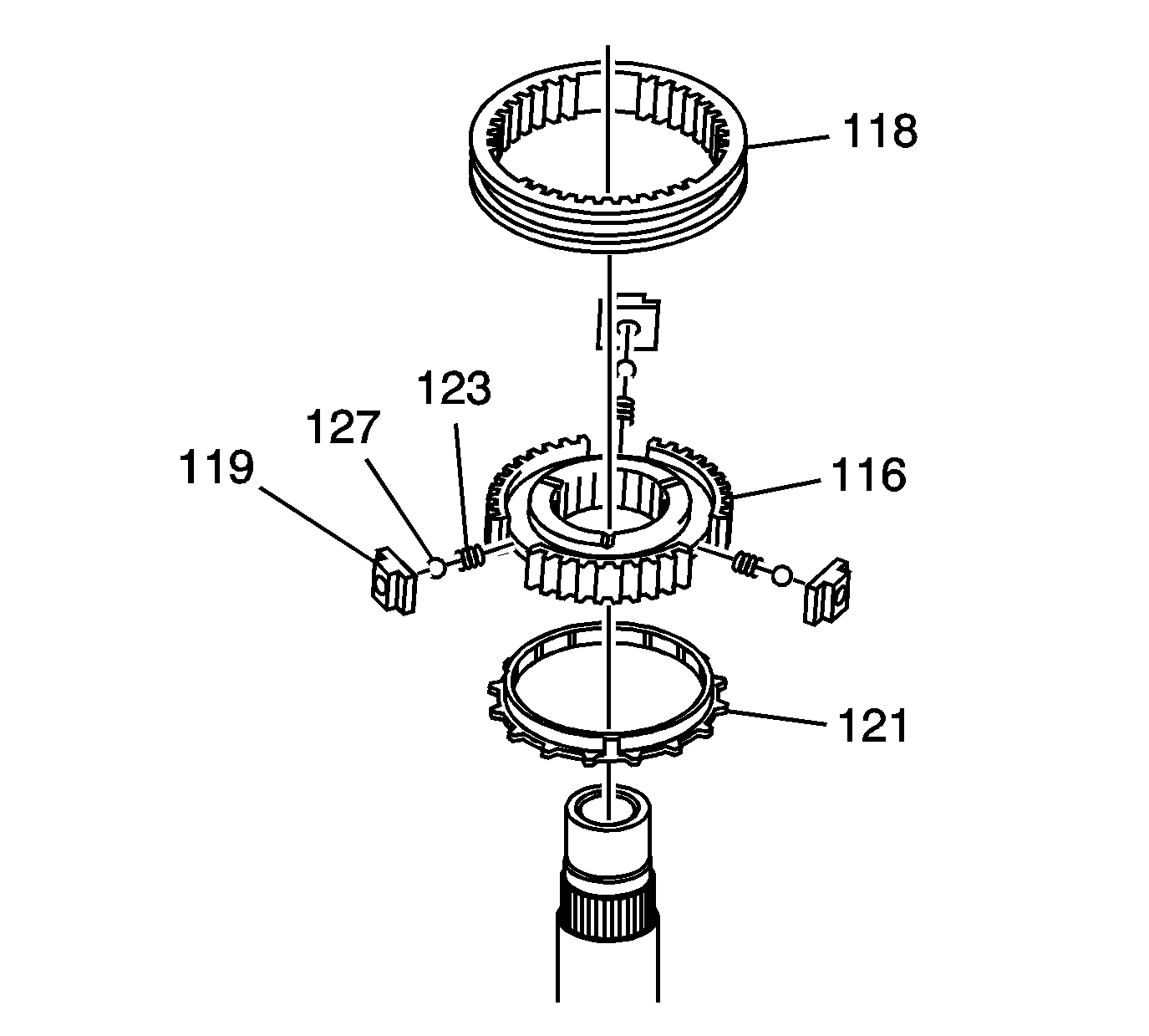
| • | the blocking ring (121) |
| • | the 3rd/4th gear synchronizer hub (116) including the spring (123), detent ball (127) and insert (119) |
| • | the 3rd/4th gear synchronizer sleeve (118) with the higher boss facing the front |
Important: The retaining ring is a selected fit. Always install a NEW retaining ring.
| • | 3rd/4th gear spacer (190) |
| • | 3rd gear bearing (132) |
| • | 3rd gear blocking ring (104) |
| • | Install and align the 3rd gear (197) |
| • | Locating pin (192) |
| • | Install and align the 3rd gear thrust washer (113) |
Important: The retaining ring is a selected fit. Always install a NEW retaining ring.
Important: The retaining ring is a selected fit. Always install a NEW retaining ring.