GM Service Manual Online
For 1990-2009 cars only

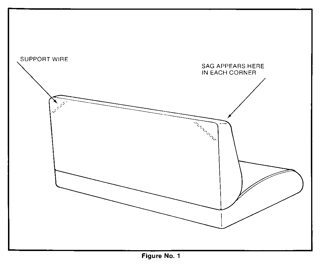
SAG IN UPPER CORNERS OF THIRD SEAT BACK

Some 1985-87 Suburbans may experience a sagging condition in the upper corners of the third bench seat backs as shown in Figure No. 1. This sagging condition is due to a lack of support in this area. To repair this condition, the following procedure can be used.

PROCEDURE

1. Remove seat back from vehicle. 2. Remove seat back cover and cushion. 3. Shape two 7" pieces of #7 5/32" welding rod as shown in Figure No. 2 4. Position the shaped rod on the inside upper corners of the seat back frame rails at a 45 degree angle as shown in Figure No. 3.

NOTE: The rod must be centered in the middle of the top and side frame rail.

5. Mark the position of the rod on the frame rail where the rod is to be welded. Remove the paint on the frame rail down to bare metal 1/4" on either side of the rod. 6. Using a suitable clamping tool, secure each end of the rod to the bare metal area of the seat frame rail. 7. Use a mig welder with .035" wire to weld the rod ends to the seat frame rail. 8. Grind the welds smooth. 9. Paint affected areas. 10. Repeat Steps 4 - 9 on the opposite side of the seat frame. 11. Reinstall the seat back cushion and seat cover. 12. Reattach the seat back to the seat in the vehicle.

This condition was corrected in production beginning with the following VIN breakpoints:

Chevrolet HF145562 GMC HF520714

The new seat back can be identified by a diagonal support wire in the upper corners as shown in Figure No. 1. This support wire can be felt through the seat back cover.

Labor Op C8160 should be used when performing this repair. The repair time is 0.8 hrs.


Object Number: 80505  Size: FS


Object Number: 79279  Size: FS


Object Number: 79278  Size: FS

General Motors bulletins are intended for use by professional technicians, not a "do-it-yourselfer". They are written to inform those technicians of conditions that may occur on some vehicles, or to provide information that could assist in the proper service of a vehicle. Properly trained technicians have the equipment, tools, safety instructions and know-how to do a job properly and safely. If a condition is described, do not assume that the bulletin applies to your vehicle, or that your vehicle will have that condition. See a General Motors dealer servicing your brand of General Motors vehicle for information on whether your vehicle may benefit from the information.