GM Service Manual Online
For 1990-2009 cars only

    Object Number: 40613  Size: SH

    Caution: Valve springs can be tightly compressed. Use care when removing retainers and plugs. Personal injury could result.

  1. Remove the pressure control solenoid clamp bolt (310) and clamp (321).
  2. Remove the pressure control solenoid (320).
  3. Inspect the solenoid for a plugged or damaged screen.

  4. Object Number: 40614  Size: SH
  5. Remove the TCC PWM solenoid retainer (322).
  6. Remove the TCC PWM solenoid (323).
  7. Remove the TCC regulator apply valve pin (303). Use a drill bit to remove the spring pin.
  8. Remove the TCC regulator apply valve (324).
  9. Remove the TCC regulator apply valve spring (325).
  10. Inspect the valve for porosity, scoring, and nicks.
  11. Inspect the spring for distortion.

  12. Object Number: 40615  Size: SH
  13. Remove the actuator limit valve spring retainer (333).
  14. Remove the actuator limit valve spring (327).
  15. Remove the actuator limit valve (328).
  16. Inspect the valve for porosity, scoring, and nicks.
  17. Inspect the spring for distortion.

  18. Object Number: 40616  Size: SH
  19. Remove the accumulator valve bore plug retainer pin (303).
  20. Remove the accumulator valve bore plug (329).
  21. Remove the accumulator valve spring (330).
  22. Remove the accumulator valve (331).
  23. Inspect the valve and plug for porosity, scoring, and nicks.
  24. Inspect the spring for distortion.

  25. Object Number: 40617  Size: SH
  26. Remove the pressure control solenoid fluid filter (302).
  27. Inspect the filter for damage.

  28. Object Number: 40618  Size: SH
  29. Remove the low-reverse ball valve seat pin (318).
  30. Remove the low-reverse ball valve seat (304).
  31. Remove the low-reverse ball valve (305).
  32. Inspect the valve seat for porosity, scoring, and nicks.

  33. Object Number: 40619  Size: SH
  34. Remove the shift valve fluid filter bore plug pin (303).
  35. Remove the shift valve fluid filter bore plug (316).
  36. Remove the shift valve fluid filter (317).
  37. Inspect the filter for damage.
  38. Inspect the bore plug for porosity, scoring, and nicks.

  39. Object Number: 40620  Size: SH
  40. Remove the 1-2 shift valve solenoid bolt (310).
  41. Remove the 1-2 shift valve solenoid (313).
  42. Remove the 1-2 shift valve pin (303).
  43. Remove the 1-2 shift valve (314).
  44. Remove the 1-2 shift valve spring (315).
  45. Inspect the valve for porosity, scoring, and nicks.
  46. Inspect the spring for distortion.

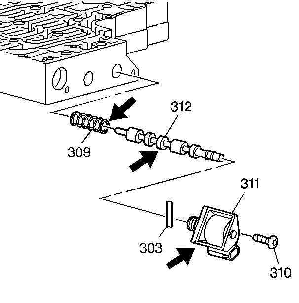
  47. Object Number: 40621  Size: SH
  48. Remove the 2-3 shift valve solenoid bolt (310).
  49. Remove the 2-3 shift valve solenoid (311).
  50. Remove the 2-3 shift valve pin (303).
  51. Remove the 2-3 shift valve (312).
  52. Remove the 2-3 shift valve spring (309).
  53. Inspect the valve for porosity, scoring, and nicks.
  54. Inspect the spring for distortion.

  55. Object Number: 40622  Size: SH
  56. Remove the third-reverse ball valve seat pin (303).
  57. Remove the reverse ball valve bushing (334).
  58. Remove the third-reverse ball valve (305).
  59. Remove the third ball valve bushing (335) and seal (307).
  60. Remove the 3-4 shift valve (308).
  61. Remove the 3-4 shift valve spring (309).
  62. Inspect the busings and the valve for porosity, scoring, and nicks.
  63. Inspect the spring for distortion.