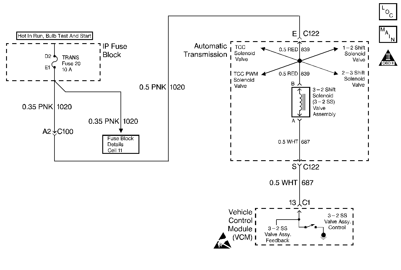
The 3-2 Shift Solenoid Valve Assembly (3-2 SS Valve Assy.) is a normally-closed, 3-port, on/off device that controls the 3-2 downshift. The solenoid attaches to the control valve body within the transmission. The solenoid receives ignition voltage through circuit 1020. The Vehicle Control Module (VCM) controls the solenoid by providing a ground path on circuit 687. During a 3-2 downshift, the 2-4 band applies as the 3-4 clutch releases. The VCM varies the timing between the 3-4 clutch release and the 2-4 band apply, depending on the vehicle speed and the throttle position.
When the VCM detects a continuous open or short to ground in the 3-2 SS Valve Assy. circuit or the 3-2 SS Valve Assy., then DTC P0785 sets. DTC P0785 is a type A DTC.
| • | The system voltage is 10-16 volts. |
| • | The engine speed is greater than 450 RPM for 5 seconds. |
| • | Not in fuel cutoff. |
| • | All of the above conditions are met for 5 seconds, and either of the following fail conditions occurs for 5 seconds: |
| - | The VCM commands the solenoid ON and the voltage input remains high (B+). |
| - | The VCM commands the solenoid OFF and the voltage input remains low (0 volts). |
| • | The VCM illuminates the Malfunction Indicator Lamp (MIL). |
| • | The VCM commands a soft landing to third gear. |
| • | The VCM commands maximum line pressure. |
| • | The VCM inhibits TCC engagement. |
| • | The VCM inhibits 4th gear if the transmission is in hot mode. |
| • | The VCM freezes shift adapts from being updated. |
| • | DTC P0785 stores in VCM history. |
| • | The VCM turns OFF the MIL after three consecutive trips without a failure reported. |
| • | A scan tool can clear the DTC from the VCM history. The VCM clears the DTC from the VCM history if the vehicle completes 40 warm-up cycles without a failure reported. |
| • | The VCM cancels the DTC default actions when the fault no longer exists and the ignition is OFF long enough in order to power down the VCM. |
| • | Inspect the wiring at the VCM, the transmission connector and all other circuit connecting points for the following conditions: |
| - | A bent terminal |
| - | A backed out terminal |
| - | A damaged terminal |
| - | Poor terminal tension |
| - | A chafed wire |
| - | A broken wire inside the insulation |
| - | Moisture intrusion |
| - | Corrosion |
| • | When diagnosing for an intermittent short or open condition, massage the wiring harness while watching the test equipment for a change. |
The item numbers below refer to the step numbers on the diagnostic table.
This step tests the ability of the VCM to control the solenoid.
This step tests for voltage to the solenoid.
This step tests the ability of the VCM and the wiring to control the ground circuit.
This step measures the resistance of the Automatic Transmission Wiring Harness Assembly (A/T Wiring Harness Assembly), and the 3-2 SS Valve Assembly.
Step | Action | Value(s) | Yes | No | ||||||
|---|---|---|---|---|---|---|---|---|---|---|
1 | Were you sent here from the Powertrain On-Board Diagnostic (OBD) System Check? | -- | Go to Powertrain On Board Diagnostic (OBD) System Check (4.3L) or Powertrain On Board Diagnostic (OBD) System Check (5.0L, 5.7L) in Engine Controls | |||||||
2 |
Important: Before clearing the DTC(s), use the Scan Tool in order to record the Freeze Frame and Failure Records for reference. Using the Clear Info function will erase the stored Freeze Frame and Failure Records from the VCM. Are DTCs P0740, P0753, P0758 and P1860 also set? | -- | ||||||||
3 |
Did you find a short to ground condition? | -- | ||||||||
Using the transmission output control function on the Scan Tool , command the 3-2 SS Valve Assembly ON and OFF three times, while listening to the bottom of the transmission pan (a stethoscope may be necessary). Does the solenoid click when commanded? | -- | Go to Diagnostic Aids | ||||||||
Refer to Automatic Transmission Inline Harness Connector End View . Does the test lamp illuminate? | -- | |||||||||
6 | Repair the open or short to ground in ignition feed circuit 1020 (PNK) to the 3-2 SS Valve Assembly. Refer to Wiring Repairs in Wiring Systems. Did you find and correct an open or short to ground condition? | -- | -- | |||||||
Does the test lamp illuminate when you command the shift solenoid ON, and turn OFF when you command OFF? | -- | |||||||||
8 |
Refer to General Electrical Diagnosis in Wiring Systems. Refer to Wiring Repairs in Wiring Systems. Did you find an open, short to ground or short to power condition? | -- | ||||||||
9 | Replace the VCM. Refer to VCM Replacement/Programming (4.3L) or VCM Replacement/Programming (5.0L, 5.7L) in Engine Controls. Is the replacement complete? | -- | -- | |||||||
Refer to Automatic Transmission Inline Harness Connector End View . Is the resistance within the specified range? | 20-32 ohms | |||||||||
11 |
Is the resistance within the specified range? | 20-32 ohms | ||||||||
12 |
Are both measurements greater than the specified value? | 250 K ohms | Go to Diagnostic Aids | |||||||
13 |
Are both readings greater than the specified value? | 250 K ohms | ||||||||
14 | Replace the A/T Wiring Harness Assembly. Is the replacement complete? | -- | -- | |||||||
15 | Replace the 3-2 Shift Solenoid Valve Assembly. Refer to Control and Shift Solenoids Replacement . Is the replacement complete? | -- | -- | |||||||
16 | In order to verify your repair, perform the following procedure:
Has the test run and passed? | -- | System OK |