GM Service Manual Online
For 1990-2009 cars only

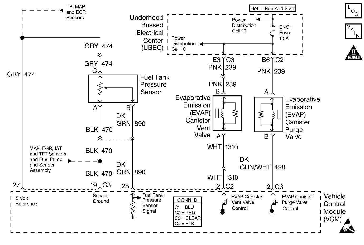
Object Number: 356006  Size: MF
Cell 20: Vehicle Control Module, Exhaust Gas Recirculation Valve
Handling ESD Sensitive Parts Notice
Engine Controls Components
OBD II Symbol Description Notice

Circuit Description

The evaporative system includes the following components:

    • The fuel tank
    • The EVAP vent solenoid
    • The fuel tank pressure sensor
    • The fuel pipes and hoses
    • The vapor lines
    • The fuel cap
    • The evaporative emission canister
    • The purge lines
    • The EVAP purge solenoid

The evaporative leak detection diagnostic strategy is based on applying a vacuum to the EVAP system and monitoring the vacuum decay rate. The VCM monitors the vacuum level via the fuel tank pressure sensor input. At an appropriate time, the EVAP purge solenoid and the EVAP vent solenoid turn ON, allowing the engine vacuum to draw a small vacuum on the entire evaporative emission system. If a sufficient vacuum level cannot be achieved, a large leak or a malfunctioning EVAP purge solenoid is indicated. The following conditions can cause this problem:

    • A disconnected or malfunctioning fuel tank pressure sensor
    • A missing, malfunctioning, improperly installed, or loose fuel cap
    • A disconnected, damaged, pinched, or blocked EVAP purge line
    • A disconnected or damaged EVAP vent hose
    • A disconnected, damaged, pinched, or blocked fuel tank vapor line
    • A disconnected or malfunctioning EVAP purge solenoid
    • A disconnected or malfunctioning EVAP vent solenoid
    • An open ignition feed circuit to the EVAP vent or purge solenoid
    • A damaged EVAP canister
    • A leaking fuel sender assembly O-ring
    • A leaking fuel tank or fuel filler neck

Any of the above conditions can set a DTC P0440.

Important: An accurate indication of fuel level is required for the VCM to properly pass or fail this DTC. Always diagnose fuel level sensor DTC's before performing the EVAP System check. Always check for fuel level sensor DTC's stored in history.

Check for the following conditions:

    • A loose, missing, damaged, incorrect or improperly installed fuel cap
    • Missing or damaged O-rings at EVAP canister fuel vapor and purge line fittings
    • A cracked or punctured EVAP canister
    • A damaged or disconnected EVAP purge line, vent hose or fuel tank vapor line
    • Incorrectly routed or defective EVAP system purge and vapor lines
    • A poor connection at the VCM: Inspect the harness connectors for the following conditions:
       - Backed out terminals
       - Improper mating
       - Broken locks
       - Improperly formed or damaged terminals
       - poor terminal to wire connection
    • A damaged harness: Inspect the wiring harness to the EVAP vent solenoid, EVAP purge solenoid and the fuel tank pressure sensor for an intermittent open or short circuit
    • A kinked, pinched or plugged EVAP purge or fuel tank vapor line. Verify that the lines are not restricted

Refer to Evaporative Emission System Cleaning before starting repairs.

Test Description

Number(s) below refer to the step number(s) on the Diagnostic Table.

  1. Inspect the service port. Make sure that the valve core is not damaged. If the service port is suspect of leakage use the following procedure:

    Disconnect the purge line from the EVAP Purge solenoid valve.

    Connect a hand vacuum pump to the service port by placing the hose/adaptor over the unthreaded end portion of the service port.

    Apply vacuum to 5 in. Hg. If the vacuum does not hold replace the entire purge line which contains the service port.

  2. If the vehicle passes the Service Bay Test then an intermittent leak or restriction had occurred. Check the fuel tank cap for a possible loose or off condition that may have caused this DTC to set.

    If the Service Bay Test can not be run, proceed to Step 5. If a fault is not currently present the diagnostic table steps will return you to Step 3.

  3. Refer to the information supplied with the EVAP pressure/purge diagnostic cart on proper setup and adjustment procedures.

  4. With pressure applied it may be necessary to disconnect the EVAP lines at the components to verify that a line or component is not restricted. A restriction would prevent a vacuum (or the Step 9 test pressure) from forming in the fuel tank.

  5. An EVAP Pressure sensor that does not correctly respond to vacuum (or pressure) will cause this DTC to set.

    The EVAP Pressure Sensor monitors a range from 7.5 in. H2O of pressure to -17.5 in. H2O of pressure (vacuum).

Step

Action

Value(s)

Yes

No

1

Did you perform the Powertrain On-board Diagnostic (OBD) System check?

--

Go to Step 2

Go to Powertrain On Board Diagnostic (OBD) System Check

2

Check for DTCs P0440, P0442, P0446, P0452, P0453, P0461, P0462, P0463 and P1441.

Are any of the above EVAP system DTCs stored in HISTORY?

--

Go to the DTCs that are set

Go to Step 3

3

Inspect the EVAP system for the following conditions:

    • A loose, incorrect, defective or missing fuel tank cap.
    • Improperly routed, kinked or damaged EVAP system purge lines.
    • A damaged EVAP system component.
    • A loose, missing or damaged service port dust cap and/or schrader valve. Refer to Test Descriptions.

Repair the EVAP system if needed.

Was a repair made to the EVAP system?

--

Go to Step 25

Go to Step 4

4

Important: : Before proceeding with the Service Bay Test the vehicle must meet the following operating criteria:

   • Clear DTC Information.
   • Battery voltage between 10.5 and 17.5 volts.
   • Fuel level between 15% and 85%.
   • Key ON engine temperature is less than 80°C (176°F).

If any of the above conditions are not met the scan tool will display Test Aborted upon activating the Service Bay Test.

  1. Record the data stored when the DTC set and clear codes.
  2. Using the scan tool, perform the Service Bay Test for the EVAP system.

Does the vehicle pass the Service Bay Test?

--

Condition not present. Go to Test Description and Diagnostic Aids

Go to Step 5

5

  1. Turn OFF the ignition.
  2. Connect a vacuum gauge (in. Hg.) directly to the purge connection of the EVAP Purge Solenoid Valve.
  3. Start and idle the engine.
  4. Using a scan tool command the EVAP Purge Solenoid Valve to 100% purge.

Is the vacuum at or above the specified value?

12  in Hg

Go to Step 6

Go to Step 11

6

  1. Turn the ignition OFF.
  2. Disconnect the fuel tank vapor and the EVAP purge line from the EVAP vapor canister.
  3. Plug the canister fitting for the fuel tank vapor line.
  4. Connect a hand vacuum pump to the EVAP Purge line canister fitting.
  5. With the ignition ON, command the EVAP Vent Valve ON (closed) with the scan tool.
  6. Using the hand vacuum pump apply vacuum up to the specified value.

Can the specified value be obtained and held?

5 in Hg

Go to Step 9

Go to Step 7

7

  1. Leave system connected as in Step 6.
  2. Disconnect the vent line at the EVAP Vent Valve.
  3. Plug the vent line.
  4. Using the hand vacuum pump apply vacuum up to the specified value.

Can the specified value be obtained and held?

5 in Hg

Go to Step 15

Go to Step 8

8

  1. Inspect the EVAP Vent line from the canister to the EVAP Vent Valve for leaks.
  2. Replace if necessary.

Was a problem found and repaired?

--

Go to Step 25

Go to Step 21

9

Important: The following steps require the EVAP pressure/purge diagnostic station J 41413 and the ultrasonic leak detector J 41416.

Always zero the EVAP Pressure and Vacuum (in. H2O) gauges on the EVAP pressure/purge diagnostic station before proceeding with diagnosis.

  1. Turn the ignition OFF.
  2. Remove the plug and the hand vacuum pump.
  3. Reconnect the EVAP vapor canister purge and tank vent lines.
  4. Connect the EVAP pressure/purge diagnostic station J 41413 to the EVAP system service port.
  5. Using a scan tool command the EVAP Vent Valve Closed.
  6. Important: Do Not apply more than 15 in H2O of pressure to the EVAP system.

  7. Continuously attempt to pressurize the EVAP system by leaving the EVAP pressure/purge diagnostic station control knob in the pressurize position.
  8. Using the ultrasonic leak detector J 41416 locate and repair EVAP system leak.

Was a leak found and repaired?

--

Go to Step 25

Go to Step 10

10

  1. Check the EVAP system for restrictions. Refer to test description.
  2. Repair as necessary.

Was a problem found and repaired?

--

Go to Step 25

Go to Step 22

11

  1. Turn ON the ignition, leave engine OFF. Disconnect the EVAP purge solenoid valve connector.
  2. Connect a test light between the purge solenoid ignition feed circuit and a known good engine ground.

Is the test light ON?

--

Go to Step 12

Go to Step 13

12

  1. Connect the test light between the EVAP solenoid ignition feed circuit and the EVAP solenoid control circuit.
  2. Use the scan tool to command the EVAP solenoid ON.

Is the test light ON?

--

Go to Step 19

Go to Step 14

13

  1. Check for and repair the cause of no power to the EVAP purge solenoid ignition feed circuit.
  2. Possible cause include the following:
  3. • Open ignition feed circuit
    • shorted ignition feed circuit (open fuse)
    • shorted EVAP purge solenoid (open fuse)
    • No power to EVAP purge solenoid fuse (open maxi fuse, fuse link, etc.).

Is the repair complete?

--

Go to Step 25

--

14

  1. Inspect the EVAP purge solenoid control circuit for an open condition.
  2. Repair as necessary.

Was a problem found and repaired?

--

Go to Step 25

Go to Step 24

15

  1. Turn ON the ignition leaving the engine OFF. Disconnect the EVAP canister vent valve connector.
  2. Connect a test light between the EVAP canister vent valve ignition feed circuit and ground.

Is the test light ON?

--

Go to Step 16

Go to Step 17

16

  1. Connect the test light between the EVAP canister vent valve ignition feed circuit and the EVAP canister vent valve control circuit.
  2. Use the scan tool to command the EVAP canister vent valve ON.

Is the test light ON?

--

Go to Step 20

Go to Step 18

17

  1. Check for and repair the cause for no power to the EVAP canister vent valve ignition feed circuit.
  2. Possible cause include the following:
  3. • open ignition feed circuit
    • shorted ignition feed circuit (open fuse)
    • shorted EVAP canister vent valve (open fuse)
    • No power to EVAP canister vent valve fuse (open maxi fuse, fuse link, etc.).

Is the repair complete?

--

Go to Step 25

--

18

  1. Inspect the EVAP canister vent valve control circuit for an open condition.
  2. Repair as necessary.

Was problem found and repaired?

--

Go to Step 25

Go to Step 24

19

Important: : Inspect the EVAP Purge Solenoid Valve and the purge line for carbon contamination. Refer to Diagnostic Aids.

Replace the EVAP Purge Solenoid Valve. Refer to Evaporative Emission Canister Purge Solenoid Valve Replacement .

Is the replacement complete?

--

Go to Step 25

--

20

Replace the EVAP Vent Valve. Refer to Evaporative Emission Vent Valve Replacement .

Is the replacement complete?

--

Go to Step 25

--

21

Replace the EVAP Vapor Canister. Refer to Evaporative Emission Canister Replacement .

Is the replacement complete?

--

Go to Step 25

--

22

  1. Relieve all system pressure.
  2. Using the scan tool, use the Purge/Seal function to turn the EVAP Purge Solenoid Valve ON to varying vacuum levels with the engine running and quickly SEAL the system with the scan tool. Leaving the EVAP Purge Solenoid Valve ON for higher percents or longer times will allow a higher amount of vacuum to develop. A maximum of 8.5 in H2O of vacuum can be applied to the EVAP system using the scan tool.
  3. While the system is sealed compare the EVAP pressure/purge diagnostic stations vacuum gauge (in H2O) to the vacuum shown on the scan tool from the EVAP Fuel Tank Pressure sensor. Allow a few seconds for the system to stabilize.

Do the values indicate the same amount of vacuum in the EVAP system to within the range specified?

2 in H2O

Go to Step 3

Go to Step 23

23

Replace the Fuel Tank Pressure Sensor. Refer to Fuel Tank Pressure Sensor Replacement .

Is the replacement complete?

--

Go to Step 25

--

24

  1. Replace the VCM.
  2. Program the VCM. Refer to VCM Replacement/Programming .
  3. Perform the Passlock Reprogramming Procedure. Refer to PASSLOCK Reprogramming Seed and Key in Theft Deterrent.
  4. Perform the Crankshaft Variation Learn Procedure. Refer to Crankshaft Position System Variation Learn .

Is the action complete?

--

Go to Step 25

--

25

Does the Scan Tool display any additional undiagnosed DTCs?

--

Go to applicable DTC table

System OK