GM Service Manual Online
For 1990-2009 cars only
Figure 1:

Windshield Washer and Forward Lamp Harness


Object Number: 465195  Size: MF
(1)Forward Lamp Harness
(2)C116
(3)Windshield Washer Motor Wiring Harness
(4)Windshield Washer Motor, Front
(5)Windshield Washer Motor, Rear
(6)Windshield Washer Reservoir
(7)Battery, LH (Auxiliary/Diesel Only)
Figure 2:

7.4L Engine, C105, Rear View


Object Number: 276622  Size: MF
(1)C105
Figure 3:

Dual Generator Support Wiring


Object Number: 391542  Size: MF
(1)Generator, RH
(2)Generator Cable
(3)C115
(4)Generator, LH
(5)Generator Connector, LH
(6)Battery, LH
(7)Electronic Brake Control Module (EBCM)
Figure 4:

Engine Harness, Rear (Diesel)


Object Number: 465311  Size: MF
(1)C114
(2)C112
(3)C113
(4)Fuel Heater Connector
(5)Glow Plug Controller
(6)Glow Plug Wiring Harness, LH
(7)Engine Harness
(8)Glow Plug Controller Connector
(9)Water-In-Fuel Sensor Connector
Figure 5:

Connectors: C100, C103, C104, C131, C132, C140, C142


Object Number: 376148  Size: MF
(1)C132 (Automatic Transfer Case)/C140 (Selectable Transfer Case)
(2)C130
(3)C100
(4)C104 (IP Harness)
(5)C103 (Engine Harness)
(6)C104 (Taillamp Ext. Harness)
(7)C103 (Taillamp Ext. Harness)
(8)Taillamp Ext. Harness
(9)Engine Harness
(10)Trailer Wiring Harness
(11)C131 (Automatic Transfer Case)/C142 (Selectable Transfer Case)
(12)C132 (Automatic Transfer Case)/C140 (Selectable Transfer Case)
Figure 6:

Underhood Lamp


Object Number: 405594  Size: MF
(1)Underhood Lamp
(2)G108
(3)Underhood Lamp Connector
(4)Engine Harness
(5)P101
Figure 7:

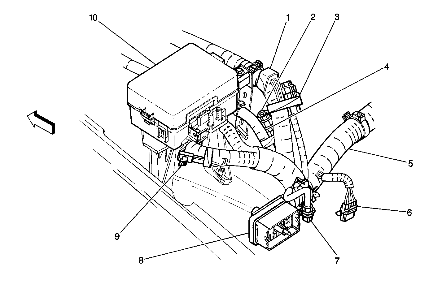
Underhood Fuse Block and Wiring (CNG)


Object Number: 465351  Size: MF
(1)C119
(2)C117
(3)C118
(4)ABS Wiring Harness
(5)Engine Wiring Harness
(6)C103
(7)C130
(8)C100
(9)C106
(10)Underhood Fuse Block
Figure 8:

Connectors: C107, C120 (4L80E w/S4WD)


Object Number: 276630  Size: MF
(1)C107
(2)C120
Figure 9:

Connectors: C107, C120 (5-Speed Manual)


Object Number: 276778  Size: MF
(1)C120
(2)C107
Figure 10:

4L60-E, C122


Object Number: 276758  Size: MF
(1)C122
(2)C107
Figure 11:

Crossbody Harness, Driver Side Dash Area


Object Number: 276799  Size: MF
(1)S266
(2)S256
(3)S255
(4)D203
(5)S258
(6)C231
(7)Crossbody Harness
(8)S257
(9)Radio Amplifier Relay
(10)S259
(11)S260
(12)S261
(13)Audio Amplifier
(14)C232
(15)C210
(16)C298
(17)S251
(18)IP Harness
Figure 12:

Convenience Center, C205, C210, C218, C221


Object Number: 276793  Size: MF
(1)C210
(2)C218
(3)C221
(4)C205
(5)IP Wiring Harness
(6)C280
(7)Convenience Center
Figure 13:

Connectors: C221, C222, C301,C302 (Crossbody to Front to Rear Body Harness)


Object Number: 277003  Size: MF
(1)C222
(2)C221
(3)C302
(4)C301
Figure 14:

Connector: C203 (Convenience Center)


Object Number: 276796  Size: MF
(1)C223
Figure 15:

IP Wiring, Tranfer Case Shift Control Module


Object Number: 276795  Size: MF
(1)DRL Module
(2)C298
(3)C233
(4)C100
(5)IP Harness
(6)Steering Column Harness and C266
(7)C271
(8)Transfer Case Shift Control Module, Connector C1
(9)Transfer Case Shift Control Module, Connector C2
(10)Transfer Case Shift Control Module
Figure 16:

Connectors: C227, C233, C266 (IP Left Side)


Object Number: 276933  Size: MF
(1)C227
(2)C266
(3)C234
Figure 17:

Connectors: C200, C204, C299 (Right Side, Gas)


Object Number: 276910  Size: MF
(1)Passenger IP Inflation Module Connector
(2)C203
(3)C200
(4)C299
Figure 18:

Connectors: C200, C204, C230, C299 (IP Wiring Right Side, Diesel)


Object Number: 276797  Size: MF
(1)IP Harness
(2)Low Level Coolant Level Module
(3)C200
(4)IP Compartment Box Light Connector
(5)C204
(6)C230
(7)Courtesy Lamp, RF
(8)Vehicle Speed Sensor Buffer (VSSB)
(9)Powertrain Control Module (PCM)
(10)C299
(11)Door Jamb Switch and Connector, RF
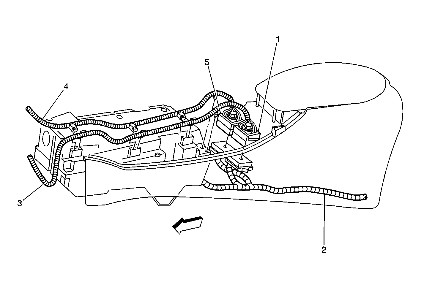
Figure 19:

Heater and A/C Wiring, C203, G202


Object Number: 277642  Size: MF
(1)G202
(2)C203
Figure 20:

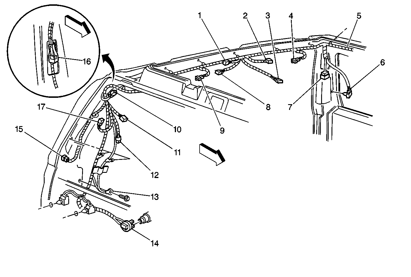
Connectors: C300, C307 (Overhead Console)


Object Number: 375523  Size: MF
(1)Front-to-Rear Body Harness
(2)C307
(3)Dome Lamp Connector, Front
(4)Auxiliary HVAC Control Module Harness
(5)Dome Lamp Connector, Front
(6)Dome Lamp Harness
(7)Garage Door Lamp Switch
(8)Auxiliary HVAC Control Module Connector, Front
(9)Overhead Console Harness
Figure 21:

Overhead Console Wiring Harness (Luxury)


Object Number: 466340  Size: MF
(1)Auxiliary HVAC Control Module Connector, Rear
(2)Auxiliary HVAC Control Module Switch, Rear
(3)Dome Lamp Connector, Rear
(4)C306
(5)Auxiliary HVAC Control Module Switch, Front
(6)Overhead Console
(7)C307
(8)Auxiliary HVAC Control Module Connector, Front
(9)C309
Figure 22:

Center Floor Console Harness (Luxury)


Object Number: 311404  Size: MF
(1)C304
(2)Console Harness
(3)Crossbody Harness
(4)IP Harness
(5)C305
Figure 23:

Power Seat Wiring Harness Connectors


Object Number: 277165  Size: MF
(1)C236 (Left)/C237 (Right)
(2)C212 (Left)/C229 (Right)
(3)C211 (Left)/C228 (Left)
Figure 24:

Rear Seat Harness (Luxury)


Object Number: 311436  Size: MF
(1)C311
(2)Floor
(3)Crossbody Harness
(5)C310
(6)Seat Belt Harness Connector
Figure 25:

Front Door Wiring


Object Number: 375317  Size: MF
(1)Speaker Connector, Tweeter
(2)Rear Window Lockout Switch Connector
(3)Power Window Switch
(4)Courtesy Light Connector
(5)Door Lock Switch Connector
(6)Power Window Switch Connector
(7)Power Mirror Switch Connector
(8)Speaker Connector
(9)Power Window Motor Connector
(10)C206 (Left)/C214 (Right)
(11)C209 (Left)
(12)C208 (Left)/C214 (Right)
(13)C207 (Left)/C213 (Right)
(14)Crossbody Harness
(15)P600 (Right Front)/P500 (Left)
(16)Door Harness
(17)C601 (Right)/C501 (Left)
(18)Door Lock Connector (Keyless Entry)
Figure 26:

Rear Door Wiring


Object Number: 277129  Size: MF
(1)Power Door Lock Motor Connector
(2)Courtesy Lamp, Door Connector
(3)Speaker, Rear Door
(4)Speaker Connector
(5)Power Window Motor Connector
(6)C496 (Right)/C498 (Left)
(7)Crossbody Harness
(8)C497 (Right)/C499 (Left)
(9)P800 (Right)/P700 (Left)
(10)Power Window Switch Connector
(11)Door Wiring Harness
Figure 27:

Center High Mounted Stop and Cargo Lamp Wiring, C410, C411 (except Suburban/Utility)


Object Number: 277211  Size: MF
(1)C411
(2)C410
Figure 28:

Rear Body Harness


Object Number: 372228  Size: MF
(1)CHMSL Connector
(2)C402
(3)C303
(4)Speaker Connector, LR
(5)Front to Rear Body Harness
(6)C314 (Liftgate)
(7)C405 (Cargo Doors)
(8)C406 (Liftgate)
(9)Speaker Connector, RR
(10)C406 (Cargo Doors)
(11)Door Lock Switch Connector, Rear
(12)Door Lock Actuator Connector, Rear
(13)G400
(14)Auxiliary Power Connector, Rear
(15)Door Jamb Switch Connector, Rear (Liftgate)
(16)C406 (Cargo Doors)
(17)Door Jamb Switch Connector, RR (Cargo Doors)
Figure 29:

Auxiliary A/C Wiring


Object Number: 277976  Size: MF
(1)Auxiliary HVAC Blower Relays; Low/Meduim/High
(2)C401
(3)C400
(4)Auxiliary Blower Motor
(5)Auxiliary Blower Resistor
(6)Auxiliary Temperature Door Motor
(7)Auxiliary Mode Door Motor
Figure 30:

Endgate Marker Lamps


Object Number: 375553  Size: MF
(1)C408
(2)Endgate Marker Lamps
Figure 31:

Tail and Stoplamp Harness Connectors


Object Number: 375538  Size: MF
(1)Tail/Stop Lamp Extension Harness
(2)Tail/Stop Lamp Harness
(3)Tail/Stop Lamp Connector, RH
(4)License Plate Lamp Harness
(5)License Plate Lamps
(6)C409
(7)C407
Figure 32:

Liftgate Release Motor Wiring


Object Number: 277193  Size: MF
(1)C406
(2)C404
(3)Liftgate Release Motor
(4)P410
(5)C450
(6)P409
(7)C314
(8)C402
Figure 33:

Rear Window Wiring Harness


Object Number: 277220  Size: MF
(1)Rear Window Wiper Motor and Connector
(2)P400
(3)Rear Window Defogger Connector, Right
(4)Rear Window Defogger Connector, Left
Figure 34:

Underhood Fuse Block and Wiring (Police Package) 1 of 2


Object Number: 466720  Size: MF
(1)Forward Lamp Harness
(2)Underhood Fuse Block
(3)Emergency Roof Lamp Wiring
(4)C101 (Auxiliary Fan Only)
(5)Convenience Center
(6)C110
(7)C108 (Police Package Only)
(8)C102
Figure 35:

Underhood Fuse Block Wiring (Police Package) 2 of 2


Object Number: 465201  Size: MF
(1)Positive Battery Cable
(2)Electronic Brake Control Module (EBCM)
(3)C109
(4)P100
(5)Underhood Fuse Block
(6)Emergency Beacon Relay
(7)Battery, LH (Auxiliary/Diesel Only)
Figure 36:

IP Wiring Harness, Emergency Rooflamp Switch (Police Package)


Object Number: 375610  Size: MF
(1)Convenience Center
(2)C238
(3)Emergency Roof Lamp Harness
(4)Crossbody Harness
(5)Emergency Roof Lamp Switch, Connector
(6)Emergency Roof Lamp Switch
(7)Headlamp and Panel Dimmer Switch
(8)Headlamp and Panel Dimmer Switch, Connector
(9)IP Harness
Figure 37:

Spotlamp Wiring Harness (Police Package)


Object Number: 375516  Size: MF
(1)C271
(2)Crossbody Harness
(3)C231
(4)C272
(5)C232
(6)Convenience Center
(7)IP Wiring Harness
(8)Spotlamp Wiring Harness
Figure 38:

IP Wiring Harness, Radio (Police Package)


Object Number: 376150  Size: MF
(1)Radio
(2)Rear Wiper Switch
(3)Liftgate Release Switch
(4)DRL/Radio Override Switch
(5)C235
(6)Auxiliary Power Harness
(7)Speaker and Flasher Wiring Harness
(8)C245
(9)Horn Wiring Harness
(10)C242
(11)C244