GM Service Manual Online
For 1990-2009 cars only

FMVSS Noncompliance - FMVSS Neck Extension Requirements

Subject:00044 -- FMVSS Neck Extension Requirements

Models:1999 Chevrolet 1/2 Ton C/K Pickup Truck, Tahoe, and Suburban; GMC 1/2 Ton Sierra Pickup Truck, Yukon, Yukon Denali, and Suburban; and Cadillac Escalade



Condition

General Motors has decided that certain 1999 Chevrolet 1/2 ton C/K pickup trucks, Tahoes, and Suburbans; GMC 1/2 ton Sierra pickup trucks, Yukon, Yukon Denalis and Suburbans; and Cadillac Escalades fail to conform to Federal Motor Vehicle Safety Standard (FMVSS) 208, "Occupant Crash Protection." In the event of a vehicle crash, if a front seat passenger is not wearing a safety belt, the risk of neck injury is higher than that permitted under federal law (the passenger's chin may momentarily "catch" in the depressed area on the top of the passenger side of the instrument panel, resulting in the potential for a resultant neck extension more severe than allowed by the standard). To avoid this risk, the passenger should wear the available safety belt properly until the campaign is performed. Everyone should properly wear safety belts at all times when riding in motor vehicles.

Correction

Dealers are to encourage the customer to have the remedy, a tray insert, installed on the passenger side of the instrument panel (refer to the graphic in the owner letter). The tray insert corrects the noncompliance and reduces the risk of injury in a crash. When a vehicle is brought into the dealership for a repair other than the campaign, dealers should notify the customer of the condition and correction before performing this campaign. If the customer should refuse to have the tray insert installed on their vehicle, complete the form found at the end of this bulletin and retain in with the R.O.

Vehicles Involved

Involved are certain 1999 Chevrolet 1/2 ton C/K pickup trucks, Tahoes, and Suburbans; GMC 1/2 ton Sierra pickup trucks, Yukons, Yukon Denalis, and Suburbans; and Cadillac Escalades built within these VIN breakpoints:

Year

Division

Model

Plant

From

Through

1999

GMC

Sierra Pickup

Arlington

XR508087

XR516267

1999

GMC

Yukon/Yukon Denali

Arlington

XR508086

XR918180

1999

GMC

Yukon/Yukon Denali

Janesville

XJ729078

XJ780417

1999

GMC

Suburban

Janesville

XJ713686

XJ780401

1999

GMC

Suburban

Silao

XG517236

XG535874

1999

Chevrolet

C/K Pickup

Arlington

XR117069

XR147821

1999

Chevrolet

Tahoe

Arlington

XR117072

XR151458

1999

Chevrolet

Tahoe

Janesville

XJ378773

XJ502135

1999

Chevrolet

Tahoe

Silao

XG146940

XG215457

1999

Chevrolet

Suburban

Janesville

XJ377831

XJ502128

1999

Chevrolet

Suburban

Silao

XG146631

XG215476

1999

Cadillac

Escalade

Arlington

XR400022

XR414192

Important: Dealers should confirm vehicle eligibility through GMVIS (GM Vehicle Inquiry System). [Not all vehicles within the above breakpoints may be involved.]

Involved vehicles have been identified by Vehicle Identification Number. Computer listings containing the complete Vehicle Identification Number, customer name and address data have been prepared, and are being furnished to involved dealers with the campaign bulletin. The customer name and address data furnished will enable dealers to follow up with customers involved in this campaign. Any dealer not receiving a computer listing with the campaign bulletin has no involved vehicles currently assigned.

These dealer listings may contain customer names and addresses obtained from Motor Vehicle Registration Records. The use of such motor vehicle registration data for any other purpose is a violation of law in several states/provinces/countries. Accordingly, you are urged to limit the use of this listing to the follow-up necessary to complete this campaign.

Parts Information

Parts required to complete this campaign are to be obtained from General Motors Service Parts Operations (GMSPO). Please refer to your "involved vehicles listing" before ordering parts. Normal orders should be placed on a DRO = Daily Replenishment Order. In an emergency situation, parts should be ordered on a CSO = Customer Special Order.

Part Number

Description

Qty/ Vehicle

88880042

Cover Kit, I/P Tray Opg

1

Service Procedure

IMPORTANT

OBTAIN THE CONSENT OF THE CUSTOMER BEFORE PERFORMING THIS CAMPAIGN.

 

Important: Read the entire procedure and review the illustrations before beginning any work on the vehicle.

  1. If the customer brings the vehicle into the dealership and requests this campaign, proceed to Step 2.
  2. If the customer bring their vehicle into the dealership for service other than this campaign and the campaign has not yet been performed, explain to the customer the noncompliance condition as outlined on page 1 of this bulletin, and confirm that the customer understands that the remedy for noncompliance will change the appearance of the instrument panel, as pictured in the Owner Letter, because of the tray insert.

    If the customer DECLINES to authorize performance of this campaign, have the customer complete the form at the back of this bulletin and attach the form to the Repair Order. DO NOT perform this campaign procedure.

  3. Disable the SIR system.
  4. Install masking tape over the defroster duct grille to keep drilling debris out.

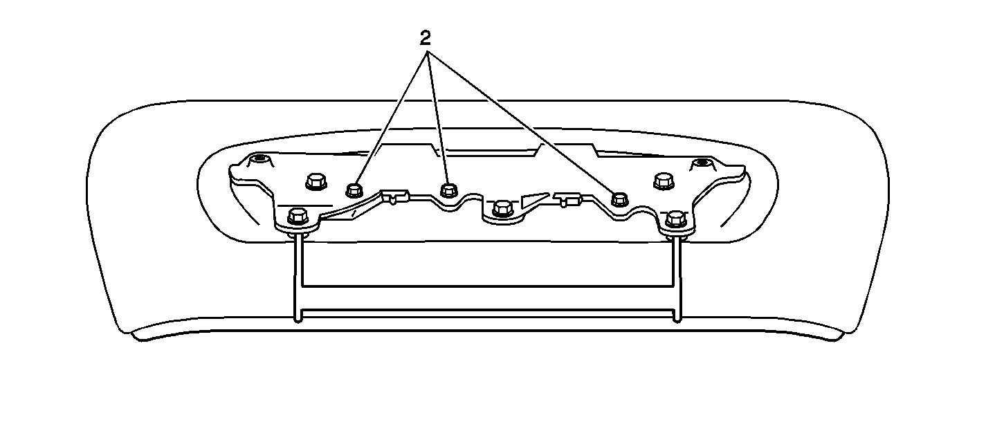
  5. Object Number: 768547  Size: SF
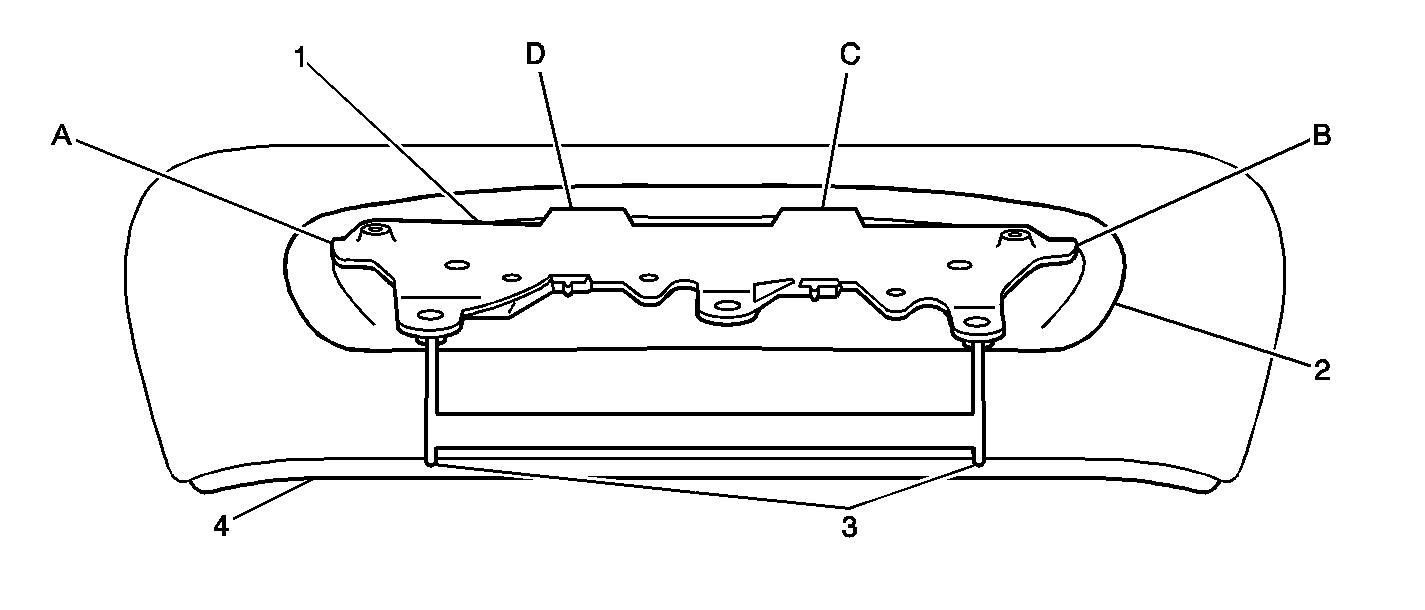
  6. Place the mounting bracket (1) into the recessed area (2) on top of the instrument panel, directly above the passenger side air bag as shown in the illustration above. When properly positioned front to rear, the locator tabs, marked C and D on the bracket, will be contacting the forward surface (towards the windshield) of the recessed area, and the alignment feature (3) will be wrapped over and contacting the edge of the instrument panel pad (4).
  7. Using the locator tabs, marked A & B on the ends of the mounting bracket, center it from side to side in the recessed area (2).

  8. Object Number: 768548  Size: SF
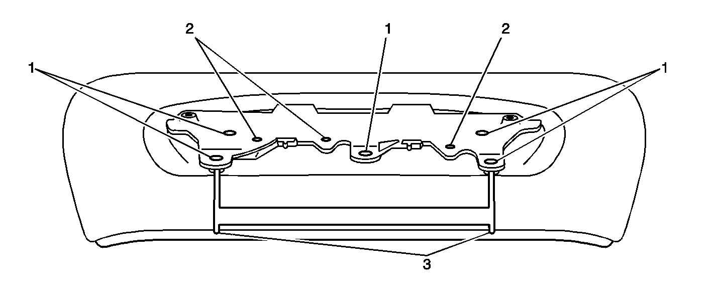
  9. Once the mounting bracket is centered from side to side, and the alignment feature (3) and the locator tabs C & D properly positioned, mark the location of all eight holes to be drilled. Use a pencil, black marker, center punch, or equivalent to mark the hole locations of the five 1/4" diameter holes (1).
  10. Important: Due to the close proximity of the windshield, tool clearance is limited. As a result, some standard size drills may not be usable. However, we have found that some smaller size drills or drills with offset heads perform well. If you do not have a drill that will work in the limited space, a self-driling/self-tapping 10mm hex head screw, P/N 15551605, can be used. This screw, when used with the appropriate socket and ratchet, can be used to drill the larger size holes in the instrument panel by hand where access is limited. Do not discard the screw . Only ONE screw is needed as it can be reused multiple times on many vehicle.

    Important: When drilling holes in the next step, only drill the 1/4" diameter holes at the five locations shown. Use a drill depth stop or a piece of vacuum hose to limit drill bit travel to a maximum of 12mm (1/2"). Do not drill holes at the other three locations. Those three holes are a smaller size and will be drilled in Step 10.


    Object Number: 768551  Size: SF
  11. Remove the mounting bracket. Using a 1/4" size drill bit, or the 10mm hex head self-drilling/self-tapping bolt described above, drill holes at the five larger locations (1) shown in the above illustration. DO NOT DRILL HOLES AT THE OTHER THREE SMALLER LOCATIONS.
  12. Important: If you are using the 10mm hex head self-drilling/self-tapping bolt for drilling the larger holes, ensure that the mounting bracket has been removed and that the screw is drilled/screwed into the instrument panel pad until fully seated. AFTER IT IS FULLY SEATED, CONTINUE TIGHTENING UNTIL THE SCREW FEELS LIKE THE THREADS HAVE BECOME STRIPPED. Once it feels stripped, continue turning it another six complete revolutions before removing. Tightening until the screw feels stripped will make installation of the five black push-in fasteners in Step 9 easier.

  13. Remove any drilling debris from the area and position the mounting bracket in place.
  14. Install the five black push-in fasteners through the five holes in the mounting bracket and into the instrument panel. Make sure the five fasteners are fully seated before pushing down the center pins. If installation of the fasteners is difficult, refer to the Important statement with Step 8 above.

  15. Object Number: 768552  Size: SF
  16. Using a 1/8" diameter drill bit, drill holes at the three remaining smaller locations (2) shown in the above illustration.
  17. Remove any drilling debris from the area and install the three 7mm hex head screws that are included with the kit.
  18. Tighten
    Tighten the screws to 1 N·m (9 lb in).


    Object Number: 768553  Size: SF
  19. With the mounting bracket fully secured to the instrument panel, carefully cut or snip off the alignment feature from the mounting bracket.

  20. Object Number: 768554  Size: MF
  21. Place the tray on the mounting bracket and at the end holes, start the two Phillips washer head screws included with the kit. Do not fully tighten. Then secure the tray with the other two Phillips oval head screws included with the kit.
  22. Tighten

        • Tighten the screws to 2 N·m (18 lb in).
        • Finish securing the end screws and tighten the screws to 2 N·m (18 lb in).
  23. Remove the masking tape from the defroster duct grille.
  24. Enable the SIR system.
  25. Install the GM Campaign Identification Label.

Campaign Identification Label

Place a Campaign Identification Label on each vehicle in accordance with the instructions outlined in this Product Campaign Bulletin. Each label provides a space to include the campaign number and the five (5) digit dealer code of the dealer performing the campaign service. This information may be inserted with a typewriter or a ball point pen.

Put the Campaign Identification Label on a clean and dry surface of the radiator core support in an area that will be visible to people servicing the vehicle. When installing the Campaign Identification Label, be sure to pull the tab to allow the adhesion of the clear protective covering. Additional Campaign Identification Labels for US dealers can be obtained from Dealer Support Materials by calling 1-888-549-6152 (Monday-Friday, 8:00 am to 5:00 pm EST). Ask for Item Number S-1015 when ordering.

Claim Information

Submit a Product Campaign Claim with the information indicated below:

Repair Performed

Part Count

Part No.

Parts Allow

CC-FC

Labor Op

Labor Hours*

Customer Declined Tray Insert-Form Completed

0

NA

NA

MA-96

V0649

0.2

Tray Insert Installed

1

--

**

MA-96

V0522

0.6

* -- For Campaign Administrative Allowance, add 0.1 hours to the "Labor Hours".

** -- The "Parts Allowance" should be the sum total of the current GMSPO Dealer Net price plus applicable Mark-Up for the cover kit needed to complete the repair.

Refer to the General Motors WINS Claim Processing Manual for details on Product Campaign Claim Submission.

Customer Notification

Customers will be notified of this campaign on their vehicles by General Motors (see copy of customer letter included with this bulletin).

Dealer Campaign Responsibility

The US National Traffic and Motor Vehicle Safety Act provides that each vehicle that is subject to a recall campaign of this type must be adequately repaired within a reasonable time after the customer has tendered it for repair. A failure to repair within sixty days after tender of a vehicle is prima facie evidence of failure to repair within a reasonable time. If the condition is not adequately repaired within a reasonable time, the customer may be entitled to an identical or reasonably equivalent vehicle at no charge or to a refund of the purchase price less a reasonable allowance for depreciation. To avoid having these burdensome remedies, every effort must be made to promptly schedule an appointment with each customer and to repair their vehicle as soon as possible. In the recall campaign notification letters, customers are told how to contact the US National Highway Traffic Safety Administration if the campaign is not completed within a reasonable time.

This bulletin is notice to you that the new motor vehicles included in this campaign may not comply with the standard identified above. Under Title 49, Section 30112 of the United States Code, it is illegal for a dealer to sell a new motor vehicle which the dealer knows does not comply with an applicable Federal Motor Vehicle Safety Standard. As a consequence, if you sell any of these motor vehicles without first performing the campaign correction, your dealership may be subject to a civil penalty for each such sale.

All unsold new vehicles in dealers' possession and subject to this campaign MUST be held and inspected/repaired per the service procedure of this campaign bulletin BEFORE customers take possession of these vehicles.

Dealers are to service all vehicles subject to this campaign at no charge to customers, regardless of mileage, age of vehicle, or ownership, from this time forward.

Customers who have recently purchased vehicles sold from your vehicle inventory, and for which there is no customer information indicated on the dealer listing, are to be contacted by the dealer. Arrangements are to be made to make the required correction according to the instructions contained in this bulletin. This could be done by mailing to such customers a copy of the customer letter accompanying this bulletin. Campaign follow-up cards should not be used for this purpose, since the customer may not as yet have received the notification letter.

In summary, whenever a vehicle subject to this campaign enters your vehicle inventory, or is in your dealership for service in the future, please take the steps necessary to be sure the campaign correction has been made before selling or releasing the vehicle.

Campaign 00044 -- FMVSS Neck Extension Requirements

Customer Name:

VIN:

CONDITION

General Motors has decided that certain 1999 Chevrolet 1/2 ton C/K pickup trucks, Tahoes, and Suburbans; GMC 1/2 ton Sierra pickup trucks, Yukon, Yukon Denalis and Suburbans; and Cadillac Escalades fail to conform to Federal Motor Vehicle Safety Standard (FMVSS) 208, "Occupant Crash Protection." In the event of a vehicle crash, if a front seat passenger is not wearing a safety belt, the risk of neck injury is higher than that permitted under federal law (the passenger's chin may momentarily "catch" in the depressed area on the top of the passenger side of the instrument panel, resulting in the potential for a resultant neck extension more severe than allowed by the standard). To avoid this risk, the passenger should wear the available safety belt properly until the campaign is performed. Everyone should properly wear safety belts at all times when riding in motor vehicles.

 

 

 

 

 

If a customer wishes to decline the installation of the tray insert, he/she must complete this form.

 

I understand that the tray insert will remedy the above described safety noncompliance condition and reduce the risk of neck injury in the event of a crash. I also have been advised that the National Highway Traffic Safety Administration (NHTSA) is urging all consumers to have this remedy work performed. Nevertheless, I decline to have the tray installed on my vehicle.

 

 

Signature:_____________________________________

Date:__________________


Object Number: 768555  Size: MF
December, 2000

Dear General Motors Customer:

This notice is sent to you in accordance with the requirements of the National Traffic and Motor Vehicle Safety Act.

Reason For This Recall

General Motors has decided that certain 1999 Chevrolet 1/2 ton C/K pickup trucks, Tahoes, and Suburbans; GMC 1/2 ton Sierra pickup trucks, Yukon, Yukon Denalis and Suburbans; and Cadillac Escalades fail to conform to Federal Motor Vehicle Safety Standard (FMVSS) 208, "Occupant Crash Protection." In the event of a vehicle crash, if a front seat passenger is not wearing a safety belt, the risk of neck injury is higher than that permitted under federal law (the passenger's chin may momentarily "catch" in the depressed area on the top of the passenger side of the instrument panel, resulting in the potential for a resultant neck extension more severe than allowed by the standard). To avoid this risk, the passenger should wear the available safety belt properly until the campaign is performed. Everyone should properly wear safety belts at all times when riding in motor vehicles.

What Will Be Done

General Motors has designed a tray insert for installation on the top of the passenger side of the instrument panel. The tray insert corrects the noncompliance. A picture of the tray insert is shown on the next page (graphic for this electronic version appears BEFORE this owner letter). Your Chevrolet/GMC/Cadillac dealer will install this tray insert at no charge to you .

How Long Will The Repair Take?

The length of time required to perform this service correction is approximately 40 minutes. Additional time may be required to schedule and process your vehicle. If you dealer has a large number of vehicles awaiting service, this additional time may be significant. Please ask your dealer if you wish to know how much additional time will be needed schedule, process, and repair your vehicle.

Contacting Your Dealer

Please contact your Chevrolet/GMC/Cadillac dealer as soon as possible to arrange a service date. Parts are available and instructions for making this correction have been sent to your dealer.

Your Chevrolet/GMC/Cadillac dealer is best equipped to obtain parts and provide services to correct your vehicle as promptly as possible. Should your dealer be unable to schedule a service date within a reasonable time, you should contact the appropriate Customer Assistance Center at the number listed below:

Division

Number

Deaf, Hearing Impaired, or Speech Impaired*

Cadillac

1-800-458-8006

1-800-833-2622

Chevrolet

1-800-222-1020

1-800-833-2438

GMC

1-800-462-8782

1-800-462-8583

* Utilizes Telecommunication Devices for the Deaf/Text Telephones (TDD/TTY)

If, after contacting the appropriate customer assistance center, you are still not satisfied that we have done our best to remedy this condition without charge and within a reasonable time, you may wish to write the Administrator, National Highway Traffic Safety Administration, 400 Seventh Street SW, Washington, DC 20590 or call 1-888-327-4236.

Customer Reply Card

The attached customer reply card identifies your vehicle. Presentation of this card to your dealer will assist in making the necessary correction in the shortest possible time. If you no longer own this vehicle, please let us know by completing the attached and mailing it in the postage paid envelope.

We are sorry to cause you this inconvenience; however, we have taken this action in the interest of your safety and continued satisfaction with our products.

General Motors Corporation

Enclosure