GM Service Manual Online
For 1990-2009 cars only
Makes
🢒
Chevrolet
🢒
2001
🢒
Chevy Suburban - 4WD
🢒
Transmission/Transaxle
🢒
Shift Lock Control
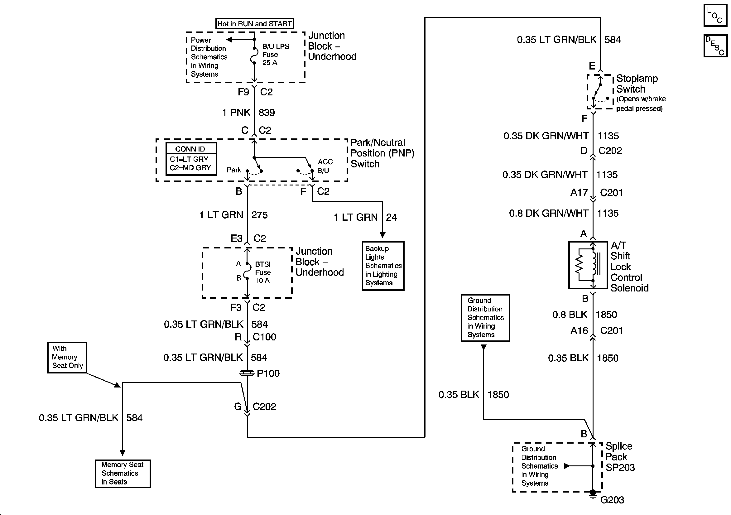
🢒 Shift Lock Control Schematics
Master Electrical Component List
Automatic Transmission Shift Lock Control Description and Operation
IGNITION, RUN, and START Bus Bar
G203 - 1 of 4
Backup Lamps Schematics - Utility
Memory Seat Schematics
G203 - 1 of 4