GM Service Manual Online
For 1990-2009 cars only

The ZF S6-650 is a six-speed transmission. All of the six forward gears and the reverse gear are fully synchronized. The six-speed gear is an overdrive ratio. The six-speed gear is located on the rear of the countershaft.

The transmission consists of three aluminum cases. The front case includes the bell housing. The main shaft and the countershaft front bearing races are installed in the front case. The bearing races are shimmed to preload the main shaft and countershaft bearings. There is also a main shift shaft bearing in the front case. The shift control lever housing mounts to the front case.

The intermediate case supports the main shaft and the countershaft. The bearing races for the main shaft and the countershaft center bearings are installed in the intermediate case. To support the shift shaft, shift shaft bearings are used in the intermediate case The shift shaft interlock plate and the shift shaft detents are located with the intermediate case.

The rear case also has bearings for the main shaft and the countershaft. The bearings are not preloaded. The rear case contains the reverse gear idler shaft and gear. The rear case also has a bearing for the main shift shaft. If the vehicle is RWD, an oil seal is used in the rear case. If the vehicle is 4WD, a sealed bearing is used on the rear of the main shaft. The six-speed gear along with the reverse/first speed gears are located in the rear case.

All of the speed gears are supported by a double row needle bearing. The inner bearing races for the needle bearings are replaceable.


Object Number: 743086  Size: MF

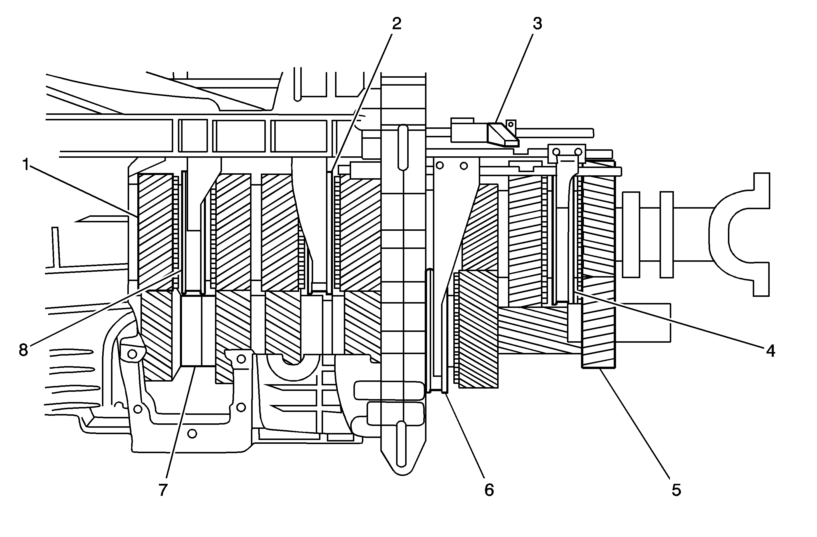
The shift lever moving the main shift shaft (5) selects the transmission speeds. By moving the main shift shaft front-to-rear and side-to-side rotation will allow the levers on the front internal shift control lever (1) to engage the notches on the 4th/5th speed gears shift shaft or the 2nd/3rd speed gears shift shaft. Further movement of the main shift shaft front-to-rear and side-to-side rotation, the levers on the rear internal shift control lever (3) will engage in the notches on the reverse/1st speed gears shift shaft or the 6th speed gear shift shaft. The shift shaft block (4) on the main shift shaft, which is teeth to the interlock plate (2), moves the interlock plate to lock in the notches on the non-selected gears shift shaft, thus preventing the non-selected shift shafts from moving.


Object Number: 742978  Size: MF
(1)Input Shaft Gear, 5th Speed Gear
(2)2nd/3rd Speed Gear Synchronizer
(3)Rear Internal Shift Control Lever
(4)1st/Reverse Speed Gear Synchronizer
(5)Reverse Idler Gear
(6)6th Speed Gear Synchronizer
(7)Countershaft Assembly
(8)4th/5th Speed Gear Synchronizer

The ZF S6-650 is a six-speed transmission. All of the six forward gears and the reverse gear are fully synchronized. The six-speed gear is an overdrive ratio. The six-speed gear is located on the rear of the countershaft.

The transmission consists of three aluminum cases. The front case includes the bell housing. The mainshaft and the countershaft front bearing races are installed in the front case. The bearing races are shimmed to preload the mainshaft and countershaft bearings. There is also a main shift shaft bearing in the front case. The shift control lever housing mounts to the front case.

The intermediate case supports the mainshaft and the countershaft. The bearing races for the mainshaft and the countershaft center bearings are installed in the intermediate case. To support the shift shaft, shift shaft bearings are used in the intermediate case The shift shaft interlock plate and the shift shaft detents are located with the intermediate case.

The rear case also has bearings for the mainshaft and the countershaft. The bearings are not preloaded. The rear case contains the reverse gear idler shaft and gear. The rear case also has a bearing for the main shift shaft. If the vehicle is RWD, an oil seal is used in the rear case. If the vehicle is 4WD, a sealed bearing is used on the rear of the mainshaft. The six-speed gear along with the reverse/first speed gears are located in the rear case.

All of the speed gears are supported by a double row needle bearing. The inner bearing races for the needle bearings are replaceable.


Object Number: 743086  Size: MF

The shift lever moving the main shift shaft (5) selects the transmission speeds. By moving the main shift shaft front-to-rear and side-to-side rotation allows the levers on the front internal shift control lever (1) to engage the notches on the 4th/5th speed gears shift shaft or the 2nd/3rd speed gears shift shaft. Further movement of the main shift shaft front-to-rear and side-to-side rotation, the levers on the rear internal shift control lever (3) engage in the notches on the reverse/1st speed gears shift shaft or the 6th speed gear shift shaft. The shift shaft block (4) on the main shift shaft, which is teeth to the interlock plate (2), moves the interlock plate to lock in the notches on the non-selected gears shift shaft, thus preventing the non-selected shift shafts from moving.