GM Service Manual Online
For 1990-2009 cars only
Makes
🢒
Chevrolet
🢒
2002
🢒
Chevy Suburban - 4WD
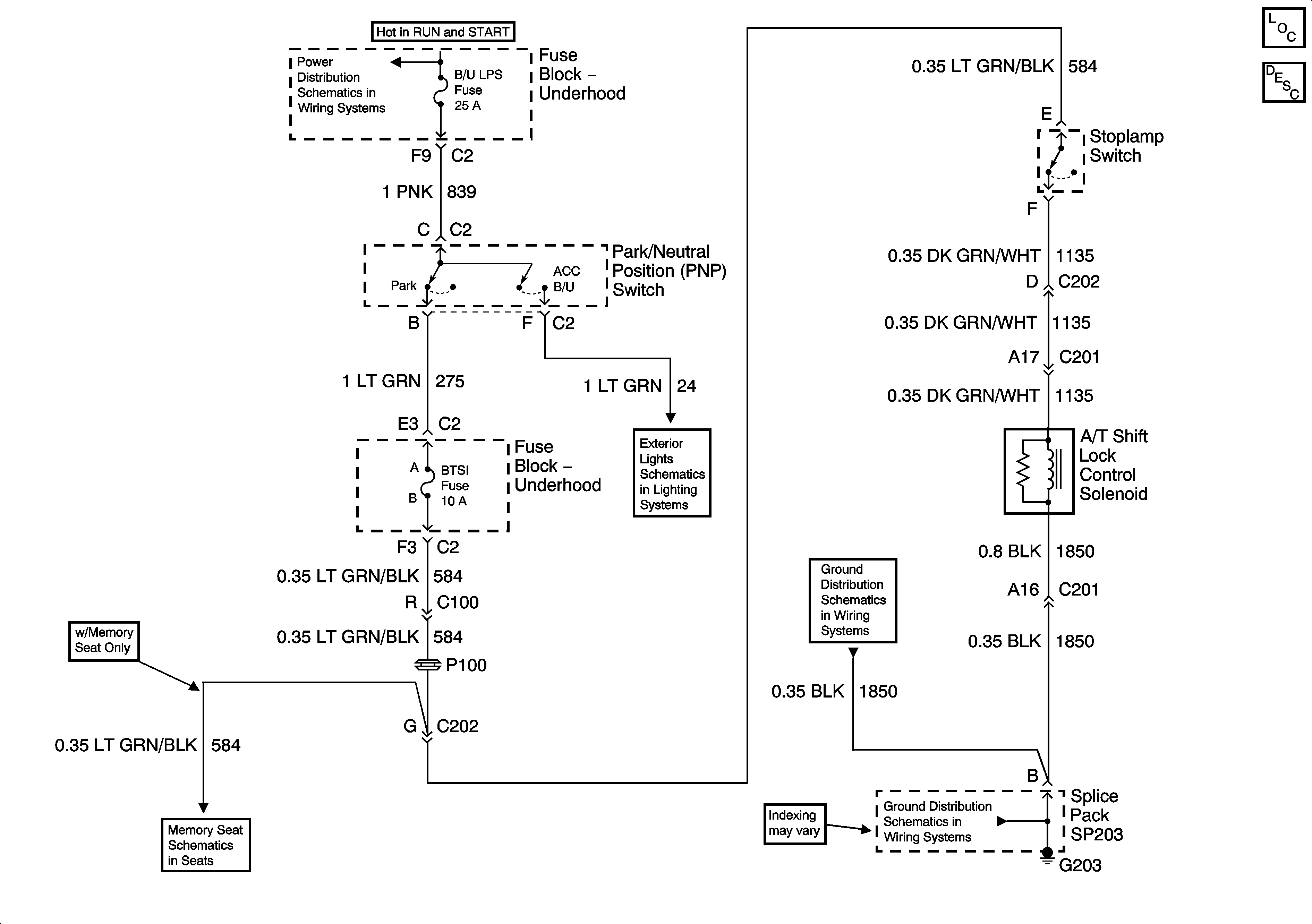
🢒 2002 Shift Lock Control
2002 Shift Lock Control
Master Electrical Component List
Theft Systems Description and Operation
B/U LP, BTSI, VEH B/U - 1 of 2, and TRL B/U Fuses
Backup Lamps
G203 - 1 of 4
G203 - 1 of 4
Memory Seat Control - Non Class 2