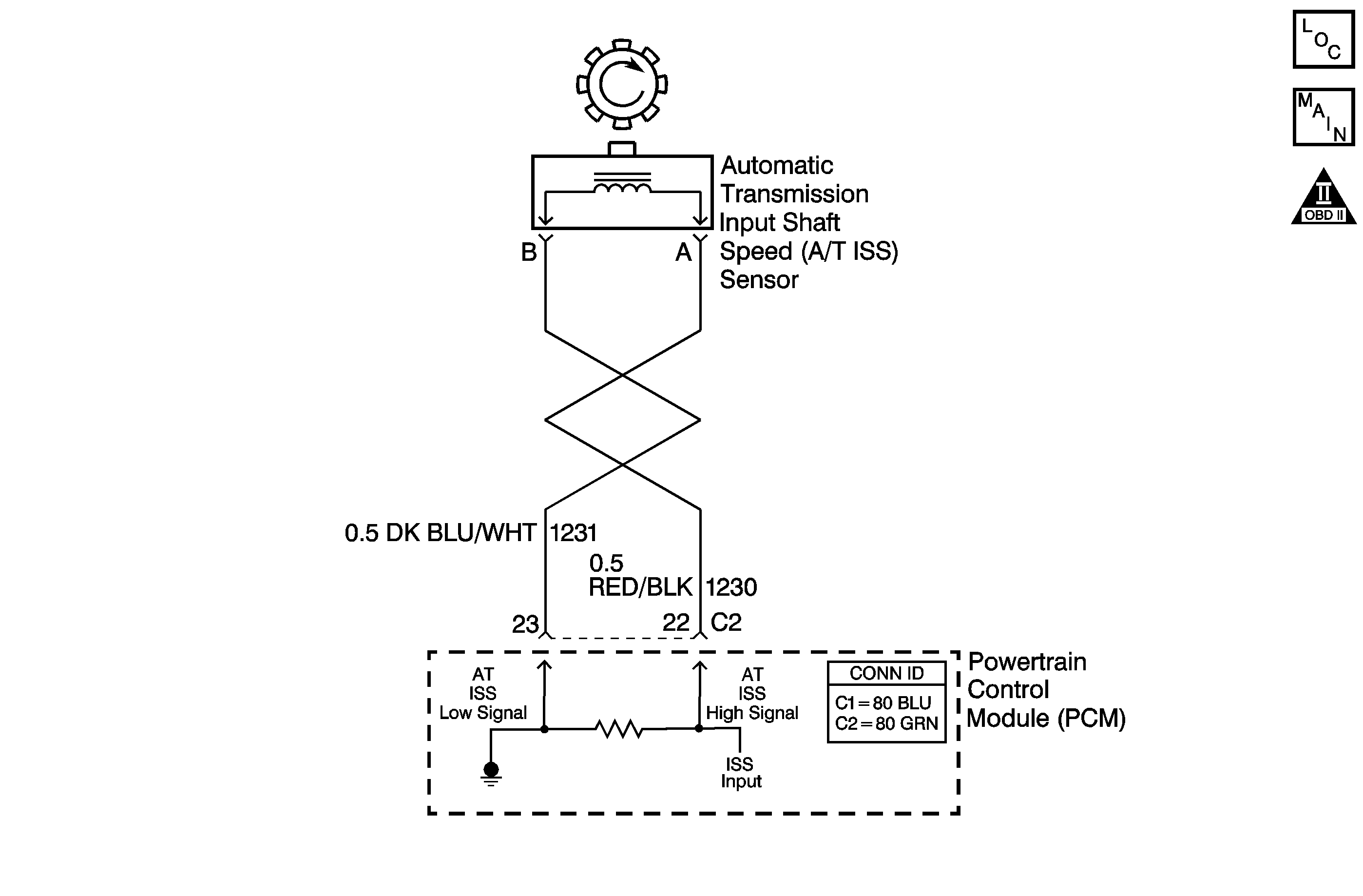
The automatic transmission input shaft speed (AT ISS) sensor provides transmission input speed to the powertrain control module (PCM). The AT ISS sensor is a permanent magnet generator. The sensor mounts into the transmission case and maintains a slight air gap between the sensor and the forward clutch housing. The PM generator produces an AC voltage as the forward clutch housing rotor teeth pass through the sensor's magnetic field. The AC voltage level increases as the turbine shaft speed increases. The PCM converts the AC voltage into a digital signal. The PCM determines actual turbine speed using the digital signal. The PCM uses the input speed to calculate torque converter slip speed, and gear ratios.
When the PCM detects an unreasonably large change in the input speed, in a very short period of time, DTC P0716 sets. DTC P0716 is a type C DTC. For California emissions vehicles, DTC P0716 is a type B DTC.
| • | No TP sensor DTCs P0121, P0122 or P0123. |
| • | No AT VSS DTC P0502 or P0503. |
| • | No AT ISS DTC P0717. |
| • | AT ISS DTC P0717 has run and passed. |
| • | No 1-2 shift solenoid DTCs P0751, P0752 or P0753. |
| • | The system voltage is 8-18 volts. |
| • | The throttle angle is greater than 10 percent. |
| • | The vehicle speed is greater than 12 km/h (7 mph). |
The input speed varies by 1,300 RPM for greater than 5 seconds.
| • | The PCM illuminates the malfunction indicator lamp (MIL) during the second consecutive trip for all California emission equipped vehicles in which the Conditions for Setting the DTC are met. |
| • | The PCM commands maximum line pressure. |
| • | The PCM freezes shift adapts. |
| • | The PCM records the operating conditions when the Conditions for Setting the DTC are met. The PCM stores this information as Freeze Frame, California only, and Failure Records, California and Federal. |
| • | The PCM stores the DTC P0716 in PCM history during the second consecutive trip, California, or the first trip, Federal, in which the Conditions for Setting the DTC are met. |
| • | For California emissions, the PCM turns OFF the MIL during the third consecutive trip in which the diagnostic test runs and passes. |
| • | A scan tool can clear the MIL/DTC. |
| • | For California emissions, the PCM clears the DTC from PCM history if the vehicle completes 40 warm-up cycles without an emission related diagnostic fault occurring. |
| • | For Federal emissions, the PCM clears the DTC from PCM history if the vehicle completes 40 warm-up cycles without a non-emission related diagnostic fault occurring. |
| • | The PCM cancels the DTC default actions when the fault no longer exists and the ignition switch is OFF long enough in order to power down the PCM. |
DTC P0716 defaults to an elevated line pressure condition which may result in partial TCC apply. This may produce an idle surge that could stall the engine.
The numbers below refer to the step numbers on the diagnostic table.
This step tests for proper operation to the AT ISS sensor.
This step tests for proper AT ISS circuit operation up to the PCM connections. Remove the fuel pump relay in order to eliminate a flooding condition during this step.
Step | Action | Value(s) | Yes | No | ||||
|---|---|---|---|---|---|---|---|---|
1 | Did you perform the Diagnostic System Check - Engine Controls? | -- | Go to Step 2 | Go to Diagnostic System Check - Engine Controls in Engine Controls - 6.0L or Diagnostic System Check - Engine Controls in Engine Controls - 8.1L | ||||
Important: Before clearing the DTC, use the scan tool in order to record the Freeze Frame and Failure Records for reference. The Clear Info Function will erase the data. With the drive wheels rotating, does the scan tool Transmission ISS increase with the drive wheel speed? | -- | Go to Intermittent Conditions in Engine Controls - 6.0L or Intermittent Conditions in Engine Controls - 8.1L | Go to Step 3 | |||||
3 |
Does the resistance measure within the specified range? | 1,420-2,140 ohms | Go to Step 4 | Go to Step 6 | ||||
4 | Measure the resistance from the ISS high signal circuit to ground. Does the resistance measure greater than the specified value? | 10 M ohms | Go to Step 5 | Go to Step 8 | ||||
5 |
Refer to Testing for a Short to Voltage and Wiring Repairs in Wiring Systems. Did you find and correct the condition? | -- | Go to Step 13 | Go to Step 12 | ||||
Does the resistance measure within the specified range? | 1,420-2,140 ohms | Go to Step 7 | Go to Step 11 | |||||
7 | Was the resistance measured in Step 3 greater than the specified value? | 2,140 ohms | Go to Step 9 | Go to Step 10 | ||||
8 |
Refer to Testing for Short to Ground and Wiring Repairs in Wiring Systems. Did you find and correct the condition? | -- | Go to Step 13 | -- | ||||
9 |
Refer to Testing for Continuity and Wiring Repairs in Wiring Systems. Did you find and correct the condition? | -- | Go to Step 13 | -- | ||||
10 | Test the AT ISS high circuit and the AT ISS low circuit for a short together. Refer to Circuit Testing and Wiring Repairs in Wiring Systems. Did you find and correct the condition? | -- | Go to Step 13 | -- | ||||
11 | Replace the ISS assembly. Refer to Input Speed Sensor Replacement . Did you complete the replacement? | -- | Go to Step 13 | -- | ||||
12 | Replace the PCM. Refer to Powertrain Control Module Replacement in Engine Controls - 6.0L or Powertrain Control Module Replacement in Engine Controls - 8.1L. Did you complete the replacement? | -- | Go to Step 13 | -- | ||||
13 | Perform the following procedure in order to verify the repair:
Has the test run and passed? | -- | Go to Step 14 | Go to Step 2 | ||||
14 | With the scan tool, observe the stored information, capture info and DTC info. Does the scan tool display any DTCs that you have not diagnosed? | -- | Go to Diagnostic Trouble Code (DTC) List in Engine Controls - 6.0L or Diagnostic Trouble Code (DTC) List in Engine Controls - 8.1L | System OK |