GM Service Manual Online
For 1990-2009 cars only
Makes
🢒
Chevrolet
🢒
2004
🢒
Chevy Suburban - 4WD
🢒
Suspension
🢒
Electronic Suspension Control (ESC)
🢒 Suspension Controls Schematics
Figure
1:
Power, Ground, and Serial Data
Master Electrical Component List
Electronic Suspension Control Description and Operation
Steering Wheel Speed/Position Sensor Inputs
B+ Bus - 1 of 2
Ignition Switch - START, and RUN Bus Bars
IGN 3 Fuse - 1 of 2
RTD, RR WPR, EAP, SUNROOF Fuses
IGN 3 Fuse - 1 of 2
G304, G305
G306
G410 - 1 of 3
SP206
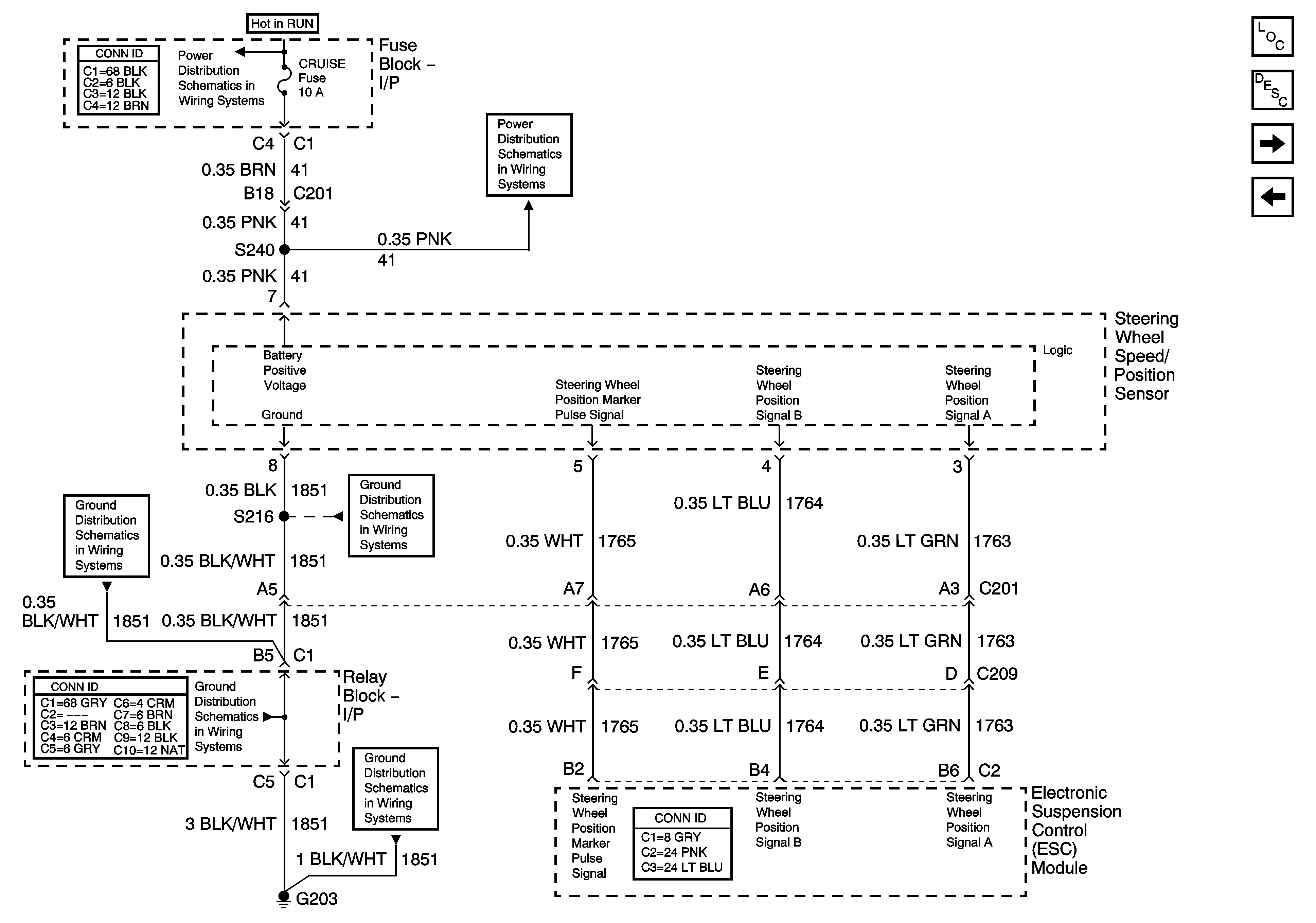
Figure
2:
Steering Wheel Speed/Position Sensor Inputs
Master Electrical Component List
Electronic Suspension Control Description and Operation
Suspension Position Sensors
Power, Ground, and Serial Data
Ignition Switch - START, and RUN Bus Bars
BRAKE, HTR/AC, HVAC I, CRUISE, 4WD Fuses
G203 - 2 of 3
G203 - 3 of 3
G203 - 1 of 3
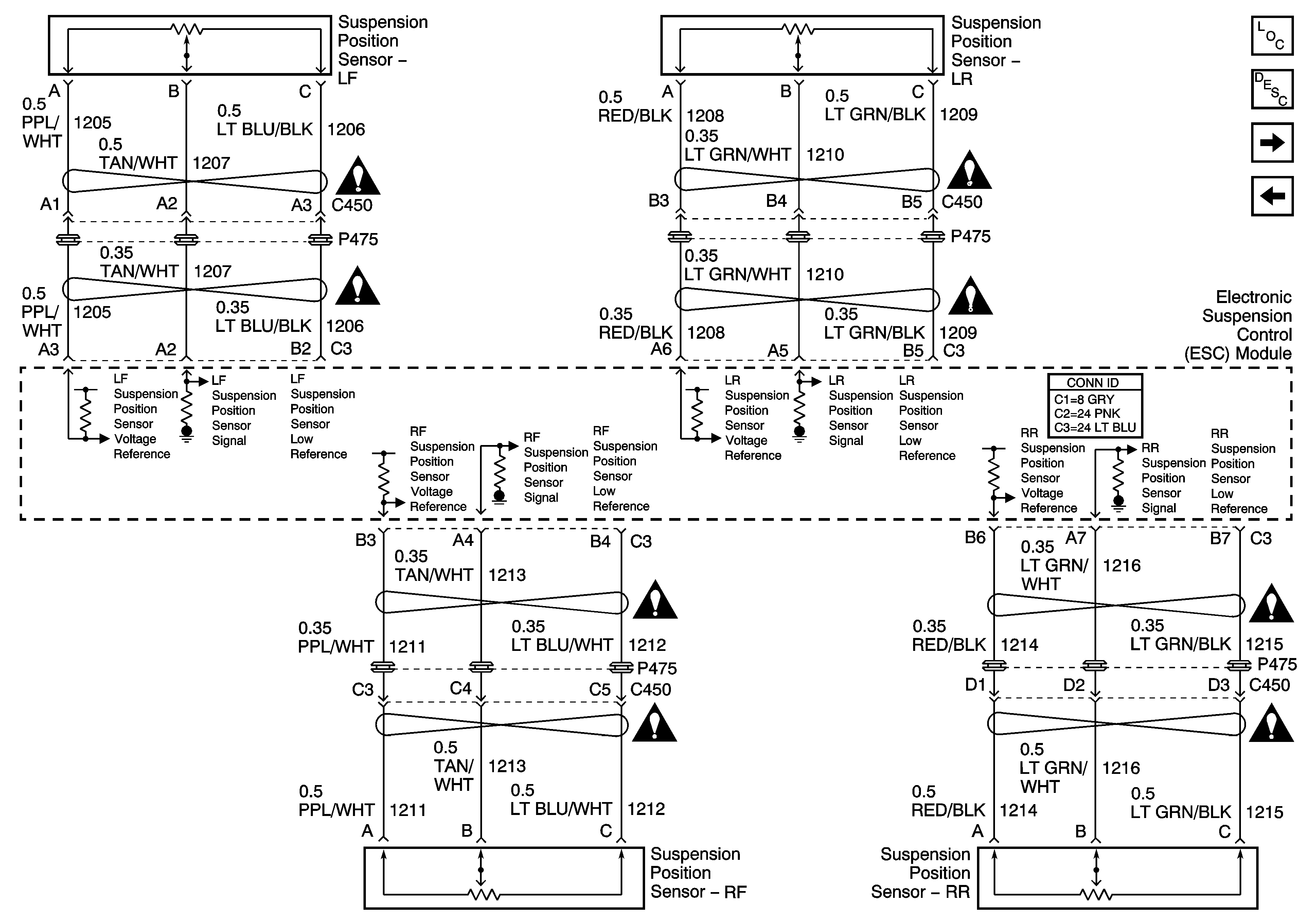
Figure
3:
Suspension Position Sensors
Master Electrical Component List
Electronic Suspension Control Description and Operation
Suspension Damper Solenoids
Steering Wheel Speed/Position Sensor Inputs
Suspension Controls Schematic Icons
Suspension Controls Schematic Icons
Suspension Controls Schematic Icons
Suspension Controls Schematic Icons
Suspension Controls Schematic Icons
Suspension Controls Schematic Icons
Suspension Controls Schematic Icons
Suspension Controls Schematic Icons
Figure
4:
Suspension Dampers Solenoids
Master Electrical Component List
Electronic Suspension Control Description and Operation
Suspension Position Sensors