GM Service Manual Online
For 1990-2009 cars only
Makes
🢒
Chevrolet
🢒
2004
🢒
Chevy Suburban - 4WD
🢒
Body
🢒
Lighting Systems
🢒 Cruise Control Schematics
Figure
1:
Power, Cruise Control Switch, and Stop Lamp Feed
Master Electrical Component List
Cruise Control Description and Operation
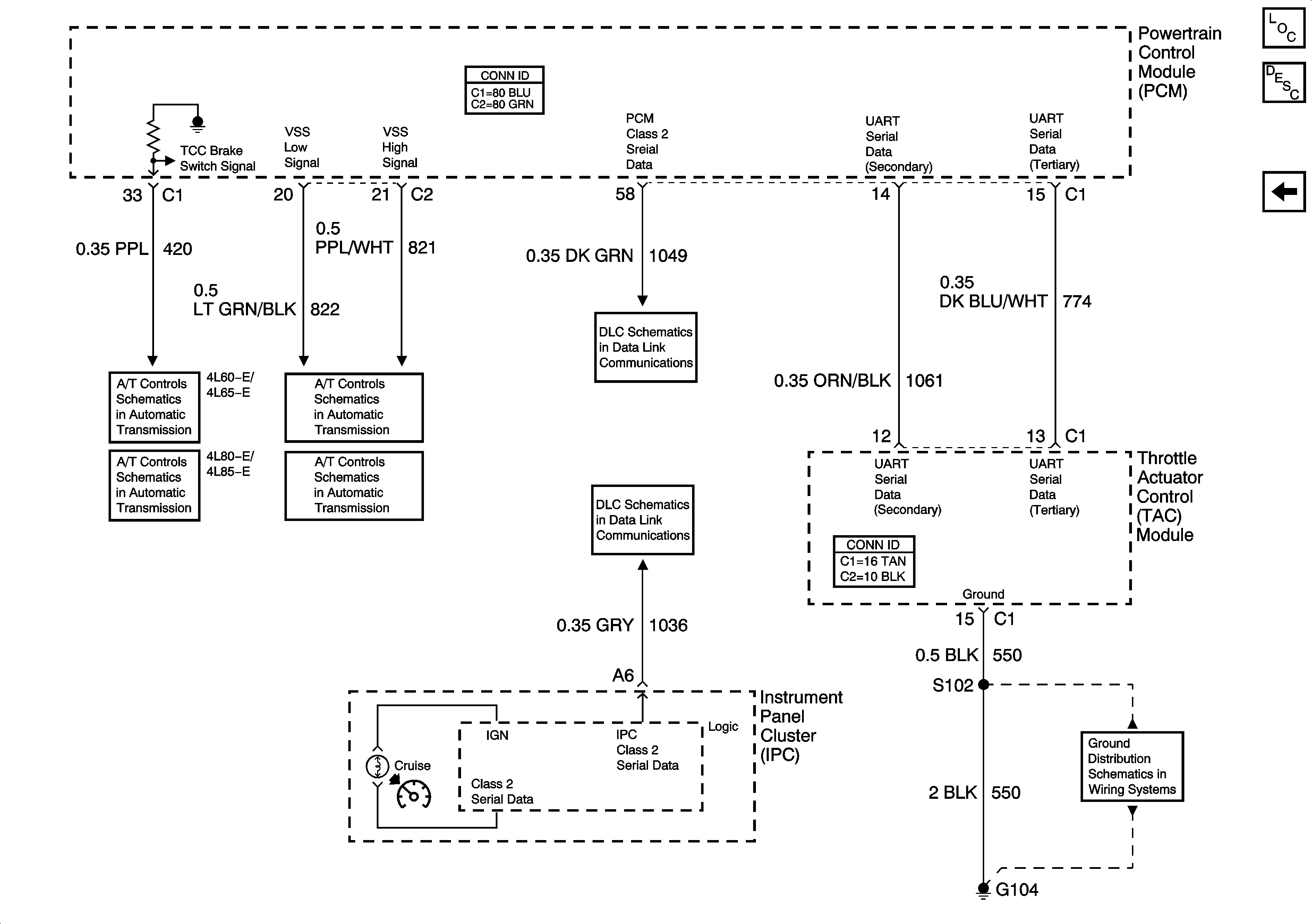
Ground and Class 2 Serial Data
IGN 1 Relay Bus Bar, SEO B2, B/U LP, BTSI, TRL B/U Fuses
Ignition Switch - START, and RUN Bus Bars
VEH CHMSL, VEH STOP, LT TRLR ST/TRN, RT TRLR ST/TRN Fuses
BRAKE, HTR/AC, HVAC I, CRUISE, 4WD Fuses
VEH CHMSL, VEH STOP, LT TRLR ST/TRN, RT TRLR ST/TRN Fuses
Figure
2:
Ground and Class 2 Serial Data
Master Electrical Component List
Cruise Control Description and Operation
Power, Cruise Control Switch, and Stop Lamp Feed
Valve Controls and Brake Switch
Vehicle Speed Signal and 4WD Low Signal
Valve Controls and Brake Switch
Vehicle Speed Signal and 4WD Low Signal
SP205 - 2 of 2
SP205 - 1 of 2
G104, G107