GM Service Manual Online
For 1990-2009 cars only
Makes
🢒
Chevrolet
🢒
2004
🢒
Chevy Suburban - 4WD
🢒
Accessories
🢒
Navigation Systems
🢒 Navigation System Schematics
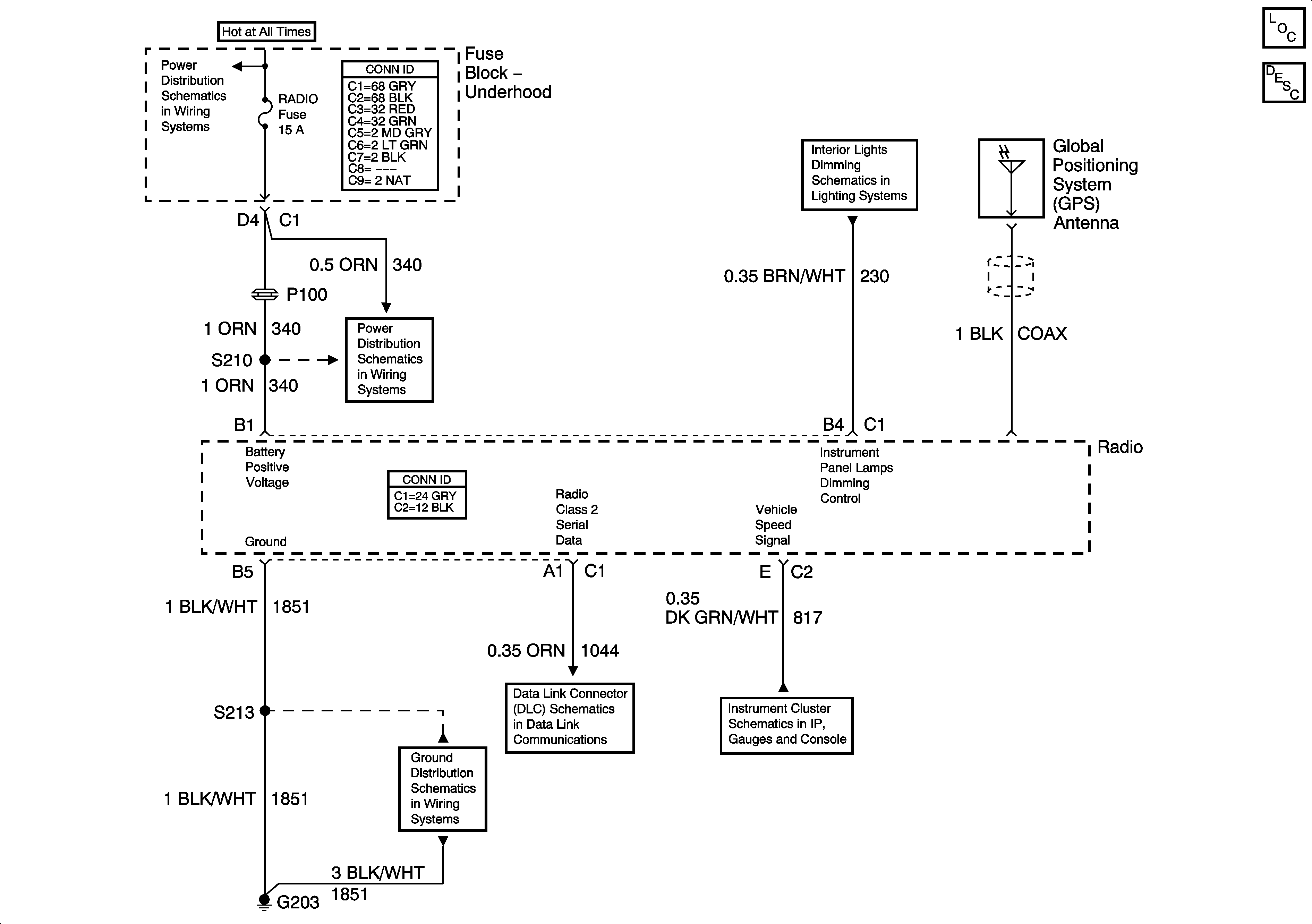
Master Electrical Component List
Navigation System Description and Operation
B+ Bus - 1 of 2
4WS, RADIO, RADIO AMP Fuses
I/P Dimming Supply Voltage - 5 of 7
SP205 - 2 of 2
Indicators
G203 - 1 of 3