GM Service Manual Online
For 1990-2009 cars only
Makes
🢒
Chevrolet
🢒
2004
🢒
Chevy Suburban - 4WD
🢒
Accessories
🢒
Keyless Entry
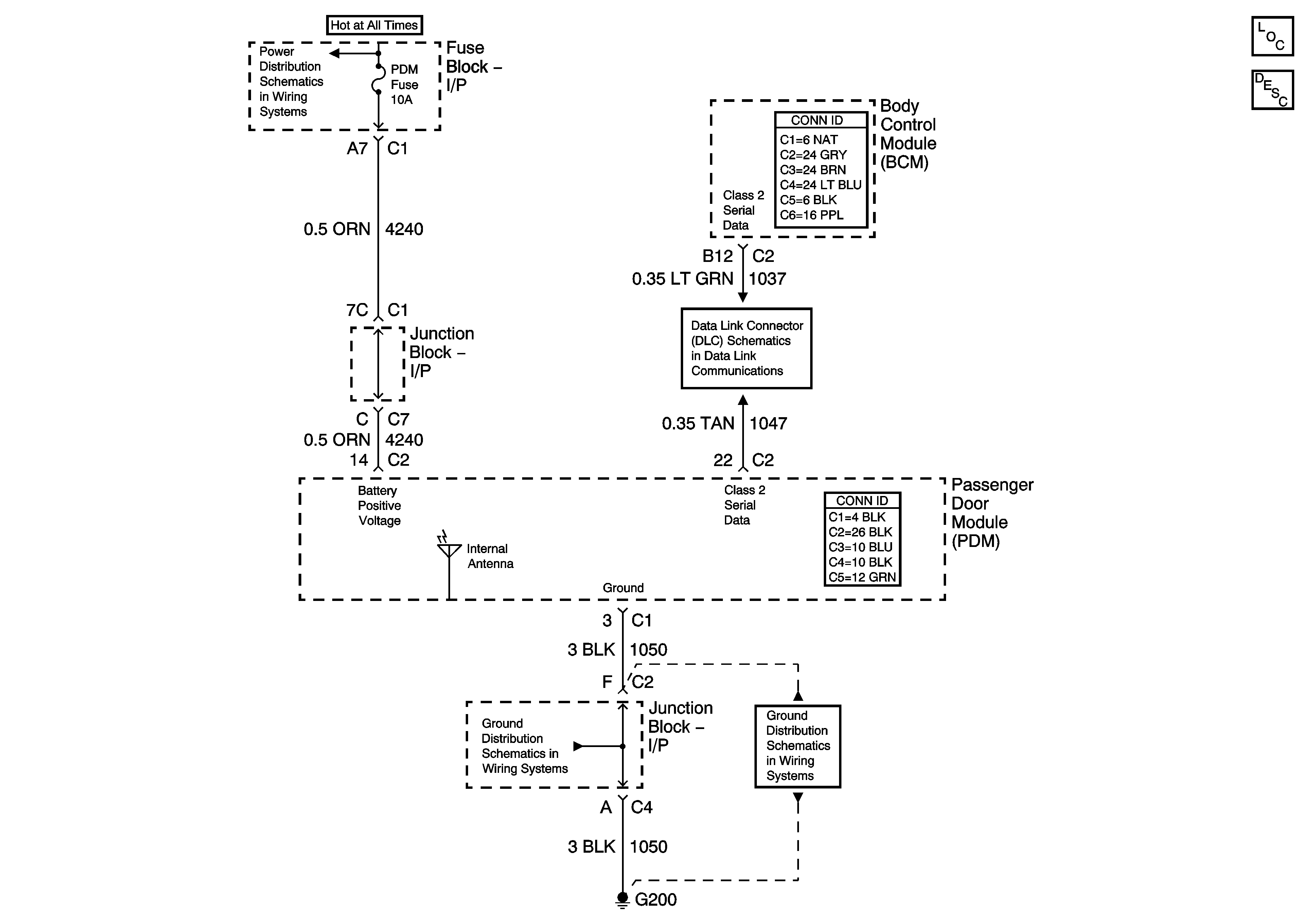
🢒 Keyless Entry Schematics
Master Electrical Component List
Keyless Entry System Description and Operation
DDM, PDM, ECC, AUX PWR 2, AUX PWR Fuses
SP205 - 1 of 2
G200 - 1 of 3
G200 - 1 of 3