GM Service Manual Online
For 1990-2009 cars only
Makes
🢒
Chevrolet
🢒
2004
🢒
Chevy Suburban - 4WD
🢒
Accessories
🢒
Theft Deterrent - Immobilizer - Some Export Vehicles
🢒 Theft Deterrent System Schematics
Master Electrical Component List
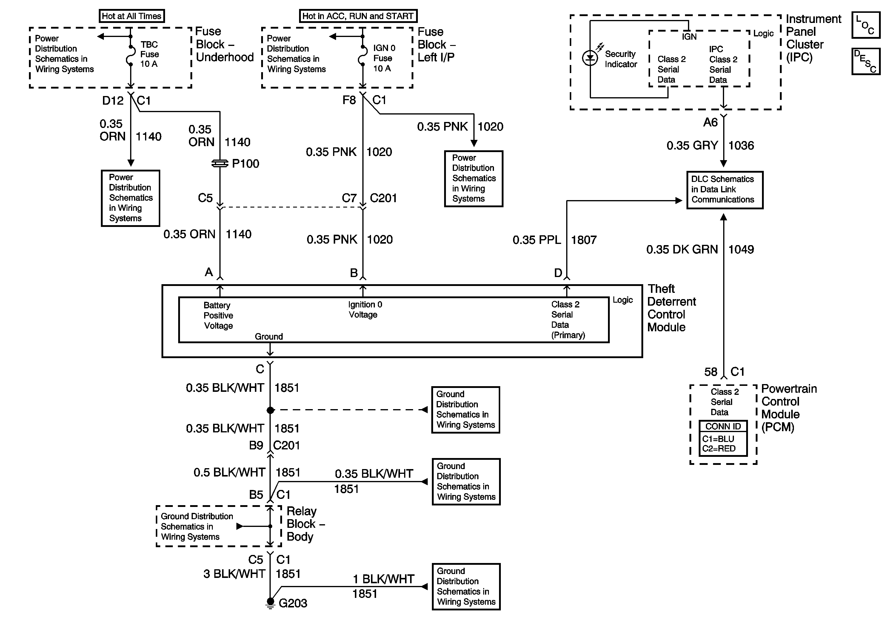
Vehicle Theft Deterrent (VTD) Description and Operation
B+ Bus - 1 of 2
IGN 0, TBC IGN 0, TBC ACCY, SEO ACCY, W/S WPR, RR WPR Fuses
ABS, VSES/ECAS, STUD #1, STUD #2, TBC BATT Fuses
IGN 0, TBC IGN 0, TBC ACCY, SEO ACCY, W/S WPR, RR WPR Fuses
SP205 - 2 of 2
G203 - 1 of 3
G203 - 3 of 3
G203 - 2 of 3
G203 - 1 of 3