GM Service Manual Online
For 1990-2009 cars only
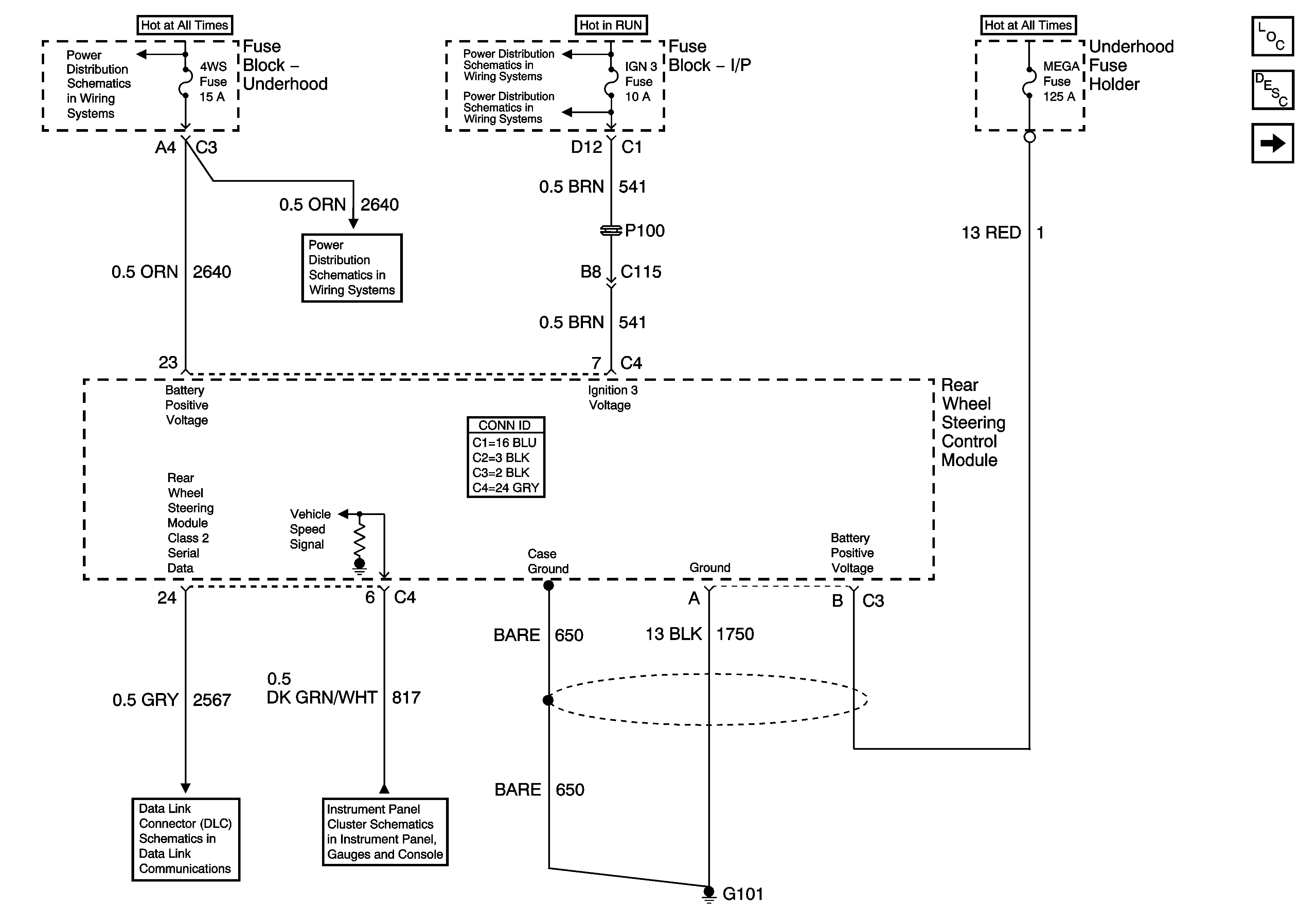
Figure 1:

Power, Ground, Serial Data and Vehicle Speed


Object Number: 1241620  Size: FS
Master Electrical Component List
Rear Wheel Steering Description and Operation
Mode Select Inputs
B+ Bus - 1 of 2
4WS, RADIO, RADIO AMP Fuses
Ignition Switch - START, and RUN Bus Bars
IGN 3 Fuse - 1 of 2
SP205 - 1 of 2
Vehicle Speed and Speedometer
Figure 2:

Mode Selection


Object Number: 1241641  Size: FS
Master Electrical Component List
Rear Wheel Steering Description and Operation
Steering Wheel/Speed Position Sensor
Power, Ground, Serial Data and Vehicle Speed
LED Dimming Supply Voltage - 1 of 2
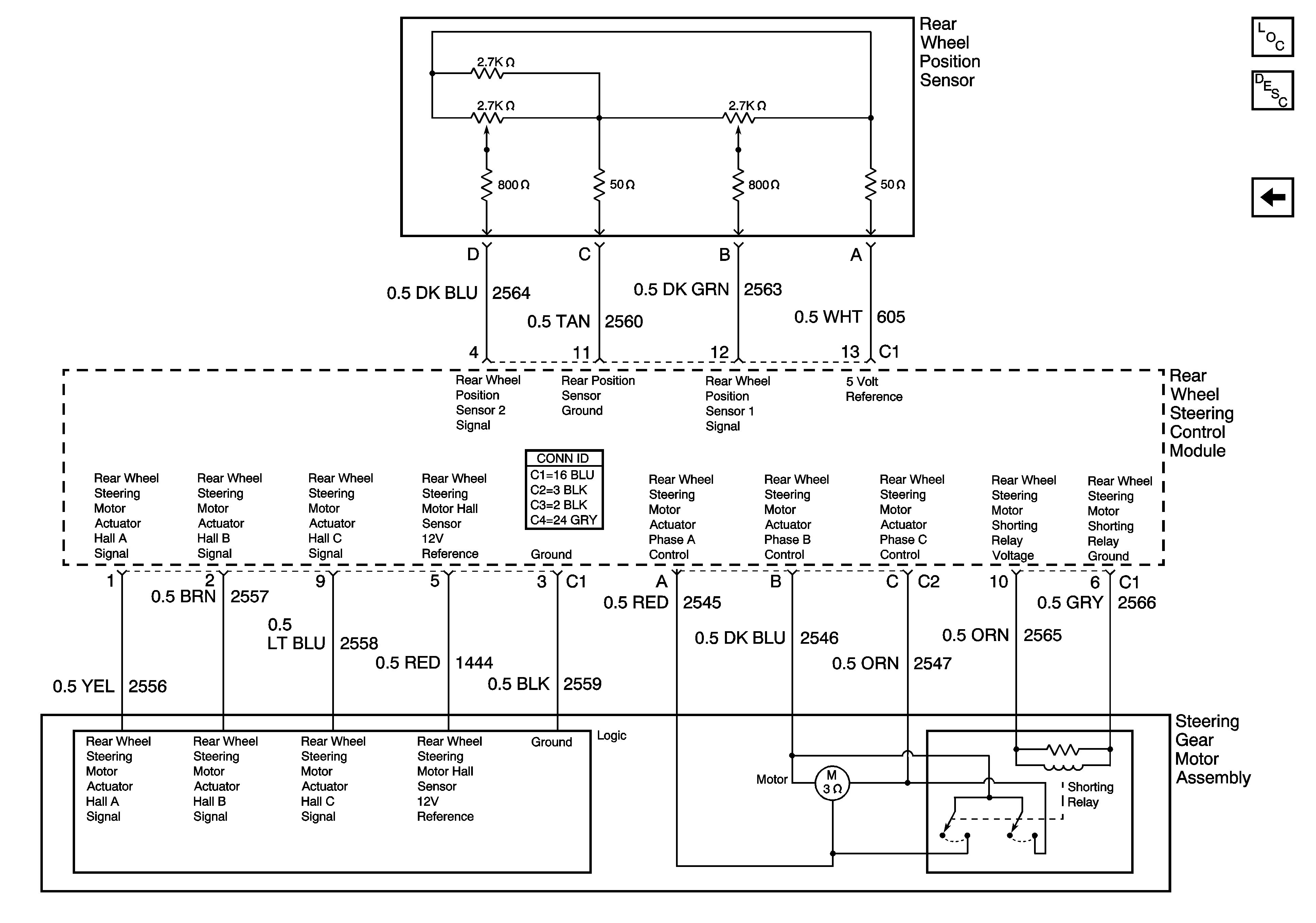
Figure 3:

Steering Wheel Speed/Position


Object Number: 1241651  Size: FS
Master Electrical Component List
Rear Wheel Steering Description and Operation
Rear Wheel Position Controls
Mode Select Inputs
Ignition Switch - START, and RUN Bus Bars
BRAKE, HTR/AC, HVAC I, CRUISE, 4WD Fuses
G203 - 3 of 3
G203 - 2 of 3
G203 - 1 of 3
G203 - 1 of 3
Passlock Sensor Inputs and Serial Data
Interior Lights and LED Dimming Control
Figure 4:

Rear Wheel Positon Controls


Object Number: 1241670  Size: FS
Master Electrical Component List
Rear Wheel Steering Description and Operation
Steering Wheel/Speed Position Sensor