|
| (16) | Control
Valve Body Bolt |
| (18) | Control
Valve Body Assembly |
| (19) | Oil Pump
Drive Shaft |
| (20) | Spacer Plate
Support Bolt |
| (21) | Spacer Plate
Support |
| (22) | Control
Valve Body to Spacer Plate Gasket |
| (23) | Control
Valve Body Spacer Plate - Model Dependent |
| (24) | Spacer
Plate to Channel Plate Gasket |
| (25) | Channel
Plate Bolt/Servo Cover Bolt |
| (25) | Channel
Plate Bolt/Servo Cover Bolt |
| (25) | Channel
Plate Bolt/Servo Cover Bolt |
| (26) | Checkballs
(7) |
| (27) | Channel
Plate |
| (28) | Case To
Channel Plate Gasket |
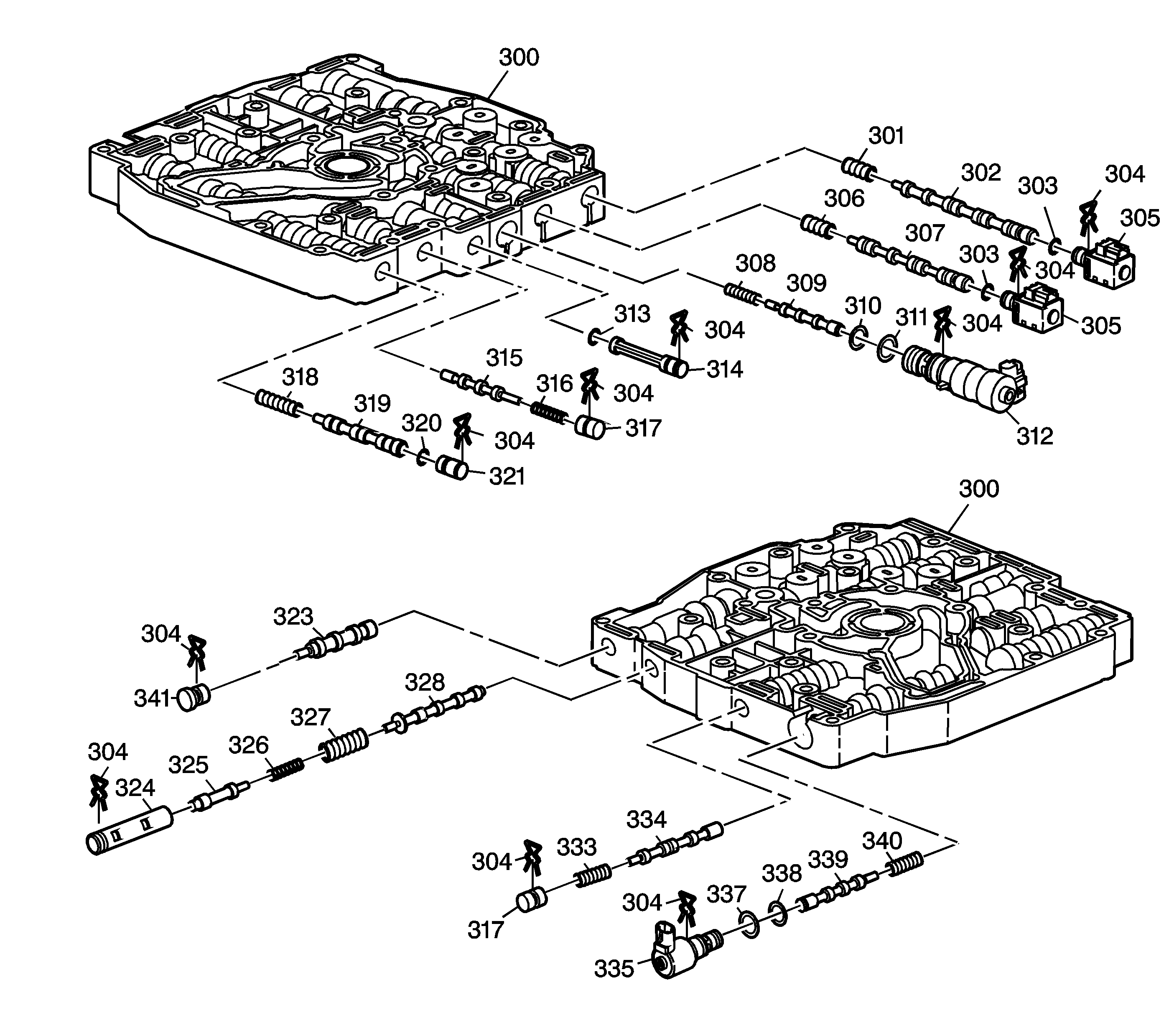
| (29) | Accumulator
Piston (1-2, 2-3 and 3-4) |
| (29) | Accumulator
Piston (1-2, 2-3 and 3-4) |
| (29) | Accumulator
Piston (1-2, 2-3 and 3-4) |
| (30) | Accumulator
Piston Seal (1-2, 2-3 and 3-4) |
| (30) | Accumulator
Piston Seal (1-2, 2-3 and 3-4) |
| (30) | Accumulator
Piston Seal (1-2, 2-3 and 3-4) |
| (31) | 1-2 Accumulator
Piston Spring |
| (32) | 2-3 and
3-4 Accumulator Piston Spring |
| (32) | 2-3 and
3-4 Accumulator Piston Spring |
| (45) | Dowel Pin |
| (47) | 2-3 Accumulator
Piston Cushion Spring |
| (48) | Line Pressure
Tap Plug |
| (49) | Cooler Pipe
Seal |
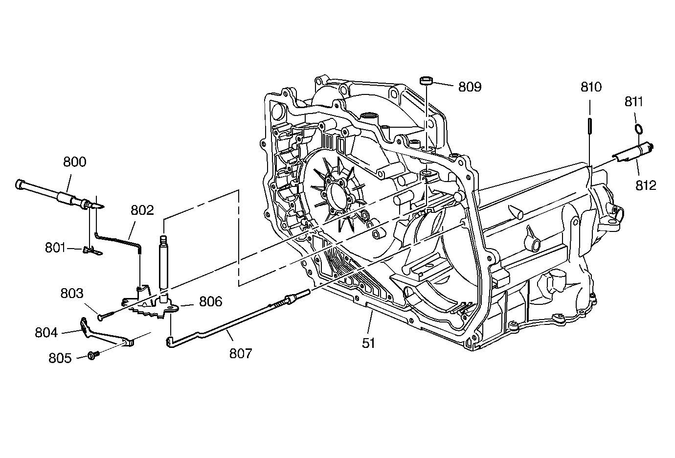
| (51) | Transaxle
Case |
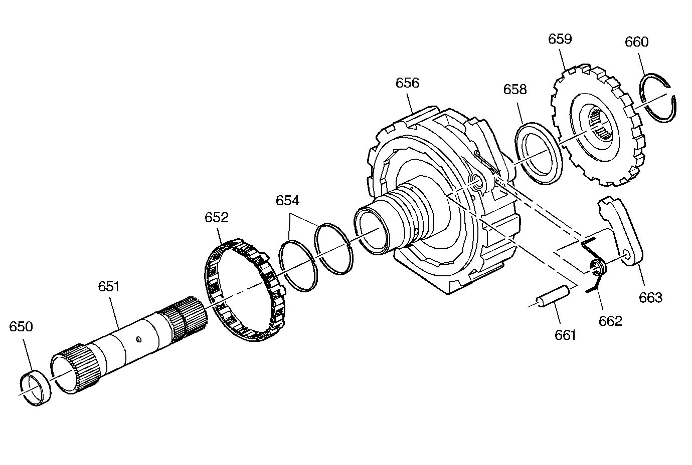
| (66) | Servo Return
Spring (Lo/Reverse) |
| (67) | Servo Apply
Pin (Lo/Reverse) |
| (68) | Servo Cushion
Spring |
| (68) | Servo Cushion
Spring |
| (69) | Servo Piston
(Lo/Reverse) |
| (70) | Servo Snap
Ring |
| (70) | Servo Snap
Ring |
| (71) | Servo Piston
Seal (Lo/Reverse) |
| (72) | Servo Cover
Seal (Lo/Reverse) |
| (73) | Servo Cover
(Lo/Reverse) |
| (75) | Servo Return
Spring (Intermediate/4th) |
| (76) | Servo Apply
Pin (Intermediate/4th) |
| (77) | Servo Piston
(Intermediate/4th) |
| (78) | Servo Piston
Seal (Intermediate/4th) |
| (79) | Servo Cover
Seal (Intermediate/4th) |
| (80) | Servo
Cover (Intermediate/4th) |
| (81) | Tube Assembly
Bolt/Bottom Pan Bolt |
| (81) | Tube Assembly
Bolt/Bottom Pan Bolt |
| (81) | Tube Assembly
Bolt/Bottom Pan Bolt |
| (82) | Oil Feed
Tube Assembly Seal |
| (82) | Oil Feed
Tube Assembly Seal |
| (82) | Oil Feed
Tube Assembly Seal |
| (82) | Oil Feed
Tube Assembly Seal |
| (83) | Oil Feed
Tube Assembly |
| (125) | 1-2
Accumulator Piston Cushion Spring and Retainer Assembly |