GM Service Manual Online
For 1990-2009 cars only
Makes
🢒
Chevrolet
🢒
2004
🢒
Chevy Suburban - 4WD
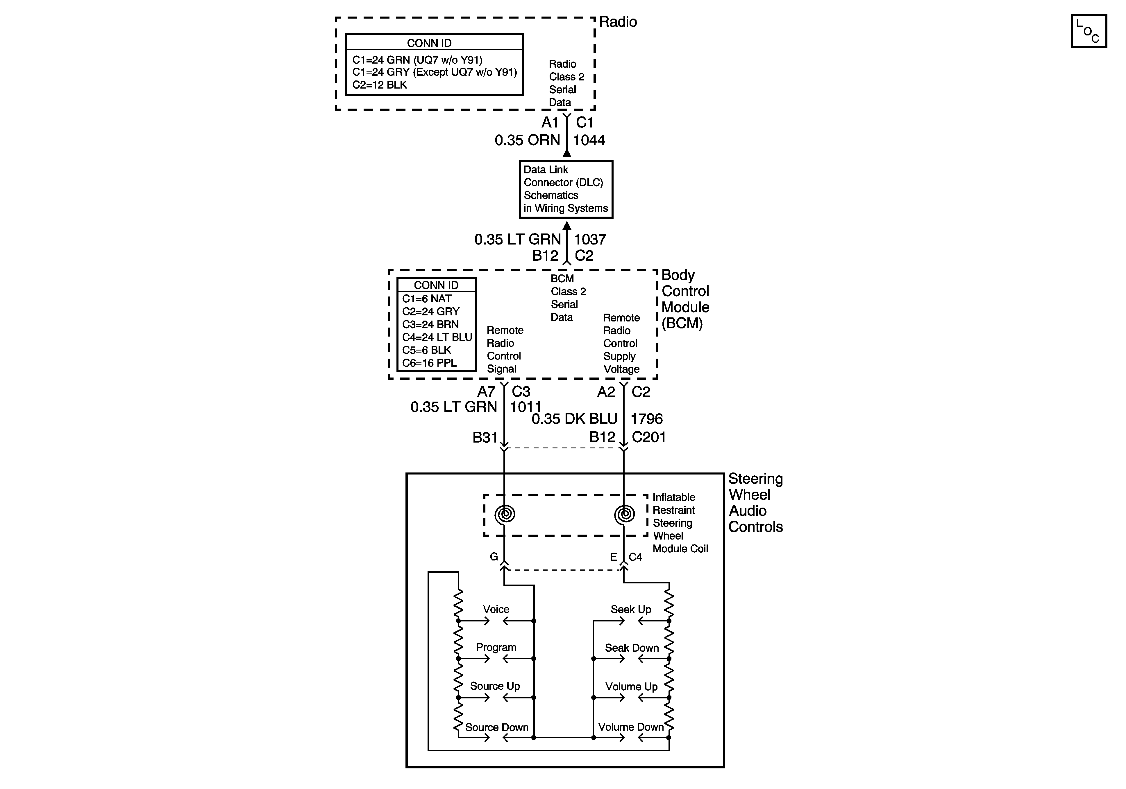
🢒 Steering Wheel Controls Schematics
Steering Wheel Controls Schematics
Master Electrical Component List
SP205 - 2 of 2