GM Service Manual Online
For 1990-2009 cars only
Makes
🢒
Chevrolet
🢒
2004
🢒
Chevy Suburban - 4WD
🢒 Driver and Front Passenger
Driver and Front Passenger
Driver and Front Passenger
Master Electrical Component List
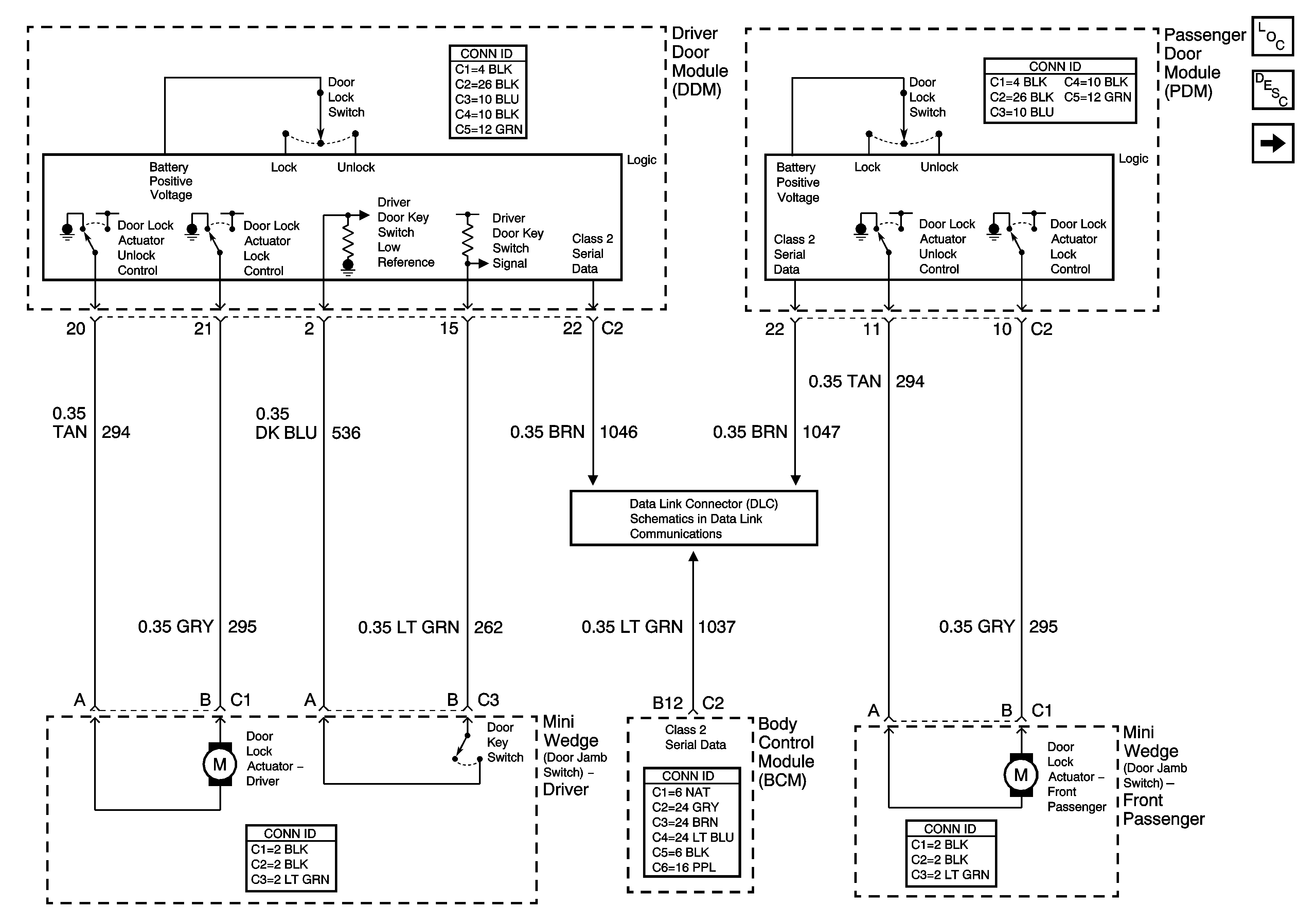
Power Door Locks Description and Operation
Rear Control
SP205 - 1 of 2