GM Service Manual Online
For 1990-2009 cars only

Object Number: 1417696  Size: MF
Master Electrical Component List
Automatic Transmission Controls Schematics
OBD II Symbol Description Notice

Circuit Description

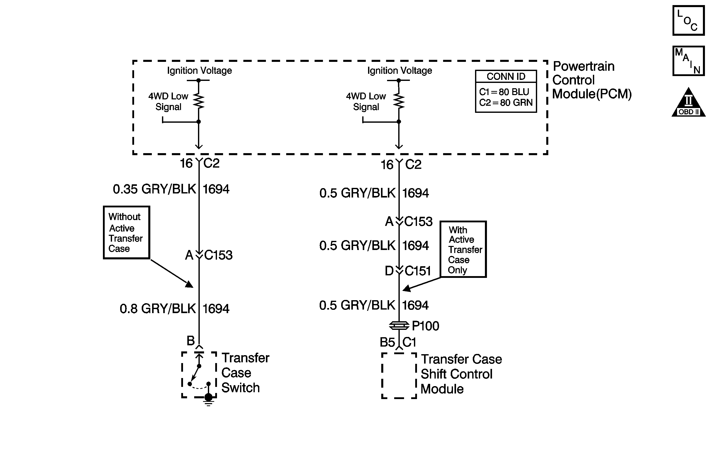
Vehicles equipped with an active transfer case have a four-wheel drive (4WD) low circuit consisting of a powertrain control module (PCM), an active transfer case control module, and the circuit wiring. The active transfer case control module controls the 4WD low signal circuit. When the operator selects 4WD low, the active transfer case control module grounds the low signal circuit, and the 4WD low signal voltage on the circuit changes from ignition voltage to zero volts. The PCM then compensates for transfer case gear reduction in the automatic transmission output shaft speed (AT OSS) signal. The PCM uses the transmission VSS signal to adjust shift points, line pressure and torque converter clutch (TCC) scheduling.

Vehicles not equipped with an active transfer case have a 4WD low circuit consisting of a PCM, transfer case switch and the circuit wiring. The transfer case switch is used to control the 4WD low signal circuit. When the operator moves the 4WD selector lever to 4WD low, the transfer case switch closes, and the 4WD low signal circuit changes from B+ voltage to zero volts. The PCM then compensates for transfer case gear reduction in the automatic transmission output shaft speed sensor (AT OSS) readings. The PCM uses the transmission VSS signal in order to adjust shift points, line pressure and TCC scheduling.

If the PCM detects a continuous open or short to ground in the 4WD low signal circuit, DTC P2771 sets. DTC P2771 is a type C DTC. For California emissions vehicles DTC P2771 is a type B DTC.

Conditions for Running the DTC

    • No MAF DTCs P0101, P0102, or P0103.
    • No MAP sensor DTCs P0106, P0107 or P0108.
    • No TP sensor DTCs P0120 or P0220.
    • No AT VSS DTCs P0502 or P0503.
    • No AT ISS DTCs P0716 or P0717.
    • No 1-2 SS valve DTCs P0751, P0752 or P0753.
    • No 2-3 SS valve DTCs P0756, P0757 or P0758.
    • No TFP manual valve position switch DTC P1810.
    • No TCC Stuck OFF DTC P0742.
    • No TCC PWM solenoid DTC P2761.
    • The TFP manual valve position switch is D4.
    • The TP Sensor is 5-100 percent.
    • The TFT is 20-130°C (68-266°F).
    • The engine torque must be between 95 N·m (70 lb ft) and:
       - 6.0L: 542 N·m (400 lb ft)
       - 8.1L: 881 N·m (650 lb ft)
    • Vehicle speed is 2 km/h (1 mph) or greater.

Conditions for Setting the DTC

One of the following conditions occur:

    • The four-wheel drive low circuit is closed, grounded, for more than 7 seconds with a transfer case ratio of 0.95-1.05:1, for 1 occurrence.
    • The four-wheel drive low circuit is open for 2 seconds, with a transfer case ratio of 2.65-2.76:1 in two different commanded gears for 2 occurrences.

Action Taken When the DTC Sets

    • The PCM assumes a 4WD low state if measured transfer case ratio is between 2.68 and 2.76.
    • The PCM assumes a non-4WD low state if the measured transfer case ratio is 0.95-1.05.
    • The PCM freezes transmission adaptive functions.
    • The PCM records the operating conditions when the Conditions for Setting the DTC are met. The PCM stores this information as Freeze Frame, California only, and Failure Records, California and Federal.
    • The PCM stores the DTC P2771 in PCM history during the second consecutive trip, California, or the first trip, Federal, in which the Conditions for Setting the DTC are met.

Conditions for Clearing the MIL/DTC

    • For California emissions, the PCM turns OFF the MIL during the third consecutive trip in which the diagnostic test runs and passes.
    • A scan tool can clear the MIL/DTC.
    • For California emissions, the PCM clears the DTC from PCM history if the vehicle completes 40 warm-up cycles without an emission related diagnostic fault occurring.
    • For Federal emissions, the PCM clears the DTC from PCM history if the vehicle completes 40 warm-up cycles without a non-emission related diagnostic fault occurring.
    • The PCM cancels the DTC default actions when the fault no longer exists and the ignition switch is OFF long enough in order to power down the PCM.

Diagnostic Aids

    • Low pump pressure and a slipping transmission may cause DTC P2771 to set.
    • Transfer case ratio is calculated by dividing the ISS by the OSS.

Test Description

The numbers below refer to the step numbers on the diagnostic table.

  1. This step tests for a short to ground in the signal circuit.

  2. This step tests for an open in the signal circuit, a faulty transfer case control module, active transfer case vehicles, or transfer case switch, non-active transfer case vehicles.

Step

Action

Value(s)

Yes

No

1

Did you perform the Diagnostic System Check - Engine Controls?

--

Go to Step 2

Go to Diagnostic System Check - Engine Controls in Engine Controls - 6.0L or Diagnostic System Check - Engine Controls in Engine Controls - 8.1L

2

  1. Install a scan tool.
  2. Turn ON the ignition, with the engine OFF.
  3. Important: Before clearing the DTCs, use the scan tool in order to record the Freeze Frame and Failure Records. Using the Clear Info Function erases the Freeze Frame and Failure Records from the PCM.

  4. Record the Freeze Frame and Failure Records.
  5. Clear the DTCs.
  6. Place the transmission in NEUTRAL.
  7. Select 4WD, then 4WD Low on the transfer case selector lever.

Does the 4WD Low on the scan tool display Disabled when 4WD is selected, then Enabled when 4WD Low is selected?

--

Go to Intermittent Conditions in Engine Controls - 6.0L or Intermittent Conditions in Engine Controls - 8.1L

Go to Step 3

3

  1. Turn OFF the ignition switch.
  2. Disconnect the active transfer case control module connector, for active transfer case vehicles, or the transfer case switch connector, for non-active transfer case vehicles.
  3. Turn ON the ignition, with the engine OFF.

Does the 4WD Low on the scan tool indicate Enabled?

--

Go to Step 6

Go to Step 4

4

  1. Ground C1-B5 of the active transfer case control module connector, for active transfer case vehicles, or terminal B of the transfer case switch connector, for non-active transfer case vehicles, to ground.
  2. Ensure that the scan tool displays 4WD Low.

Does 4WD Low on the scan tool indicate Enabled when the signal circuit is grounded?

--

Go to Step 5

Go to Step 7

5

Replace the active transfer case control module on the active transfer case vehicles, or the transfer case switch on the non-active transfer case vehicles.

Refer to Transfer Case Shift Control Module Replacement in Transfer Case - BW 4482-NR4 or Transfer Case Shift Control Module Replacement in Transfer Case - NVG 246-NP8, for active transfer case vehicles. Refer to Transfer Case Shift Control Switch Replacement in Transfer Case - BW 4482-NR4 or Transfer Case Shift Control Switch Replacement in Transfer Case - NVG 246-NP8 for non-active transfer case vehicles.

Did you complete the replacement?

--

Go to Step 9

--

6

  1. Test the 4WD Low signal circuit for a short to ground.
  2. Repair the circuit if necessary.

Refer to Testing for Short to Ground and Wiring Repairs in Wiring Systems.

Did you find and correct the condition?

--

Go to Step 9

Go to Step 8

7

  1. Test the 4WD Low signal circuit for an open.
  2. Repair the circuit if necessary.

Refer to Testing for Continuity and Wiring Repairs in Wiring Systems.

Did you find and correct the condition?

--

Go to Step 9

Go to Step 8

8

Replace the PCM.

Refer to Powertrain Control Module Replacement in Engine Controls - 6.0L or Powertrain Control Module Replacement in Engine Controls - 8.1L.

Did you complete the replacement?

--

Go to Step 9

--

9

Perform the following procedure in order to verify the repair:

  1. Select DTC.
  2. Select Clear Info.
  3. Operate the vehicle under the following conditions:
  4. • Select 4WD Low on the 4WD selector and drive the vehicle. The transfer case gear ratio must be 2.68-2.76 for 1 second in 4th gear with the TCC locked.
    • Select 4WD on the selector and drive the vehicle. The gear ratio must be 0.95-1.05 for 0.5 second in any one gear.
  5. Select Specific DTC.
  6. Enter DTC P2771.

Has the test run and passed?

--

Go to Step 10

Go to Step 2

10

With the scan tool, observe the stored information, capture info and DTC info.

Does the scan tool display any DTCs that you have not diagnosed?

--

Go to Diagnostic Trouble Code (DTC) List in Engine Controls - 6.0L or Diagnostic Trouble Code (DTC) List in Engine Controls - 8.1L

System OK