GM Service Manual Online
For 1990-2009 cars only
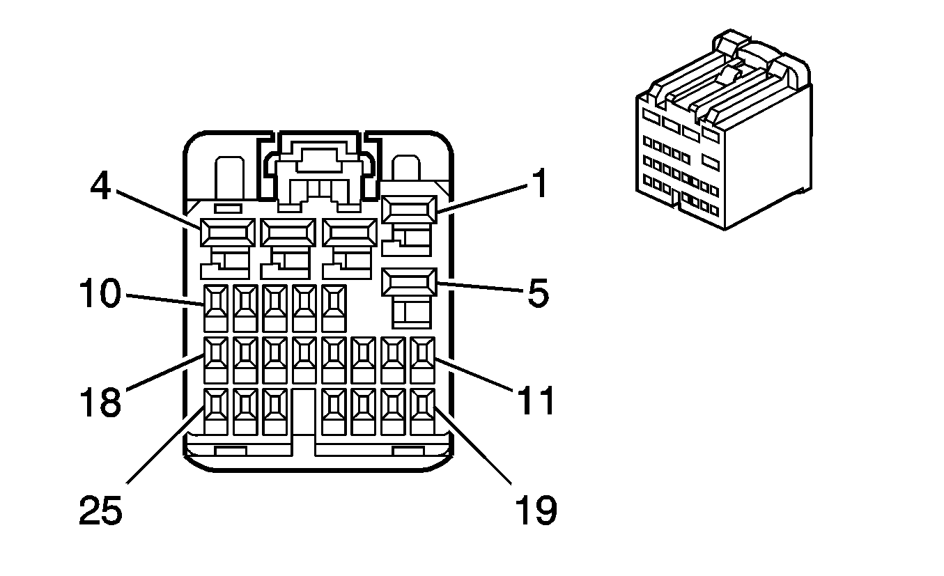
Connector 1: Auxiliary Body Control Module (XBCM) C1 (Export)
Connector 2: Auxiliary Body Control Module (XBCM) C2 (Export)
Connector 3: Body Control Module (BCM) C1
Connector 4: Body Control Module (BCM) C2
Connector 5: Body Control Module (BCM) C3
Connector 6: Body Control Module (BCM) C4
Connector 7: Body Control Module (BCM) C5
Connector 8: Body Control Module (BCM) C6
Connector 9: Body Control Module (BCM) C7
Connector 10: Data Link Connector (DLC)
Connector 11: GMLAN Terminator

Auxiliary Body Control Module (XBCM) C1 (Export)


Object Number: 73156  Size: CH

Connector Part Information

  • OEM: 12110088
  • Service: 15306210
  • Description: 24-Way F Micro-Pack 100 Series (GY)

Terminal Part Information

  • Terminal/Tray: 12146447/3
  • Core/Insulation Crimp: E/C
  • Release Tool/Test Probe: 12031876-1/J-35616-6 (BN)

Auxiliary Body Control Module (XBCM) C1 (Export)

Pin

Wire Color

Circuit No.

Function

A1

BK

1050

Ground

A2

RD/WH

2640

Battery Positive Voltage

A3

D-GN

5060

Low Speed GMLAN Serial Data

A4-A6

--

--

Not Used

A7

BK/WH

1851

Ground

A8

L-BU

187

Rear Fog Lamp Switch Signal

A9

--

--

Not Used

A10

PK

7141

Trailer Connected Signal Trailer

A11

--

--

Not Used

A12

YE

1618

Trailer Left Rear Turn/Stop Lamp Supply Voltage

B1

L-BU

1320

CHMSL Supply Voltage

B2

PK

239

Ignition 1 Voltage

B3-B10

--

--

Not Used

B11

D-GN

1619

Trailer Right Rear Turn/Stop Lamp Supply Voltage

B12

--

--

Not Used

Auxiliary Body Control Module (XBCM) C2 (Export)


Object Number: 1552610  Size: CH

Connector Part Information

  • OEM: 15357040
  • Service: 12110626
  • Description: 8-Way F Metri-Pack 280 (L-GY)

Terminal Part Information

  • Terminal/Tray: 12110844/4
  • Core/Insulation Crimp: Pins A, B - C/A
  • Core/Insulation Crimp: Pins G, H - E/A
  • Release Tool/Test Probe: 15315247/J-35616-4A (PU)

Auxiliary Body Control Module (XBCM) C2 (Export)

Pin

Wire Color

Circuit No.

Function

A

L-BU

1620

CHMSL Supply Voltage

B

RD/WH

4540

Battery Positive Voltage

C-F

--

--

Not Used

G

OG

122

Rear Fog Lamp Supply Voltage

H

PU

7142

Trailer Fog Lamp

Body Control Module (BCM) C1


Object Number: 1664495  Size: CH

Connector Part Information

  • OEM: 15482789
  • Service: 88988838
  • Description: 27-Way F Receptacle 0.64 2.8 (L-GN)

Terminal Part Information

  • Terminal/Tray: SNAC3-A021T-M0.64/20
  • Core/Insulation Crimp: J/J
  • Release Tool/Test Probe: 12094429/J-35616-64B (L-BU)

Body Control Module (BCM) C1

Pin

Wire Color

Circuit No.

Function

1

--

--

Not Used

2

PK/BK

1020

Ignition 0 Voltage

3

GY

1884

Cruise Control Switch Signal

4

WH

530

5-Volt Reference

5

L-GN

1715

Windshield Wiper Switch High Signal

6

L-GN

6818

Steering Wheel Control Switch Signal

7

--

--

Not Used

8

TN/BK

6009

Low Reference

9

L-BU

1714

Windshield Wiper Switch Low Signal

10-13

--

--

Not Used

14

PK

3

Ignition 1 Voltage

15

D-GN

663

Hazard Switch Left Turn Signal

16

TN

664

Hazard Switch Right Turn Signal

17

PK

1444

12-Volt Reference

18

YE

525

Headlamp Dimmer Switch Signal

19

WH

111

Hazard Switch Signal

20

PU

5526

Tap Up/Tap Down Switch Signal (MYC)

21

BN

4

Ignition 1 Voltage

22

--

--

Not Used

23

L-BU

553

Tow/Haul Switch Signal

24

PK

94

Windshield Washer Switch Signal

25

YE

307

Headlamp Flash to Pass Signal

26

TN/WH

816

A/T Shift Lock Solenoid Supply Voltage

27

--

--

Not Used

Body Control Module (BCM) C2


Object Number: 1664496  Size: CH

Connector Part Information

  • OEM: 15482790
  • Service: 88988839
  • Description: 25-Way F HIT Series (NA)

Terminal Part Information

  • Pins: 1-5
  • Terminal/Tray: SNAC-A061T-M2.8/20
  • Core/Insulation Crimp: E/A
  • Release Tool/Test Probe: 12094429/J-35616-4A (PU)
  • Pins: 6-25
  • Terminal/Tray: SNAC3-A021T-M0.64/20
  • Core/Insulation Crimp: J/J
  • Release Tool/Test Probe: 12094429/J-35616-64B (L-BU)

Body Control Module (BCM) C2

Pin

Wire Color

Circuit No.

Function

1

OG

6815

Inadvertent Power Control

2

RD/WH

2540

Battery Positive Voltage

3

BN/WH

230

Instrument Panel Lamp Dimming Control

4

--

--

Not Used

5

GY

157

Interior Lamp Control

6-7

--

--

Not Used

8

L-BU

13

Headlamp Switch Park Lamp Signal

9-10

--

--

Not Used

11

WH

278

Ambient Light Sensor Signal

12

WH

103

Headlamp Switch On Signal

13-16

--

--

Not Used

17

D-GN

306

Headlamp Switch Headlamps Off Signal

18

D-BU/WH

149

Courtesy Lamp Supply Voltage

19

--

--

Not Used

20

PU

5357

Right Tail Lamp Outage Detection Signal (Z75)

21

L-BU

1788

Traction Control Switch Signal

22

D-BU

38

Backup Lamp Relay Control

23-24

--

--

Not Used

25

PU

328

Interior Lamp Switch Voltage Supply Voltage

Body Control Module (BCM) C3


Object Number: 1664498  Size: CH

Connector Part Information

  • OEM: 15482791
  • Service: 88988840
  • Description: 25-Way F HIT Series (L-BU)

Terminal Part Information

  • Pins: 1-5
  • Terminal/Tray: SNAC-A061T-M2.8/20
  • Core/Insulation Crimp: E/A
  • Release Tool/Test Probe: 12094429/J-35616-4A (PU)
  • Pins: 6-25
  • Terminal/Tray: SNAC3-A021T-M0.64/20
  • Core/Insulation Crimp: J/J
  • Release Tool/Test Probe: 12094429/J-35616-64B (L-BU)

Body Control Module (BCM) C3

Pin

Wire Color

Circuit No.

Function

1

BK/WH

1851

Ground

2

RD/WH

2140

Battery Positive Voltage

3

RD/WH

3840

Battery Positive Voltage

4

--

--

Not Used

5

BK/WH

1851

Ground

6-7

--

--

Not Used

8

TN/BK

2500

High Speed GMLAN Serial Data Bus +

9

TN

2501

High Speed GMLAN Serial Data Bus -

10

D-GN

5060

Low Speed GMLAN Serial Data

11

D-GN

44

Instrument Panel Lamps Dimmer Switch Signal

12

OG/WH

812

12-Volt Reference or I/P Dimming Voltage Reference

13

PU

7062

Brake Pedal Switch Normally Closed Contact Signal

14-15

--

--

Not Used

16

TN/BK

2500

High Speed GMLAN Serial Data Bus +

17

TN

2501

High Speed GMLAN Serial Data Bus -

18

YE

6817

LED Backlight Dimming Control

19

L-BU

5986

Serial Data Communication Enable

20

--

--

Not Used

21

OG

192

Front Fog Lamp Switch Signal (T96)

22

L-GN/WH

7158

Cruise Control Indicator Dimming Signal

23-24

--

--

Not Used

25

PU/WH

6816

Indicator Dimming Control

Body Control Module (BCM) C4


Object Number: 1664499  Size: CH

Connector Part Information

  • OEM: 15482792
  • Service: 88988841
  • Description: 25-Way F HIT Series (BK)

Terminal Part Information

  • Pins: 1-5
  • Terminal/Tray: SNAC-A061T-M2.8/20
  • Core/Insulation Crimp: E/A
  • Release Tool/Test Probe: 12094429/J-35616-4A (PU)
  • Pins: 6-25
  • Terminal/Tray: SNAC3-A021T-M0.64/20
  • Core/Insulation Crimp: J/J
  • Release Tool/Test Probe: 12094429/J-35616-64B (L-BU)

Body Control Module (BCM) C4

Pin

Wire Color

Circuit No.

Function

1

RD/WH

2740

Battery Positive Voltage

2

RD/WH

3040

Battery Positive Voltage

3

RD/WH

2940

Battery Positive Voltage

4

RD/WH

2240

Battery Positive Voltage

5

D-BU/WH

1315

Right Front Turn Signal Lamp Supply Voltage

6

--

--

Not Used

7

YE

196

Windshield Wiper Motor Park Switch Signal

8

--

--

Not Used

9

BK/WH

451

Ground

10

RD/WH

2840

Battery Positive Voltage

11

D-GN/WH

1317

Fog Lamp Relay Control (T96)

12

YE

5187

Right Trailer Turn Signal Lamp

13

OG

5186

Left Trailer Turn Signal Lamp

14

L-GN

482

Outside Moisture Sensor Signal 2 (CE1)

15

OG

2268

Windshield Washer Relay Control

16

TN/WH

1969

Headlamp High Beam Relay Control

17

PK/BK

109

Hood Ajar Switch Signal

18

TN

481

Outside Moisture Sensor Signal 1 (CE1)

19

D-BU

5985

Accessory Wakeup Serial Data

20

--

--

Not Used

21

YE

5199

Run/Crank Relay Coil Control

22

--

--

Not Used

23

L-GN/BK

592

DRL Relay Control

24-25

--

--

Not Used

Body Control Module (BCM) C5


Object Number: 1664500  Size: CH

Connector Part Information

  • OEM: 15480179
  • Service: 88988837
  • Description: 25-Way F HIT Series (BN)

Terminal Part Information

  • Pins: 1-5
  • Terminal/Tray: SNAC-A061T-M2.8/20
  • Core/Insulation Crimp: E/A
  • Release Tool/Test Probe: 12094429/J-35616-4A (PU)
  • Pins: 6-25
  • Terminal/Tray: SNAC3-A021T-M0.64/20
  • Core/Insulation Crimp: J/J
  • Release Tool/Test Probe: 12094429/J-35616-64B (L-BU)

Body Control Module (BCM) C5

Pin

Wire Color

Circuit No.

Function

1

YE/BK

1334

Left Rear Turn Signal Lamp Supply Voltage (X88/Z88/Z75 Export w/E52)

YE

18

Left Rear Stop/Turn Lamp Supply Voltage (X88 Except E52/Domestic Z75)

2

D-GN/WH

1335

Right Rear Turn Signal Lamp Supply Voltage (X88/Z88/Z75 Export w/E52)

D-GN

19

Right Rear Stop/Turn Lamp Supply Voltage (X88 Except E52/Domestic Z75)

3

--

--

Not Used

4

L-BU/WH

1314

Left Front Turn Signal Lamp Supply Voltage

5

L-BU

1320

CHMSL Supply Voltage

6

L-BU/WH

6311

Cruise/ETC/TCC Brake Signal

7

WH

2282

Headlamp Washer Relay Control (CE4)

8

PK

5076

Current Sensor Supply Voltage

9

WH

5075

Current Sensor Signal

10

BN

5077

Current Sensor Low Reference

11

YE

43

Accessory Voltage

12

--

--

Not Used

13

OG

300

Ignition 3 Voltage

14

WH

2283

Rear Wiper/Washer Switch Supply Voltage

15

PU

5531

Hood Closed Switch Signal

16

L-BU

1134

Park Brake Switch Signal

17

YE

5356

Left Tail Lamp Outage Detection Signal (Z75)

18

TN

28

Horn Relay Control

19

YE

6812

Out of Park Signal

20

GY

91

Windshield Wiper Switch Signal 2

21

TN

860

Front Windshield Wiper Switch High Signal

22

--

--

Not Used

23

PK/WH

1970

Headlamp Low Beam Relay Control

24

D-BU

45

Park Lamp Relay Control

25

--

--

Not Used

Body Control Module (BCM) C6


Object Number: 1664502  Size: CH

Connector Part Information

  • OEM: 15482793
  • Service: 88988842
  • Description: 25-Way F HIT Series (PK)

Terminal Part Information

  • Pins: 1-5
  • Terminal/Tray: SNAC-A061T-M2.8/20
  • Core/Insulation Crimp: C/A
  • Release Tool/Test Probe: 12094429/J-35616-4A (PU)
  • Pins: 6-25
  • Terminal/Tray: SNAC3-A021T-M0.64/20
  • Core/Insulation Crimp: J/J
  • Release Tool/Test Probe: 12094429/J-35616-64B (L-BU)

Body Control Module (BCM) C6

Pin

Wire Color

Circuit No.

Function

1

--

--

Not Used

2

L-BU

20

Stop Lamp Supply Voltage

3-11

--

--

Not Used

12

PK/BK

1303

Liftgate Ajar Switch Signal (E52 Except E61)

13

GY

5797

Rear Closure Handle Switch Open Signal (E52 Except E61)

14

L-GN/BK

748

Right Rear Door Ajar Switch Signal

15

L-BU/BK

747

Left Rear Door Ajar Switch Signal

16

OG

5922

Non-Driver Door Open Switch Signal

17-21

--

--

Not Used

22

L-GN

5926

Rear Access Open Switch Signal (E52 Except E61)

23

--

--

Not Used

24

PK

6190

Lift Glass/Trunk Exterior Release Signal (E52 Except E61)

25

--

--

Not Used

Body Control Module (BCM) C7


Object Number: 1664505  Size: CH

Connector Part Information

  • OEM: 15466053
  • Service: 88988806
  • Description: 28-Way F HIT Series (GY)

Terminal Part Information

  • Terminal/Tray: SNAC3-A021T-M0.64/20
  • Core/Insulation Crimp: J/J
  • Release Tool/Test Probe: 12094429/J-35616-64B (L-BU)

Body Control Module (BCM) C7

Pin

Wire Color

Circuit No.

Function

1

YE

5704

Endgate Latch Relay Coil Control (E52 Except E61)

2

TN

6188

Lift Glass/Trunk Motor Release Control (E52 Except E61)

3

D-GN

5706

Endgate Latch Relay Supply Voltage (E52 Except E61)

4-6

--

--

Not Used

7

L-BU

195

Door Lock Control

8

--

--

Not Used

9

WH

194

Door Unlock Control

10-17

--

--

Not Used

18

L-GN

170

Power Window Master Switch Right Rear Up Signal

19

PU

169

Power Window Master Switch Left Rear Down Signal

20

--

--

Not Used

21

D-BU

1307

Power Window Master Switch Lockout Signal

22-25

--

--

Not Used

26

PU

171

Power Window Master Switch Right Rear Down Signal

27

L-BU/WH

280

Power Window Master Switch Lockout Right Rear Signal

28

D-GN

168

Power Window Master Switch Left Rear Up Signal

Data Link Connector (DLC)


Object Number: 68793  Size: CH

Connector Part Information

  • OEM: 12110250
  • Service: 12110250
  • Description: 16-Way F Metri-Pack 150 Series (BK)

Terminal Part Information

  • Pins: 1, 6, 14
  • Terminal/Tray: 12129373/5
  • Core/Insulation Crimp: See Terminal Repair Kit
  • Release Tool/Test Probe: See Terminal Repair Kit
  • Pins: 4, 5, 16
  • Terminal/Tray: 12129484/19
  • Core/Insulation Crimp: E/A
  • Release Tool/Test Probe: 12094429/J-35616-2A (GY)

Data Link Connector (DLC)

Pin

Wire Color

Circuit No.

Function

1

D-GN

5060

Low Speed GMLAN Serial Data

2-3

--

--

Not Used

4

BK

1050

Ground

5

BK/WH

1851

Ground

6

TN/BK

2500

High Speed GMLAN Serial Data Bus +

7-13

--

--

Not Used

14

TN

2501

High Speed GMLAN Serial Data Bus -

15

--

--

Not Used

16

RD/WH

640

Battery Positive Voltage

GMLAN Terminator


Object Number: 523630  Size: CH

Connector Part Information

  • OEM: 15326801
  • Service: 15306156
  • Description: 2-Way F GT 150 Series (BK)

Terminal Part Information

  • Terminal/Tray: 12191819/8
  • Core/Insulation Crimp: E/A
  • Release Tool/Test Probe: 15315247/J-35616-2A (GY)

GMLAN Terminator

Pin

Wire Color

Circuit No.

Function

A

TN/BK

2500

High Speed GMLAN Serial Data Bus +

B

TN

2501

High Speed GMLAN Serial Data Bus -