GM Service Manual Online
For 1990-2009 cars only

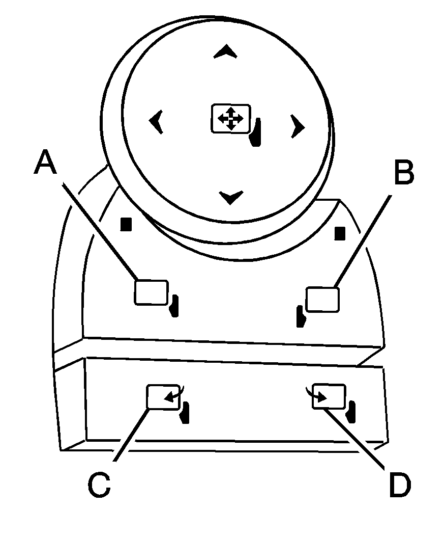
Object Number: 1581607  Size: A3

Vehicles with outside power foldaway mirrors have the controls located on the driver door armrest.

Mirror Adjustment

  1. Press (C) to fold the mirrors out to the driving position.
  2. Press (D) to fold the mirrors in to the folded position.

Resetting the Power Foldaway Mirrors

Reset the power foldaway mirrors if:

    • The mirrors are accidentally obstructed while folding.
    • They are accidentally manually folded/unfolded.
    • The mirrors will not stay in the unfolded position.
    • The mirrors shake and flutter at normal driving speeds.

Fold and unfold them one time using the mirror controls to reset them to their normal position.

Turn Signal Indicator

The vehicle may have a turn signal indicator on the mirror. An arrow on the mirror flashes in the direction of the turn or lane change.

Ground Illumination Lamps

The mirrors may also include ground illumination lamps in the base of the mirror. These lamps help to see the area near the base of the front doors when it is dark out.