GM Service Manual Online
For 1990-2009 cars only
Makes
🢒
Chevrolet
🢒
2008
🢒
Chevy Suburban - 4WD
🢒
Diagnostic Navigation
🢒
Vehicle Diagnostic Information
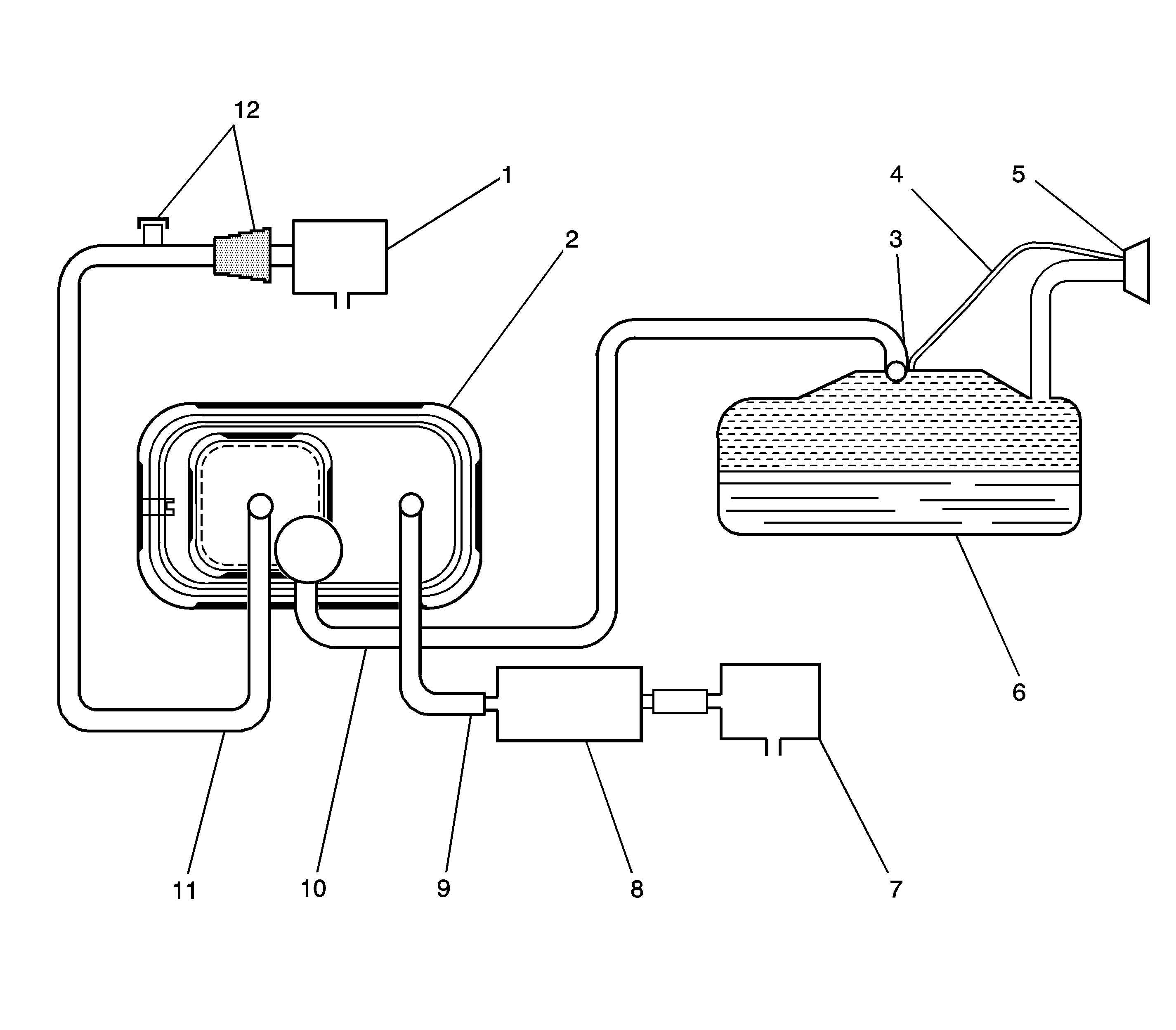
🢒 Evaporative Emissions Hose Routing Diagram
(1)
EVAP Canister Purge Solenoid Valve
(2)
EVAP Canister
(3)
Fluid Level Vent Valve
(4)
Vapor Recirculation tube
(5)
Fuel Fill Neck and Fill Cap
(6)
Fuel Tank
(7)
EVAP Canister Vent Valve
(8)
Auxiliary EVAP Canister
(9)
Vent Hose/Pipe
(10)
EVAP Vapor tube
(11)
EVAP Purge tube
(12)
EVAP Service Port or Service Access Connector