GM Service Manual Online
For 1990-2009 cars only

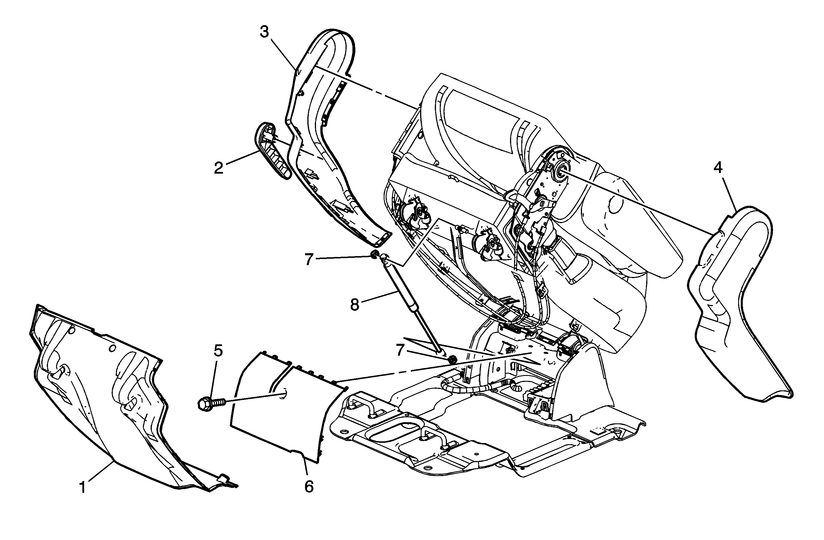
Object Number: 1684827  Size: MF

Callout

Component Name

1

Rear Seat Cushion Trim Panel

Refer to Rear Seat Cushion Trim Panel Replacement .

2

Rear Seat Recliner Handle

Refer to Rear Seat Recliner Handle Replacement .

3

Rear Seat Recliner Outer Finish Cover

Refer to Rear Seat Cushion Outer Trim Panel Replacement .

4

Rear Seat Recliner Inner Finish Cover

Refer to Rear Seat Cushion Inner Panel Replacement .

5

Rear Seat Riser Finish Cover

Tip
Tilt the seat assembly up and forward to gain access to remove the screw.

6

Rear Seat Riser Finish Cover

7

Rear Seat Strut Retainer Clip (Qty: 2)

8

Rear Seat Strut Assembly