GM Service Manual Online
For 1990-2009 cars only

Assist Step Replacement Z71


Object Number: 1805438  Size: MF

Callout

Component Name

1

Assist Step Bolt (Qty: 9)

Notice: Refer to Fastener Notice in the Preface section.

Tighten
23 N·m (17 lb ft)

Tip

  1. Suburban shown, other models similar.
  2. Assemble the assist step completely before installing to the vehicle.
  3. Torque bolts in the sequence shown.

2

Assist Step Assembly

Assist Step Replacement Power


Object Number: 1813944  Size: MF

Callout

Component Name

Preliminary Procedures

  1. Deploy the power assist step.
  2. Mark the location of the front T-slotted bracket and measure to the front of the assist step with a grease pencil and tape measure.
  3. Transfer the measurement to the new assist step with the grease pencil and tape measure.
  4. Mark the location of the rear T-slotted bracket and measure to the rear of the assist step with a grease pencil and tape measure.
  5. Transfer the measurement to the new assist step with the grease pencil and tape measure.

1

Power Assist Step Bolt (Qty: 4)

Notice: Refer to Fastener Notice in the Preface section.

Tighten
12 N·m (106 lb in)

2

Power Assist Step

Important: It is essential to make the measurements in the preliminary procedures or the power assist steps may not be aligned to the body properly.

Tip
Transfer any parts as needed.

Assist Step Replacement Chevrolet HP2


Object Number: 1967886  Size: MF

Callout

Component Name

Preliminary Procedure

Raise and support the vehicle. Refer to Lifting and Jacking the Vehicle .

1

Assist Step Extension

2

Assist Step Extension Bolt

Tighten
18 N·m (13 lb ft)

3

Assist Step Assembly

4

Assist Step Assembly Bracket Bolt (Qty: 8)

Notice: Refer to Fastener Notice in the Preface section.

Tighten
18 N·m (13 lb ft)

Tip
Secure the forward and rearward bolts first after the assist step has been installed.

5

Assist Step Bracket Body Bolt (Qty: 4)

Tighten
18 N·m (13 lb ft)

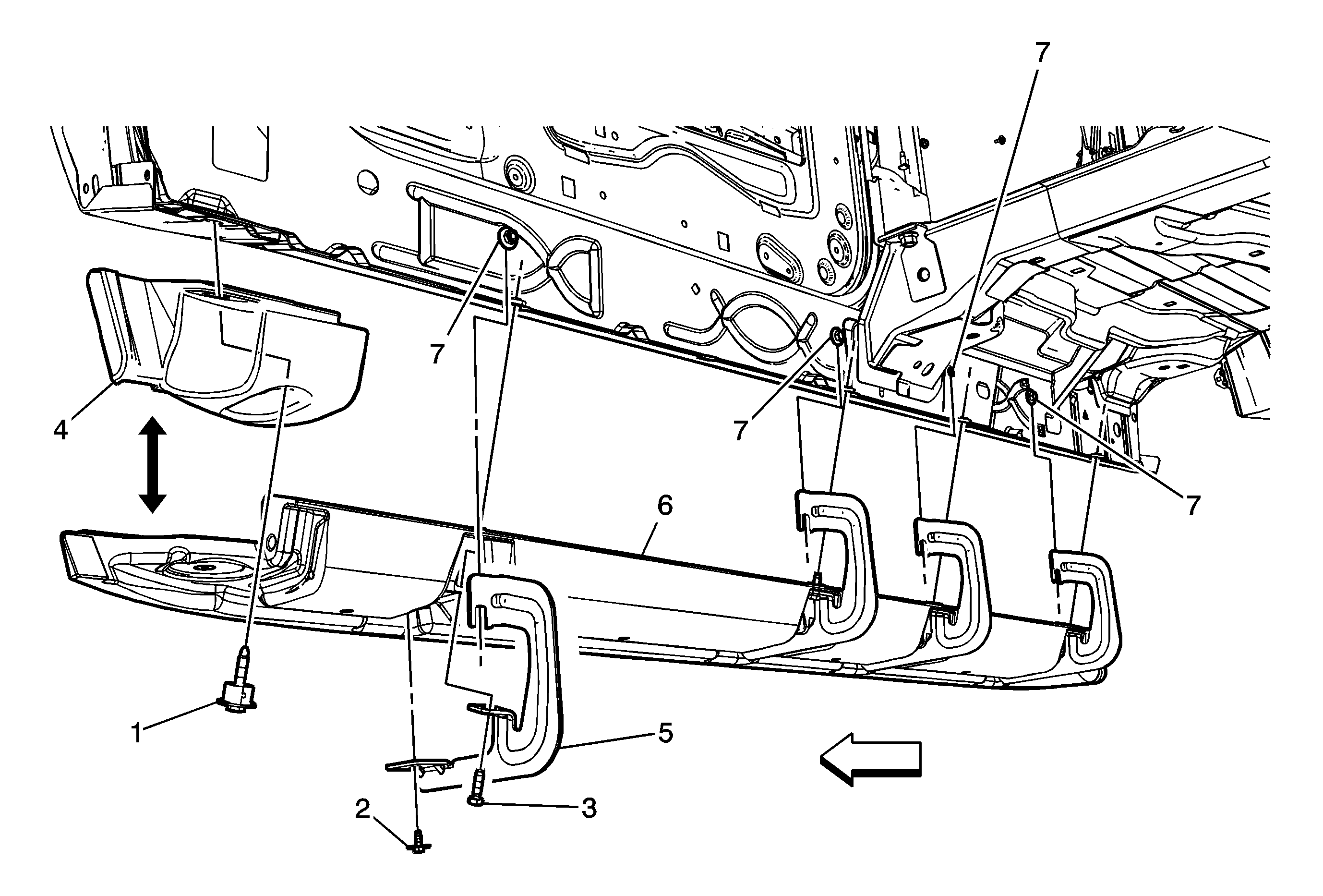
Assist Step Replacement GMC Denali XL


Object Number: 2067145  Size: MF

Callout

Component Name

1

Assist Step Front (RH) Extension Bolt with Compression Limiter

Notice: Refer to Fastener Notice in the Preface section.

Tighten
6 N·m (53 lb in)

2

Assist Step Support Bolt (Qty: 4)

Tighten
6 N·m (53 lb in)

3

Assist Step Support Bracket Bolt (Qty: 4)

Tighten
6 N·m (53 lb in)

4

Assist Step Front (RH) Extension

5

Assist Step Bracket (Qty: 4)

Tip
Assemble all of the brackets to the assist step prior to hanging the assist step brackets to the lower rocker panel studs.

6

Assist (RH) Step

Tip
Right hand assist step shown, left hand side similar.

7

Rocker Panel Stud Nut (Qty: 4)

Tighten
6 N·m (53 lb in)