GM Service Manual Online
For 1990-2009 cars only
Table 1: 1-3 Piston Removal
Table 2: 1-3 Piston Installation
Table 3: 1-3 Clutch Plate Installation

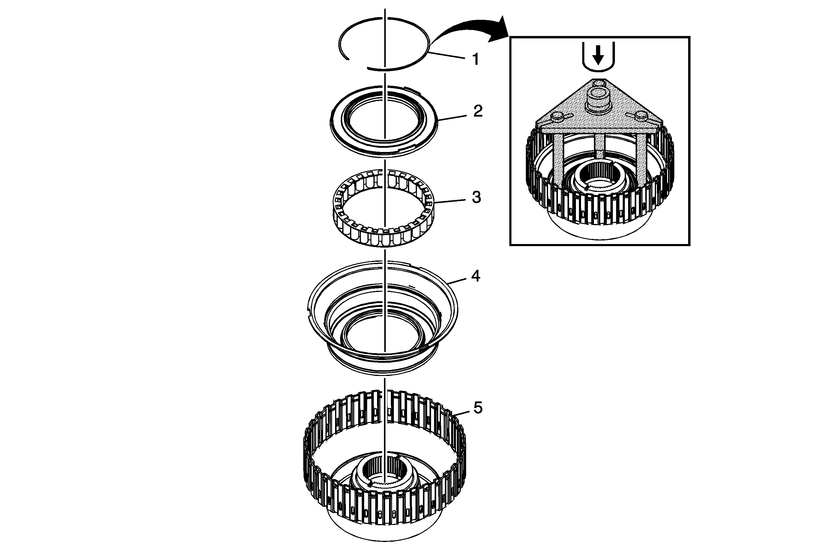
Object Number: 1867806  Size: MF

Callout

Component Name

1

1-3 Clutch Retaining Ring

Tip
Do not reuse the retaining ring.

2

1-3 Clutch Backing Plate

3

1-3 Clutch Plate Assembly

4

1-3 Clutch Plate

5

1-3 Clutch Plate - Waved

1-3 Piston Removal


Object Number: 1867807  Size: MF

1-3 Piston Removal

Callout

Component Name

1

1-3 Clutch Piston Retaining Ring

Tip
Discard retaining ring. It is not reusable.

Special Tool

DT 47867 Adjustable Clutch Spring Compressor

2

1-3 Clutch Piston Dam

3

1-3 Clutch Retaining Spring

4

1-3 Clutch Piston

5

1-3 Clutch Housing Assembly

1-3 Piston Installation


Object Number: 1867807  Size: MF

1-3 Piston Installation

Callout

Component Name

1

1-3 Clutch Housing Assembly

2

1-3 Clutch Piston

Special Tool

DT-47821 Seal Protector

3

1-3 Clutch Retaining Spring

4

1-3 Clutch Piston Dam

Special Tool

DT-47820 Seal Protector

5

1-3 Clutch Piston Retaining Ring

Tip
Use a NEW retaining ring. The old retaining ring is not reusable.

Special Tool

DT 47867 Adjustable Clutch Spring Compressor

1-3 Clutch Plate Installation


Object Number: 1867808  Size: MF

1-3 Clutch Plate Installation

Callout

Component Name

1

1-3 Clutch Plate - Waved

2

1-3 Clutch Plate

Tip
Alternate between steel and fiber clutch plates.

3

1-3 Clutch Plate Assembly

Tip
Alternate between steel and fiber clutch plates.

4

1-3 Clutch Backing Plate

Tip
Make sure to install with lip facing up. See orientation.

5

1-3 Clutch Retaining Ring

Tip
Do not reuse the retaining ring.