GM Service Manual Online
For 1990-2009 cars only
Table 1: Manual Shaft Detent Assembly Removal
Table 2: Control Solenoid Valve and Valve Body Assembly Disassemble
Table 3: Valve Assembly and Transfer Plate Disassemble
Table 4: Valve Assembly Overhaul

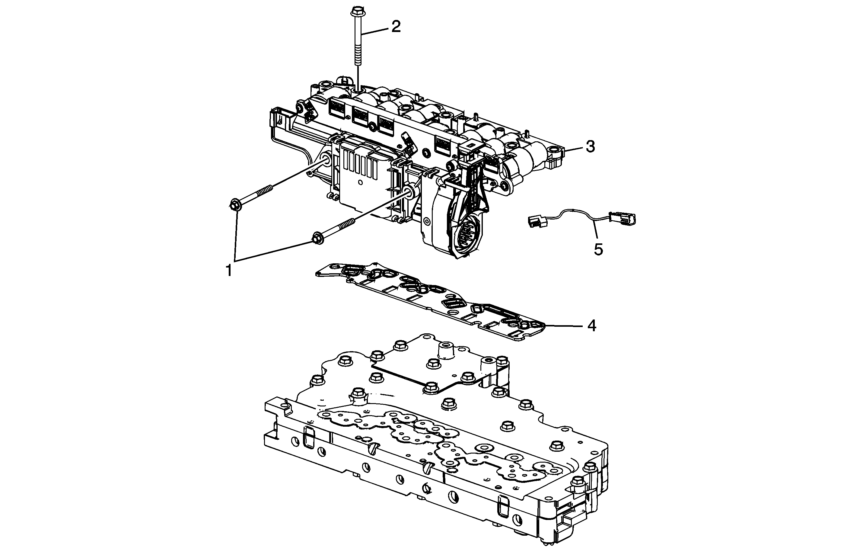
Manual Shaft Detent Assembly Removal


Object Number: 1867832  Size: MF

Manual Shaft Detent Assembly Removal

Callout

Component Name

1

Manual Shift Detent Spring Bolt

2

Manual Shift Detent Assembly

3

Control Valve Channel Plate Bolt M6 x 1.0 x 35 (Qty: 2)

4

A/Trans Manual Shift Shaft Position Switch Assembly Bracket

Control Solenoid Valve and Valve Body Assembly Disassemble


Object Number: 1867834  Size: MF

Control Solenoid Valve and Valve Body Assembly Disassemble

Callout

Component Name

1

Control Solenoid Valve Heat Sink (w/Body and TCM) Bolt M5 x .8 x 53 (Qty: 2)

2

Control Valve Lower Body Bolt M6 x 1.0 x 55 (Qty: 9)

3

Control Solenoid (w/Body and TCM) Valve Assembly

4

Control Valve Channel Plate Spacer Plate Gasket

Caution: Use care when handling the control valve body assembly. If dropped, damage to the control solenoid valve body assembly internal components, including the transmission control module (TCM), may result.

Caution: Discard the filter plate. Replace with a NEW filter plate. Reusing an old filter plate may cause damage to the control solenoid valve assembly.

5

A/Trans Wiring Harness Assembly

Valve Assembly and Transfer Plate Disassemble


Object Number: 1867835  Size: MF

Valve Assembly and Transfer Plate Disassemble

Callout

Component Name

1

Control Valve Channel Plate Bolt M6 x1.0 x 35 (Qty: 3)

2

Control Valve Channel Plate Bolt M6 x 1.0 x 35.0 (Qty: 17)

3

Control Valve Channel Plate

Tip
Separate the upper and lower valve bodies by carefully prying at the point indicated.

4

Control Valve Body Spacer (w/Gasket) Plate Assembly

Caution: Do not use the old spacer plate. Install a NEW spacer plate. Reusing an old spacer plate may cause internal transmission leaks and transmission damage.

5

A/Trans Fluid Pump Ball Check Valve

Tip

    • Remove only 1 ball check valve.
    • There are 2 incapsilated ball check valves. Do not remove.
    • Note the position of the ball check valves.

6

Control Valve Upper Body Assembly

Valve Assembly Overhaul


Object Number: 1867836  Size: MF

Valve Assembly Overhaul

Callout

Component Name

Warning: Valve springs can be tightly compressed. Use care when removing retainers and plugs. Personal injury could result.

Preliminary Procedures

  1. Clean and inspect all valve components and the valve body. The control valve lower body is replaceable only as an assembly.
  2. Clean and inspect the 2 incapsilated ball check valves but do not remove.

1

Auxiliary Line Boost Valve Train

2

1-3 Clutch Regulator Valve Train

3

Hybrid Direct, 2-3-4 Clutch Regulator Valve Train

4

Shift Solenoid Valve Train - Mode A

5

Shift Solenoid Valve Train - Mode B

6

Actuator Feed Limit Valve Train

7

Hybrid Low, 1-2 Clutch Regulator Valve

8

Hybrid Low, 1-2 Clutch Boost Valve Train

9

Clutch Piston Exhaust Blowoff Ball Valve Train