| Figure 1: |
Rear Lighting (Z75 without E52)
|
| Figure 2: |
Rear Lighting (X88 without E52)
|
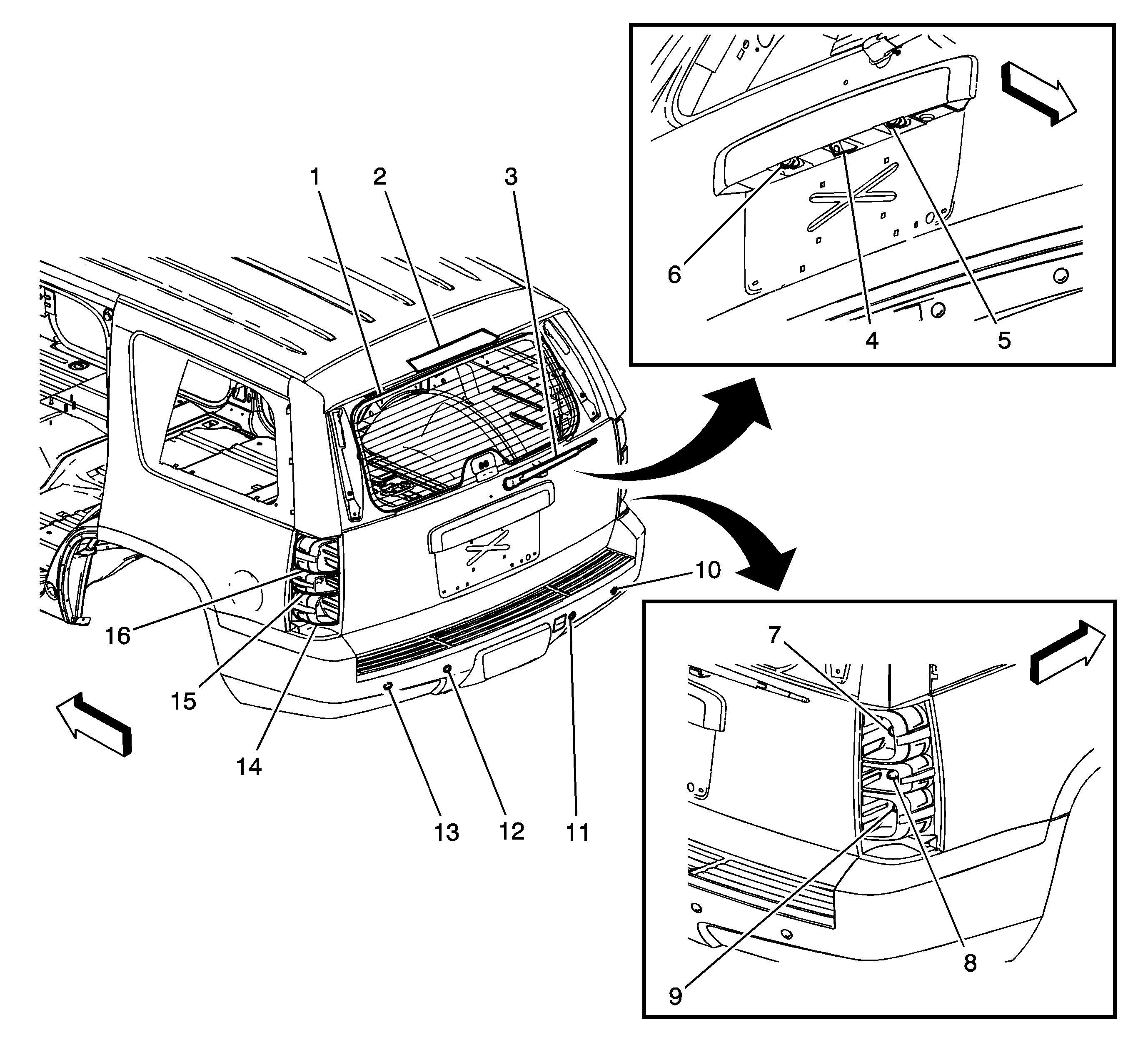
| Figure 3: |
Rear of Vehicle Components (X88 or Z88 with E52 or TB7)
|
| Figure 4: |
Rear Lighting (Z75 with E52)
|
| Figure 5: |
Liftgate Components (E52)
|
| Figure 6: |
Rear Cargo Area (-E52)
|
| Figure 7: |
Rear Window Antenna Module (U84)
|
| Figure 8: |
Auxiliary HVAC Components (Short Wheel Base with C69)
|
| Figure 9: |
Auxiliary HVAC Components (Long Wheel Base with C69)
|
| Figure 10: |
Left Rear Cargo Area (HP2)
|
| Figure 11: |
Left Rear of the Cargo Area Components (E52)
|
| Figure 12: |
Right Rear of the Cargo Area Components (E52)
|