Callout | Component Name |
|---|---|
Preliminary Procedure
| |
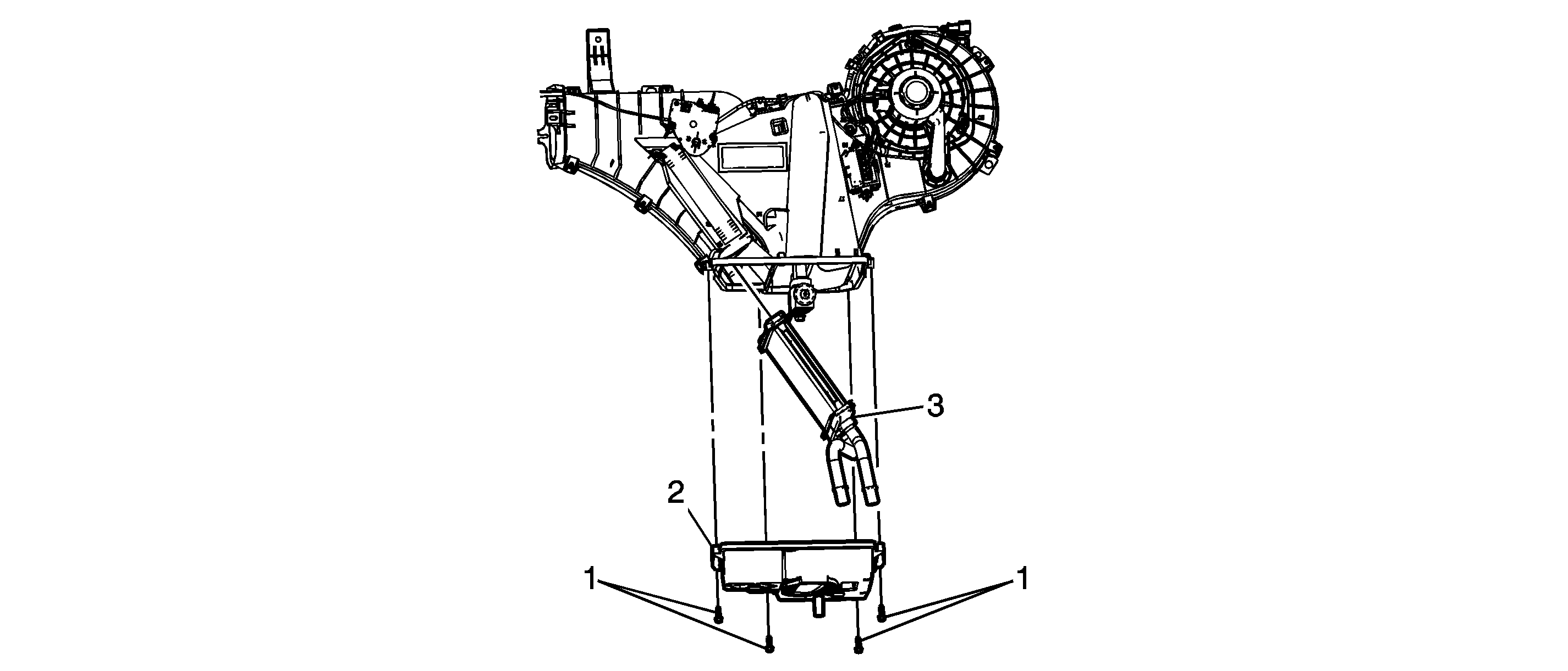
1 | Auxiliary HVAC Module Lower Cover Bolt (Qty: 4) Caution: Refer to Fastener Caution in the Preface section. Tip Tighten |
2 | Auxiliary HVAC Module Lower Cover |
3 | Auxiliary HVAC Heater Core Tip |
Callout | Component Name |
|---|---|
Preliminary Procedure
| |
1 | HVAC Module Gasket |
2 | Auxiliary HVAC Module Lower Cover Bolt (Qty: 3) Caution: Refer to Fastener Caution in the Preface section. Tip Tighten |
3 | Auxiliary HVAC Module Lower Cover |
4 | Separate the HVAC Module Case Tip Tighten |
5 | Auxiliary HVAC Heater Core Tip |