GM Service Manual Online
For 1990-2009 cars only
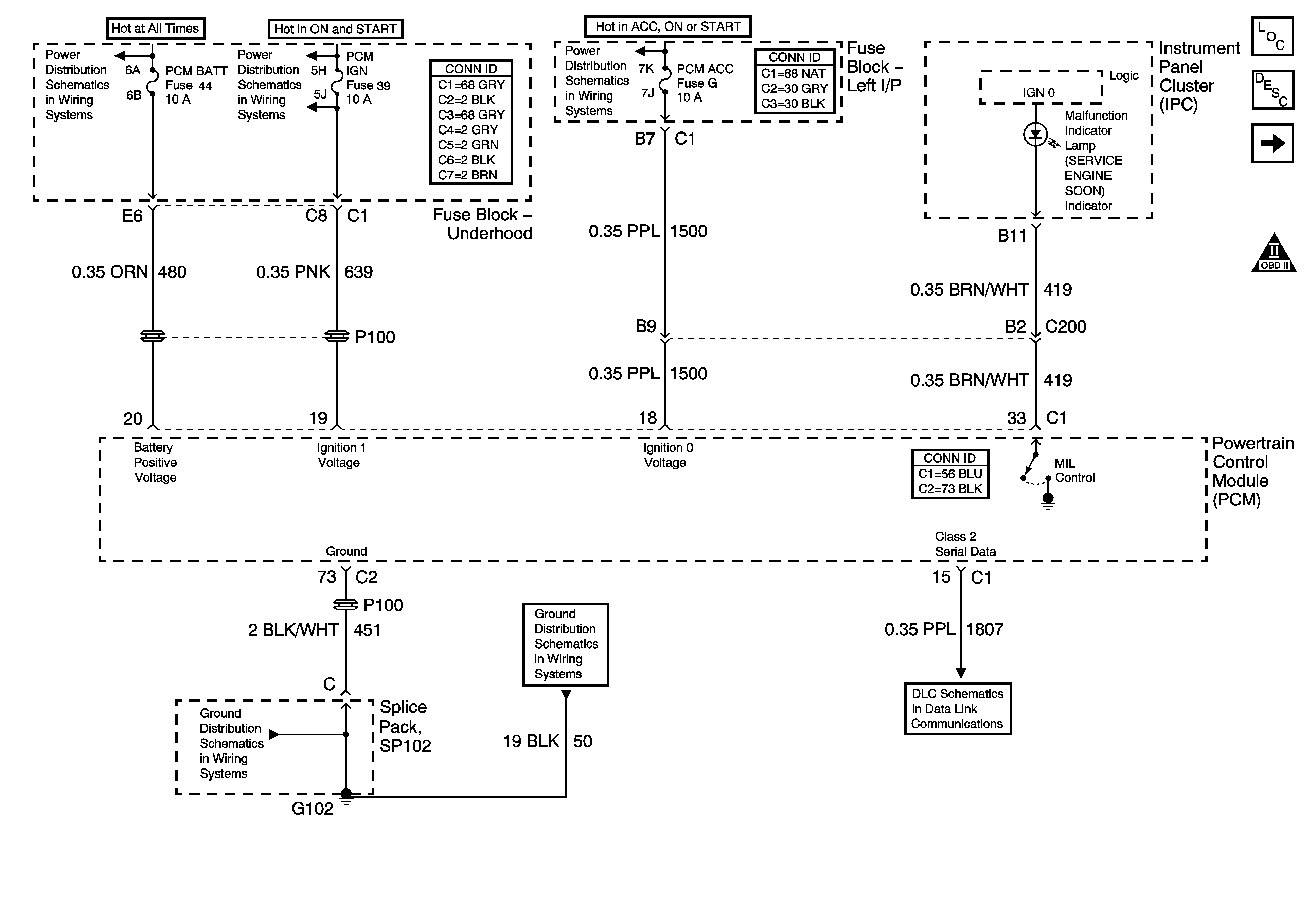
Figure 1:

Power, Ground, Serial Data and MIL


Object Number: 1199932  Size: FS
Master Electrical Component List
Powertrain Control Module Description
5 Volt and Low Reference Bussing
OBD II Symbol Description Notice
AUX PWR/CIGAR, PRK LPS, and PCM BATT Fuses
IGN MOD, B/U LMP, PCM IGN, A/C BFC, AUTO TRANS, and ABS IGN Fuses
IGN SW BATT 1, IGN SW BATT2, Ignition Switch
SP102
SP102
Ddata Link Communication
Figure 2:

5-Volt and Low Reference Bussing


Object Number: 1199972  Size: FS
Master Electrical Component List
Powertrain Control Module Description
Engine Data Sensors - Pressure and Temperature
Power, Ground, and MIL
OBD II Symbol Description Notice
Figure 3:

Engine Data Sensors - Pressure and Temperature


Object Number: 1199974  Size: FS
Master Electrical Component List
Powertrain Control Module Description
Oxygen Sensors
5 Volt and Low Reference Bussing
OBD II Symbol Description Notice
Indicators and Serial Data
Power and Communications
Figure 4:

Engine Data Sensors - Heated Oxygen Sensors


Object Number: 1199976  Size: FS
Master Electrical Component List
Powertrain Control Module Description
Ignition System
Engine Data Sensors - Pressure and Temperature
OBD II Symbol Description Notice
IGN MOD, B/U LMP, PCM IGN, A/C BFC, AUTO TRANS, and ABS IGN Fuses
HTR A/C IGN and ERLS Fuses
Shift Solenoids
Figure 5:

Ignition System


Object Number: 1199977  Size: FS
Master Electrical Component List
Powertrain Control Module Description
Fuel Pump Controls
Oxygen Sensors
OBD II Symbol Description Notice
IGN MOD, B/U LMP, PCM IGN, A/C BFC, AUTO TRANS, and ABS IGN Fuses
Engine Controls Schematic Icons
Engine Controls Schematic Icons
SP103
SP103
Figure 6:

Fuel Pump Controls


Object Number: 1199978  Size: FS
Master Electrical Component List
Fuel System Description
Fuel Injectors
Ignition System
OBD II Symbol Description Notice
IGN MOD, B/U LMP, PCM IGN, A/C BFC, AUTO TRANS, and ABS IGN Fuses
SP103
SP302
SP103
SP103
Figure 7:

Fuel Injectors


Object Number: 1199979  Size: FS
Master Electrical Component List
Fuel System Description
Evap and IAC Controls
Fuel Pump Controls
OBD II Symbol Description Notice
IGN MOD, B/U LMP, PCM IGN, A/C BFC, AUTO TRANS, and ABS IGN Fuses
Figure 8:

EVAP and IAC Controls


Object Number: 1199980  Size: FS
Master Electrical Component List
Evaporative Emission Control System Description
Controlled/Monitored Subsystem References
Fuel Injectors
OBD II Symbol Description Notice
HTR A/C IGN and ERLS Fuses
Figure 9:

Controlled/Monitored Subsystem References


Object Number: 1199982  Size: FS
Master Electrical Component List
Powertrain Control Module Description
Transmission Controls
Evap and IAC Controls
OBD II Symbol Description Notice
A/C Compressor Controls
Brake Switch and Inhibit Signals
Power and Communications
Indicators and Serial Data
Charging System
Shift Solenoids
Cooling Fans
Figure 10:

Transmission References


Object Number: 1199984  Size: FS
Master Electrical Component List
Powertrain Control Module Description
Controlled/Monitored Subsystem References
OBD II Symbol Description Notice
Shift Solenoids
Transmission Switches
Transmission Switches
Park Neutral Position (PNP) Switch