| Table 1: | Powertrain Control Module (PCM), C1 |
| Table 2: | Powertrain Control Module (PCM), C2 |
| |||||||
|---|---|---|---|---|---|---|---|
Connector Part Information |
| ||||||
Pin | Wire Color | Circuit No. | Function | ||||
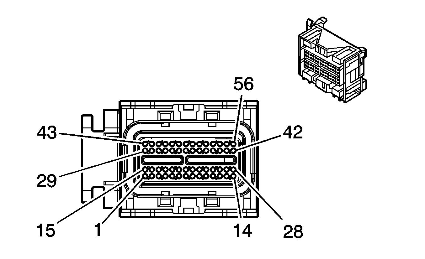
1-3 | -- | -- | Not Used | ||||
4 | PPL | 420 | TCC Brake Switch/Cruise Control Release Signal | ||||
5-6 | -- | -- | Not Used | ||||
7 | BLK | 2760 | Low Reference | ||||
8-10 | -- | -- | Not Used | ||||
11 | BLK | 2759 | Low Reference | ||||
12-14 | -- | -- | Not Used | ||||
15 | PPL | 1807 | Class 2 Serial Data | ||||
16-17 | -- | -- | Not Used | ||||
18 | PPL | 1500 | Ignition 0 Voltage | ||||
19 | PNK | 639 | Ignition 1 Voltage | ||||
20 | ORN | 480 | Battery Positive Voltage | ||||
21 | TAN | 472 | IAT Sensor Signal | ||||
22 | PPL | 1589 | Fuel Level Sensor Signal | ||||
23 | GRY | 2700 | 5-Volt Reference | ||||
24 | -- | -- | Not Used | ||||
25 | GRY | 2709 | 5-Volt Reference | ||||
26-29 | -- | -- | Not Used | ||||
30 | DK BLU | 473 | High Speed Cooling Fan Relay Control | ||||
31 | -- | -- | Not Used | ||||
32 | WHT | 121 | Cruise Control Inhibit Signal | ||||
33 | BRN/WHT | 419 | MIL Control | ||||
34 | DK GRN/WHT | 817 | Vehicle Speed Signal | ||||
35-36 | -- | -- | Not Used | ||||
37 | RED/BLK | 380 | A/C Refrigerant Pressure Sensor Signal | ||||
38 | -- | -- | Not Used | ||||
39 | DK GRN | 890 | Fuel Tank Pressure Sensor Signal | ||||
40-42 | -- | -- | Not Used | ||||
43 | DK GRN | 335 | Low Speed Cooling Fan Relay Control | ||||
44 | -- | -- | Not Used | ||||
45 | WHT | 1310 | EVAP Canister Vent Solenoid Control | ||||
46 | DK GRN/WHT | 465 | Fuel Pump Relay Control | ||||
47 | DK GRN/ WHT | 459 | A/C Compressor Clutch Relay Control | ||||
48 | -- | -- | Not Used | ||||
49 | DK GRN | 83 | Cruise Control Inhibit Signal | ||||
50 | -- | -- | Not Used | ||||
51 | BLK | 2751 | Low Reference | ||||
52-56 | -- | -- | Not Used | ||||
| |||||||
|---|---|---|---|---|---|---|---|
Connector Part Information |
| ||||||
Pin | Wire Color | Circuit No. | Function | ||||
1 | LT BLU/BLK | 1748 | IAC Coil A Low Control | ||||
2 | LT BLU/WHT | 1747 | IAC Coil A High Control | ||||
3-4 | -- | -- | Not Used | ||||
5 | DK GRN/WHT | 428 | EVAP Canister Purge Solenoid Control | ||||
6 | RED/BLK | 1228 | PC Solenoid Valve High Control (Sol. A) | ||||
7 | LT BLU/WHT | 1229 | PC Solenoid Valve Low Control (Sol. A) | ||||
8-9 | -- | -- | Not Used | ||||
10 | LT GRN | 1222 | 1-2 Shift Solenoid Valve Control | ||||
11 | YEL/BLK | 1223 | 2-3 Shift Solenoid Valve Control | ||||
12 | BRN | 418 | TCC PWM Solenoid Valve Control | ||||
13 | PPL/WHT | 1668 | HO2S High Signal (Bank 1 Sensor 2) | ||||
14 | TAN/WHT | 1669 | HO2S Low Signal (Bank 1 Sensor 2) | ||||
15 | TAN | 1667 | HO2S Low Signal (Bank 2 Sensor 1) | ||||
16 | PPL | 1666 | HO2S High Signal (Bank 2 Sensor 1) | ||||
17 | LT GRN/WHT | 1749 | IAC Coil B High Control | ||||
18 | LT GRN/BLK | 444 | IAC Coil B Low Control | ||||
19 | WHT | 423 | IC Timing Control | ||||
20 | ORN | 406 | IC Timing Control B | ||||
21-25 | -- | -- | Not Used | ||||
26 | BRN/WHT | 633 | CMP Sensor Signal | ||||
27 | YEL | 573 | CKP Sensor 1 Signal | ||||
28 | PPL | 574 | Low Reference | ||||
29 | LT GRN | 432 | MAP Sensor Signal | ||||
30 | -- | -- | Not Used | ||||
31 | DK BLU | 417 | TP Sensor Signal | ||||
32-33 | -- | -- | Not Used | ||||
34 | WHT | 776 | Transmission Range Switch Signal P | ||||
35 | GRY | 773 | Transmission Range Switch Signal C | ||||
36 | YEL | 772 | Transmission Range Switch Signal B | ||||
37 | BLK/WHT | 771 | Transmission Range Switch Signal A | ||||
38 | -- | -- | Not Used | ||||
39 | BLK/WHT | 2761 | Low Reference | ||||
40 | WHT/BLK | 2762 | Low Reference | ||||
41 | DK BLU/WHT | 1231 | AT ISS Low Signal | ||||
42 | PPL | 401 | Signal Low - Front | ||||
43 | -- | -- | Not Used | ||||
44 | GRY | 1716 | Low Reference | ||||
45 | ORN/BLK | 469 | Low Reference | ||||
46 | -- | -- | Not Used | ||||
47 | BLK | 2752 | Low Reference | ||||
48 | -- | -- | Not Used | ||||
49 | GRY | 23 | Generator Field Duty Cycle Signal | ||||
50 | RED | 225 | Generator Turn On Signal | ||||
51 | BLK | 1744 | Fuel Injector 1 Control | ||||
52 | LT GRN/BLK | 1745 | Fuel Injector 2 Control | ||||
53 | LT BLU/BLK | 396 | Cruise Control Engaged Signal | ||||
54 | TAN/BLK | 231 | Oil Pressure Switch Signal | ||||
55 | -- | -- | Not Used | ||||
56 | DK BLU | 1225 | Transmission Fluid Pressure Switch Signal B | ||||
57 | RED | 1226 | Transmission Fluid Pressure Switch Signal C | ||||
58 | YEL | 657 | TCC Release Switch Signal | ||||
59 | YEL | 410 | ECT Sensor Signal | ||||
60 | YEL/BLK | 1227 | TFT Sensor Signal | ||||
61 | RED/BLK | 1230 | AT ISS High Signal | ||||
62 | YEL | 400 | Signal - High Front | ||||
63 | -- | -- | Not Used | ||||
64 | DK BLU | 496 | Knock Sensor Signal | ||||
65 | BRN | 2704 | 5-Volt Reference | ||||
66 | -- | -- | Not Used | ||||
67 | GRY/BLK | 2701 | 5-Volt Reference | ||||
68 | -- | -- | Not Used | ||||
69 | DK GRN | 676 | HO2S Heater High Control (Bank 1 Sensor 1) | ||||
70 | BLK/WHT | 1423 | HO2S Heater Low Control (Bank 1 Sensor 2) | ||||
71 | LT BLU/BLK | 844 | Fuel Injector 4 Control | ||||
72 | PNK/BLK | 1746 | Fuel Injector 3 Control | ||||
73 | BLK/WHT | 451 | Ground | ||||